E
EPC Data

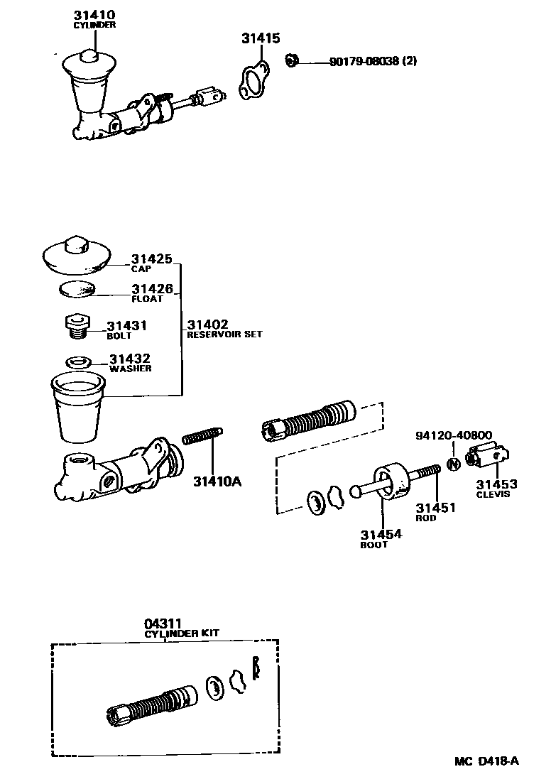
CLUTCH MASTER CYLINDER

Parts diagram
04311CYLINDER KIT, CLUTCH MASTER
main04311-32020i198508-198704
main04311-32022i198704-198708
31402RESERVOIR SUB-ASSY, CLUTCH MASTER CYLINDER
main31402-30030i198508-198708
31410CYLINDER ASSY, CLUTCH MASTER
main31410-20290i198508-198704
main31410-20291i198704-198708
31410ABOLT(FOR CLUTCH MASTER CYLINDER SETTING)
main90116-08146i198508-198708
31415GASKET, CLUTCH MASTER CYLINDER
main31415-10010i198508-198708
31425CAP, CLUTCH MASTER CYLINDER RESERVOIR FILLER
main47230-20040i198508-198708
31426FLOAT, CLUTCH MASTER CYLINDER RESERVOIR
main31426-30011i198508-198708
31431BOLT, CLUTCH MASTER CYLINDER RESERVOIR SET
main47231-30010i198508-198708
31432WASHER, CLUTCH RESERVOIR SET BOLT
main47232-30010i198508-198708
31451ROD, CLUTCH MASTER CYLINDER PUSH
main31451-32010i198508-198708
31453CLEVIS, CLUTCH MASTER CYLINDER PUSH ROD
main31453-22010i198508-198610
main31453-35010i198610-198708
31454BOOT, CLUTCH MASTER CYLINDER
main31454-14010i198508-198708
9017908038
9412040800

14 parts on this diagram · 1 diagram in section

CLUTCH MASTER CYLINDER — Toyota Parts Diagram with OEM Numbers & Prices | EPC Data