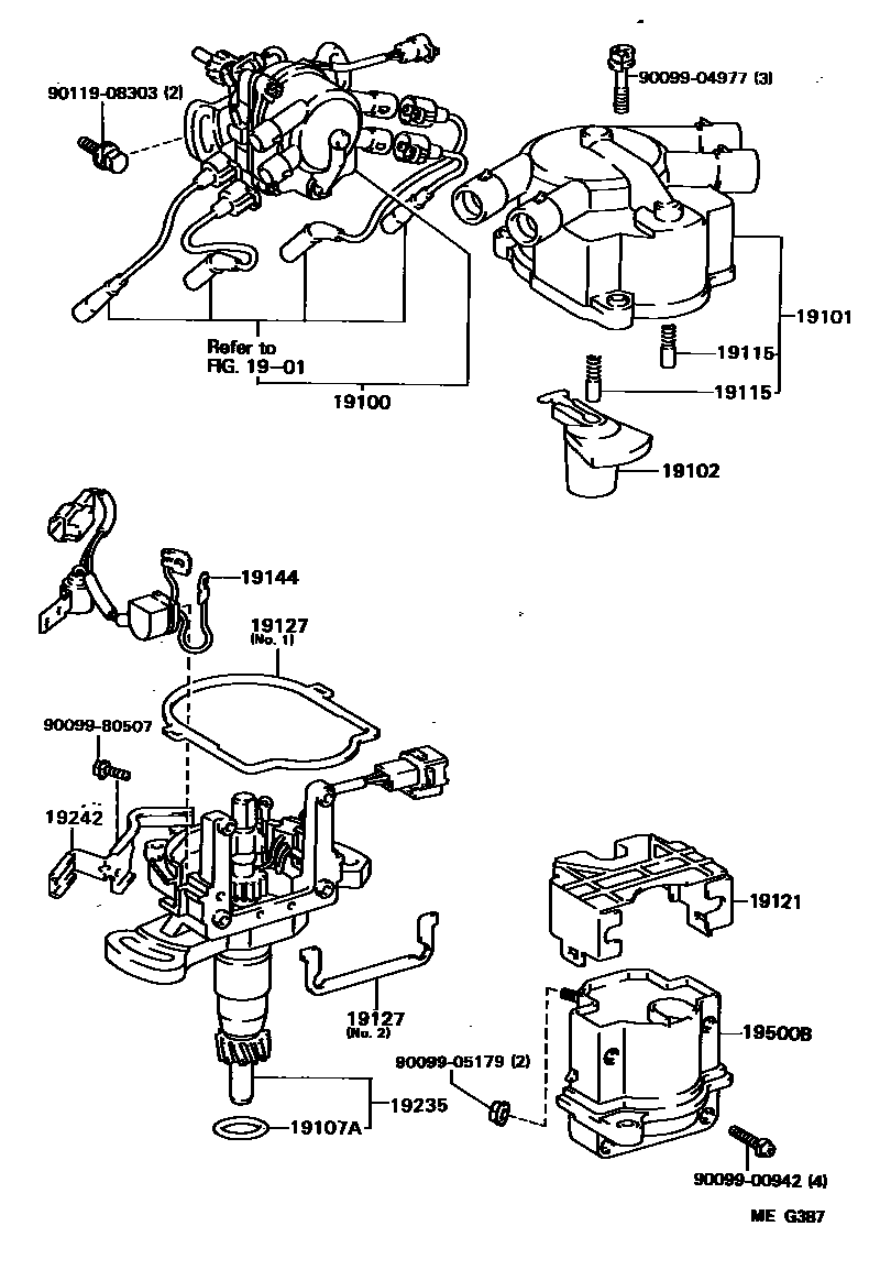
DISTRIBUTOR

1901
19107ARING, O, DISTRIBUTOR HOUSING
sub90099-14090
19115PIECE, DISTRIBUTOR CAP, CENTER
19121COVER, DUST PROOF
19127PACKING, DUST PROOF
NO.1
NO.2
19235HOUSING, DISTRIBUTOR
19242CLAMP, CORD
NO.1
NO.2
19500BCOIL ASSY, IGNITION
9009900942
main90099-00942
9009904977
main90099-04977
9009905179
main90099-05179
9009980507
main90099-80507
9011908303
main90119-08303
17 parts on this diagram · 3 diagrams in section