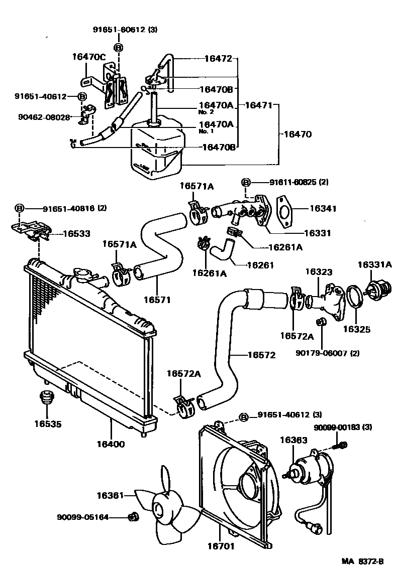
RADIATOR & WATER OUTLET

16261HOSE, WATER BY-PASS
16261ACLAMP OR CLIP, HOSE(FOR WATER BY-PASS HOSE)
16323HOUSING, WATER INLET
16325GASKET, WATER INLET HOUSING, NO.1
16331OUTLET, WATER
16331ATHERMOSTAT
*WAX 82-95
16341GASKET, WATER OUTLET
16361FAN
16363MOTOR, COOLING FAN
16400RADIATOR ASSY
16470TANK ASSY, RADIATOR RESERVE
16470AHOSE OR PIPE(FOR RADIATOR RESERVE TANK)
L=1450(*H,L=140),NO.2
L=600(*H,L=530),NO.1
16470BCLAMP OR CLIP(FOR RADIATOR RESERVE TANK HOSE)
16470CBRACKET(FOR RADIATOR RESERVE TANK)
16471CAP SUB-ASSY, RESERVE TANK
16472HOSE, BREATHER
16533SUPPORT, RADIATOR, UPPER
16535SUPPORT, RADIATOR, LOWER
16571HOSE, RADIATOR, INLET
16571ACLAMP OR CLIP, HOSE(FOR RADIATOR INLET)
16572HOSE, RADIATOR, OUTLET
16572ACLAMP OR CLIP, HOSE(FOR RADIATOR OUTLET NO.1)
16701SHROUD SUB-ASSY, FAN
9009900183
main90099-00183
9009905164
main90099-05164
9017906007
main90179-06007
9046208028
main90462-08028
9161160825
main91611-60825
9165140612
main91651-40612
9165140816
main91651-40816
9165160612
main91651-60612
31 parts on this diagram · 4 diagrams in section