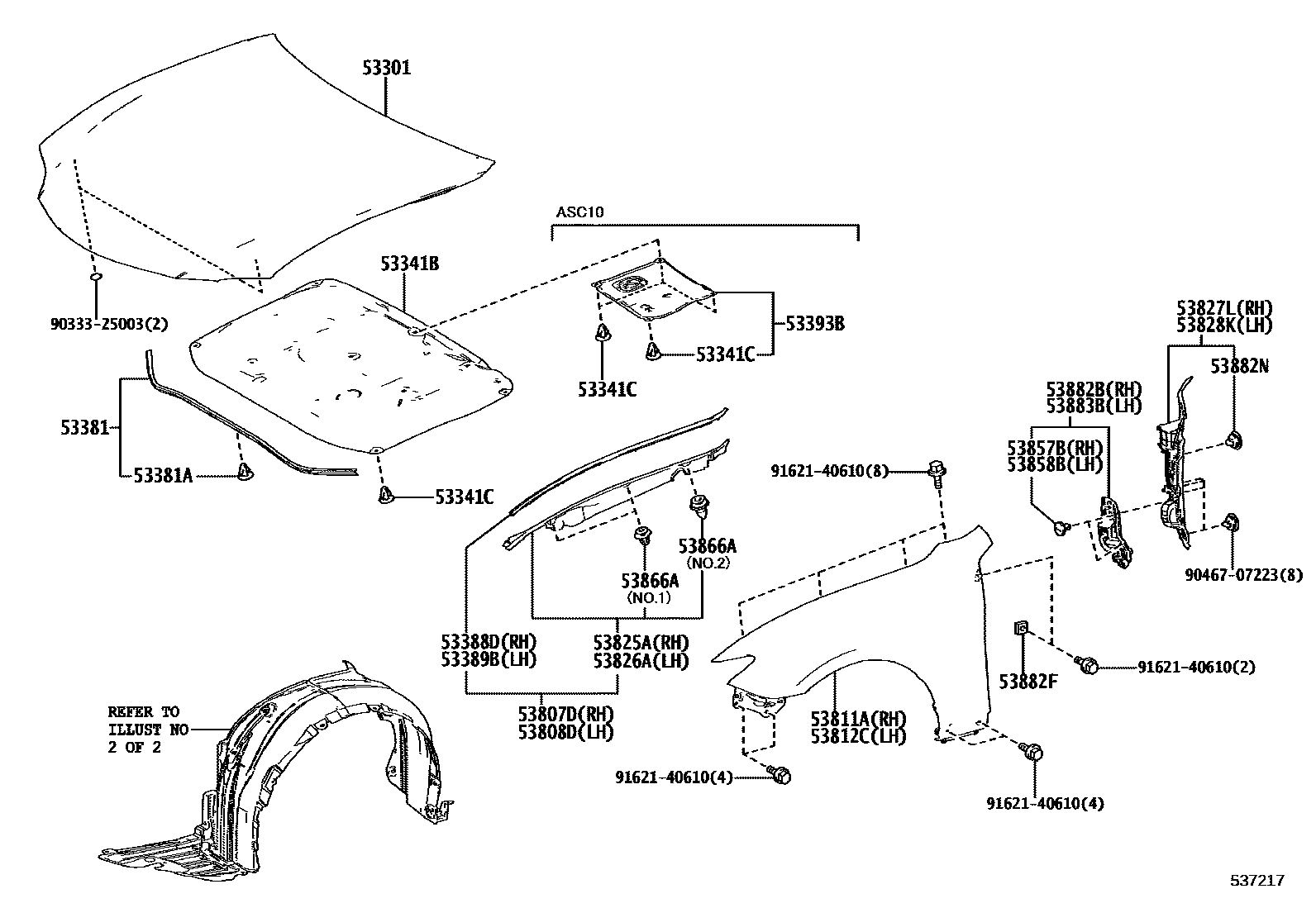
HOOD & FRONT FENDER

53341CCLIP(FOR HOOD INSULATOR)
53381ACLIP(FOR HOOD TO RADIATOR SUPPORT SEAL)
53388DSEAL, HOOD TO FRONT FENDER, RH
53389BSEAL, HOOD TO FRONT FENDER, LH
53393BPROTECTOR, HOOD, FRONT
53807DREINFORCEMENT SUB-ASSY, FRONT FENDER, TOP RH
53808DREINFORCEMENT SUB-ASSY, FRONT FENDER, TOP LH
53811APANEL, FRONT FENDER, RH
KOREA SPEC&"F SPORT"
KOREA SPEC&"VERSION L"
53812CPANEL, FRONT FENDER, LH
KOREA SPEC&"VERSION L"
KOREA SPEC&"F SPORT"
53825APROTECTOR, FRONT FENDER, UPPER RH
53826APROTECTOR, FRONT FENDER, UPPER LH
53827LPROTECTOR, FRONT FENDER SIDE PANEL, RH
53828KPROTECTOR, FRONT FENDER SIDE PANEL, LH
53857BRETAINER, FRONT WHEEL OPENING EXTENSION, RH
53858BRETAINER, FRONT WHEEL OPENING EXTENSION, LH
53866ACLIP(FOR FRONT FENDER TO COWL SIDE SEAL)
NO.1
NO.2
53882BSEAL, FRONT FENDER, RH
53882FSEAL, FRONT FENDER
53882NCLIP(FOR FRONT FENDER SEAL)
BLACK
53883BSEAL, FRONT FENDER, LH
9033325003
main90333-25003
9046707223
main90467-07223
9162140610
main91621-40610
26 parts on this diagram · 2 diagrams in section