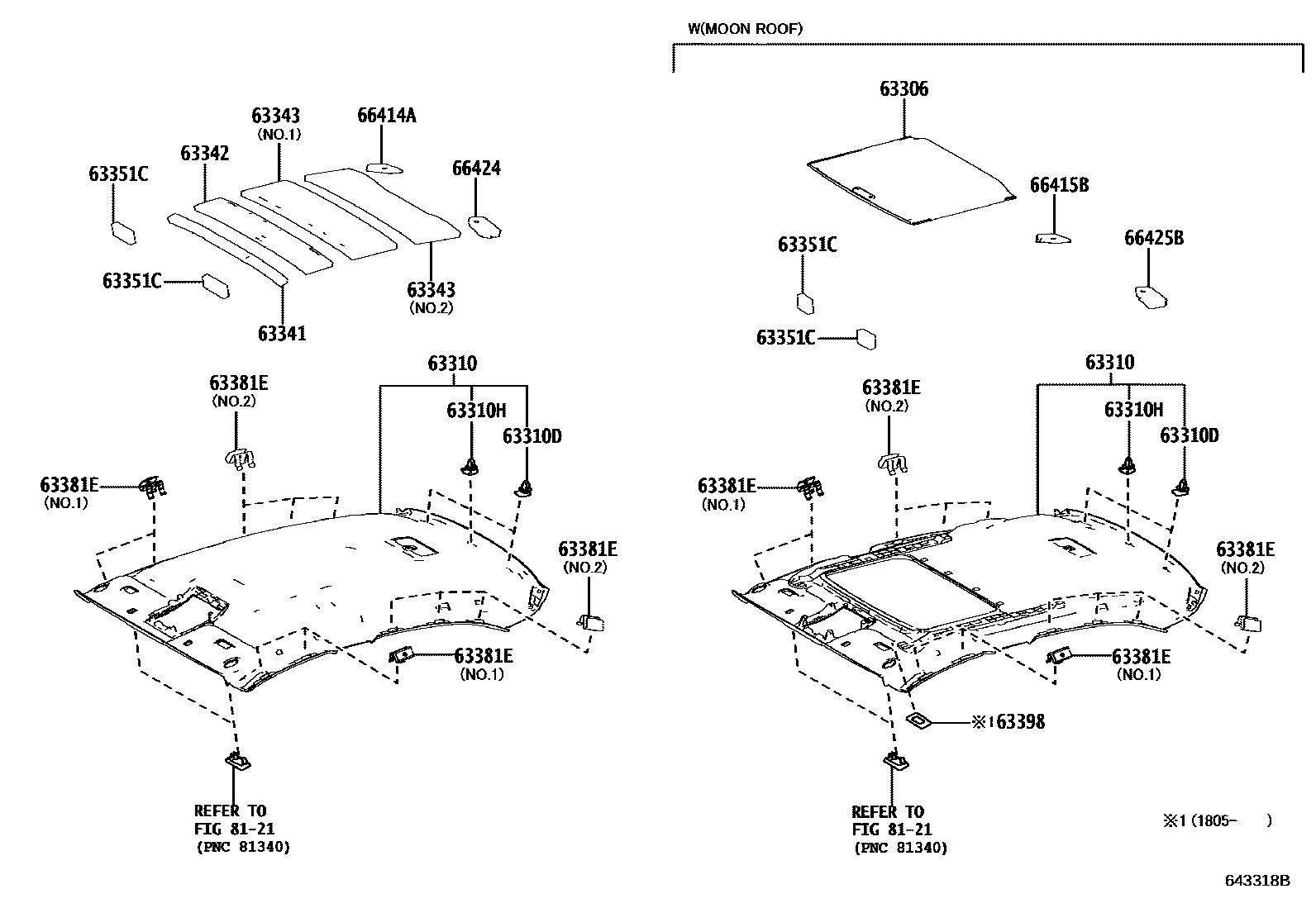
ROOF HEADLINING & SILENCER PAD

63306TRIM SUB-ASSY, SUNSHADE
IVORY,TRIM0#,5#; MOON ROOF-WITHOUT,IVORY,TRIM0#,5#
ECRU,TRIM01,02,03,11,12,13,5#; MOON ROOF-WITHOUT,ECRU,TRIM01,02,03,11,12,13,5#
LT.GRAY,TRIM10,11,14,20,21,24; MOON ROOF-WITHOUT,LT.GRAY,TRIM10,11,14,20,21,24
BLACK,TRIM04,05,14,15,2#,3#,8#,94,95; MOON ROOF-WITHOUT,BLACK,TRIM04,05,14,15,2#,3#,8#,94,95
MOON ROOF-WITH,BLACK,TRIM0#,2#,3#,4#,6#,7#; MOON ROOF-WITH,BLACK,TRIM0#,6#,7#
63310HEADLINING ASSY, ROOF
ECRU,TRIM01,03,11,13,5#; INTERMITTENT WIPER-WITH(AUTO),ECRU,TRIM01,02,03,11,12,13,5#
INTERMITTENT WIPER-WITH(AUTO),LT.GRAY,TRIM21,22,23,24,25,4#,91,92,93; LT.GRAY,TRIM21,23,24,4#,91,93
ECRU,TRIM11,13,5#; INTERMITTENT WIPER-WITH(AUTO),ECRU,TRIM11,12,13,5#; INTERMITTENT WIPER-WITH(AUTO),ECRU,TRIM11,13,5#
INTERMITTENT WIPER-WITH(AUTO),LT.GRAY,TRIM21,22,23,9#; INTERMITTENT WIPER-WITH(AUTO),LT.GRAY,TRIM21,23,9#; LT.GRAY,TRIM21,23,9#
BLACK,TRIM14,15,24,25,3#; INTERMITTENT WIPER-WITH(AUTO),BLACK,TRIM14,15,24,25,3#,8#
BLACK,TRIM0#,2#,3#,4#,6#,7#; BLACK,TRIM0#,6#,7#; CANADA SPEC&COMFORT PACKAGE&WINDSHIELD WIPER CONTROL-AUTO WIPER(RAIN SENSOR)&GARAGE OPENER-WITH,BLACK,TRIM0#,2#,3#,4#,6#,7#; CANADA SPEC&PREMIUM PACKAGE&WINDSHIELD WIPER CONTROL-AUTO WIPER(RAIN SENSOR)&GARAGE OPENER-WITH,BLACK,TRIM0#,2#,3#,4#,6#,7#; F SPORT&WINDSHIELD WIPER CONTROL-AUTO WIPER(RAIN SENSOR)&GARAGE OPENER-WITH,BLACK,TRIM0#,2#,3#,4#,6#,7#
CANADA SPEC&MOON ROOF-WITHOUT&INTERMITTENT WIPER-WITH(AUTO)&LANE KEEPING ASSIST-WITH(LANE DEPARTURE ALERT),IVORY,TRIM0#,5#; CANADA SPEC&MOON ROOF-WITHOUT&INTERMITTENT WIPER-WITH(AUTO),IVORY,TRIM0#,5#; CANADA SPEC&MOON ROOF-WITHOUT,IVORY,TRIM0#,5#; KOREA SPEC&MOON ROOF-WITHOUT&EMV & NAVIGATION SYSTEM-*DA & WITHOUT(NAVIGATION),IVORY,TRIM0#,5#; KOREA SPEC&MOON ROOF-WITHOUT&EMV & NAVIGATION SYSTEM-EMV(KOREA SPEC),IVORY,TRIM0#,5#; KOREA SPEC&MOON ROOF-WITHOUT&INTERMITTENT WIPER-WITH(AUTO)&EMV & NAVIGATION SYSTEM-*DA & WITHOUT(NAVIGATION),IVORY,TRIM0#,5#; KOREA SPEC&MOON ROOF-WITHOUT&INTERMITTENT WIPER-WITH(AUTO)&EMV & NAVIGATION SYSTEM-EMV(KOREA SPEC),IVORY,TRIM0#,5#
CANADA SPEC&LUXURY PACKAGE&MOON ROOF-WITHOUT&INTERMITTENT WIPER-WITH(AUTO)&LANE KEEPING ASSIST-WITH(LANE DEPARTURE ALERT),LT.GRAY,TRIM1#,2#; CANADA SPEC&LUXURY PACKAGE&MOON ROOF-WITHOUT&INTERMITTENT WIPER-WITH(AUTO),LT.GRAY,TRIM1#,2#; CANADA SPEC&MOON ROOF-WITHOUT&INTERMITTENT WIPER-WITH(AUTO)&LANE KEEPING ASSIST-WITH(LANE DEPARTURE ALERT),LT.GRAY,TRIM1#,2#; CANADA SPEC&MOON ROOF-WITHOUT&INTERMITTENT WIPER-WITH(AUTO),LT.GRAY,TRIM10,11,12,20,21,22; CANADA SPEC&MOON ROOF-WITHOUT,LT.GRAY,TRIM10,13,20,23; KOREA SPEC&MOON ROOF-WITHOUT&EMV & NAVIGATION SYSTEM-EMV(KOREA SPEC),LT.GRAY,TRIM10,13,20,23; KOREA SPEC&MOON ROOF-WITHOUT&INTERMITTENT WIPER-WITH(AUTO)&EMV & NAVIGATION SYSTEM-EMV(KOREA SPEC),LT.GRAY,TRIM10,11,12,20,21,22
CANADA SPEC&F SPORT&MOON ROOF-WITHOUT&INTERMITTENT WIPER-WITH(AUTO),BLACK,TRIM13,23,3#; CANADA SPEC&F SPORT&MOON ROOF-WITHOUT,BLACK,TRIM13,23,3#; KOREA SPEC&F SPORT&MOON ROOF-WITHOUT&EMV & NAVIGATION SYSTEM-*DA & WITHOUT(NAVIGATION),BLACK,TRIM13,23,3#; KOREA SPEC&F SPORT&MOON ROOF-WITHOUT&EMV & NAVIGATION SYSTEM-EMV(KOREA SPEC),BLACK,TRIM13,23,3#; KOREA SPEC&F SPORT&MOON ROOF-WITHOUT&INTERMITTENT WIPER-WITH(AUTO)&EMV & NAVIGATION SYSTEM-*DA & WITHOUT(NAVIGATION),BLACK,TRIM13,23,3#; KOREA SPEC&F SPORT&MOON ROOF-WITHOUT&INTERMITTENT WIPER-WITH(AUTO)&EMV & NAVIGATION SYSTEM-EMV(KOREA SPEC),BLACK,TRIM13,23,3#
INTERMITTENT WIPER-WITH(AUTO)&LANE KEEPING ASSIST-WITH(LANE DEPARTURE ALERT),IVORY,TRIM0#,5#; INTERMITTENT WIPER-WITH(AUTO),IVORY,TRIM0#,5#; IVORY,TRIM0#,5#; LUXURY PACKAGE&INTERMITTENT WIPER-WITH(AUTO)&LANE KEEPING ASSIST-WITH(LANE DEPARTURE ALERT),IVORY,TRIM0#,5#; LUXURY PACKAGE&INTERMITTENT WIPER-WITH(AUTO),IVORY,TRIM0#,5#
INTERMITTENT WIPER-WITH(AUTO)&LANE KEEPING ASSIST-WITH(LANE DEPARTURE ALERT),LT.GRAY,TRIM1#,2#; INTERMITTENT WIPER-WITH(AUTO),LT.GRAY,TRIM10,11,14,20,21,24; LT.GRAY,TRIM14,24
F SPORT&INTERMITTENT WIPER-WITH(AUTO),BLACK,TRIM13,23,3#; F SPORT,BLACK,TRIM13,23,3#
CANADA SPEC&MOON ROOF-WITHOUT&INTERMITTENT WIPER-WITH(AUTO),ECRU,TRIM01,02,03,11,12,13,5#; KOREA SPEC&MOON ROOF-WITHOUT&INTERMITTENT WIPER-WITH(AUTO)&EMV & NAVIGATION SYSTEM-*DA(7 INCH) & WITHOUT(NAVIGATION),ECRU,TRIM01,02,03,1#,5#; KOREA SPEC&MOON ROOF-WITHOUT&INTERMITTENT WIPER-WITH(AUTO)&EMV & NAVIGATION SYSTEM-EMV(7 INCH , KOREA SPEC),ECRU,TRIM01,02,03,1#,5#
KOREA SPEC&PRE-COLLISION SYSTEM-WITHOUT&MOON ROOF-WITHOUT&INTERMITTENT WIPER-WITH(AUTO)&EMV & NAVIGATION SYSTEM-*DA(7 INCH) & WITHOUT(NAVIGATION),LT.GRAY,TRIM21,22,23,24,25,4#,91,92,93; KOREA SPEC&PRE-COLLISION SYSTEM-WITHOUT&MOON ROOF-WITHOUT&INTERMITTENT WIPER-WITH(AUTO)&EMV & NAVIGATION SYSTEM-EMV(7 INCH , KOREA SPEC),LT.GRAY,TRIM21,22,23,24,25,4#,91,92,93
KOREA SPEC&MOON ROOF-WITHOUT&INTERMITTENT WIPER-WITH(AUTO)&EMV & NAVIGATION SYSTEM-*DA(7 INCH) & WITHOUT(NAVIGATION),BLACK,TRIM04,05,14,15,2#,3#,8#,94,95; KOREA SPEC&MOON ROOF-WITHOUT&INTERMITTENT WIPER-WITH(AUTO)&EMV & NAVIGATION SYSTEM-EMV(7 INCH , KOREA SPEC),BLACK,TRIM04,05,14,15,2#,3#,8#,94,95; KOREA SPEC&PRE-COLLISION SYSTEM-WITHOUT&MOON ROOF-WITHOUT&INTERMITTENT WIPER-WITH(AUTO)&EMV & NAVIGATION SYSTEM-*DA(7 INCH) & WITHOUT(NAVIGATION),BLACK,TRIM04,05,24,25,26,27,3#,94,95; KOREA SPEC&PRE-COLLISION SYSTEM-WITHOUT&MOON ROOF-WITHOUT&INTERMITTENT WIPER-WITH(AUTO)&EMV & NAVIGATION SYSTEM-EMV(7 INCH , KOREA SPEC),BLACK,TRIM04,05,24,25,26,27,3#,94,95
BLACK,TRIM04,05,14,15,2#,3#,94,95; INTERMITTENT WIPER-WITH(AUTO),BLACK,TRIM04,05,14,15,2#,3#,94,95
CANADA SPEC&COMFORT PACKAGE&MOON ROOF-WITH&WINDSHIELD WIPER CONTROL-AUTO WIPER(RAIN SENSOR)&GARAGE OPENER-WITH,BLACK,TRIM0#,2#,3#,4#,6#,7#; CANADA SPEC&PREMIUM PACKAGE&MOON ROOF-WITH&WINDSHIELD WIPER CONTROL-AUTO WIPER(RAIN SENSOR)&GARAGE OPENER-WITH,BLACK,TRIM0#,2#,3#,4#,6#,7#; COMFORT PACKAGE&MOON ROOF-WITH&WINDSHIELD WIPER CONTROL-AUTO WIPER(RAIN SENSOR)&GARAGE OPENER-WITH,BLACK,TRIM0#,2#,3#,4#,6#,7#; F SPORT&MOON ROOF-WITH&WINDSHIELD WIPER CONTROL-AUTO WIPER(RAIN SENSOR)&GARAGE OPENER-WITH,BLACK,TRIM0#,2#,3#,4#,6#,7#; ISRAEL SPEC&F SPORT&MOON ROOF-WITH&WINDSHIELD WIPER CONTROL-AUTO WIPER(RAIN SENSOR),BLACK,TRIM0#,2#,3#,4#,6#,7#; MOON ROOF-WITH,BLACK,TRIM0#,2#,3#,4#,6#,7#; MOON ROOF-WITH,BLACK,TRIM0#,6#,7#; PREMIUM PACKAGE&MOON ROOF-WITH&WINDSHIELD WIPER CONTROL-AUTO WIPER(RAIN SENSOR)&GARAGE OPENER-WITH,BLACK,TRIM0#,2#,3#,4#,6#,7#
63310DCLIP, ROOF HEADLINING
63310HCLIP(FOR ROOF HEADLINING)
63341PAD, ROOF SILENCER, NO.1
CANADA SPEC&LUXURY PACKAGE&MOON ROOF-WITHOUT&INTERMITTENT WIPER-WITH(AUTO); CANADA SPEC&LUXURY PACKAGE&MOON ROOF-WITHOUT&INTERMITTENT WIPER-WITH(AUTO)&LANE KEEPING ASSIST-WITH(LANE DEPARTURE ALERT); CANADA SPEC&MOON ROOF-WITHOUT; CANADA SPEC&MOON ROOF-WITHOUT&INTERMITTENT WIPER-WITH(AUTO); CANADA SPEC&MOON ROOF-WITHOUT&INTERMITTENT WIPER-WITH(AUTO)&LANE KEEPING ASSIST-WITH(LANE DEPARTURE ALERT); KOREA SPEC&MOON ROOF-WITHOUT&EMV & NAVIGATION SYSTEM-EMV(KOREA SPEC); KOREA SPEC&MOON ROOF-WITHOUT&INTERMITTENT WIPER-WITH(AUTO)&EMV & NAVIGATION SYSTEM-EMV(KOREA SPEC)
63342PAD, ROOF SILENCER, NO.2
CANADA SPEC&MOON ROOF-WITHOUT; CANADA SPEC&MOON ROOF-WITHOUT&INTERMITTENT WIPER-WITH(AUTO); CANADA SPEC&MOON ROOF-WITHOUT&INTERMITTENT WIPER-WITH(AUTO)&LANE KEEPING ASSIST-WITH(LANE DEPARTURE ALERT); KOREA SPEC&MOON ROOF-WITHOUT&EMV & NAVIGATION SYSTEM-*DA & WITHOUT(NAVIGATION); KOREA SPEC&MOON ROOF-WITHOUT&EMV & NAVIGATION SYSTEM-EMV(KOREA SPEC); KOREA SPEC&MOON ROOF-WITHOUT&INTERMITTENT WIPER-WITH(AUTO)&EMV & NAVIGATION SYSTEM-*DA & WITHOUT(NAVIGATION); KOREA SPEC&MOON ROOF-WITHOUT&INTERMITTENT WIPER-WITH(AUTO)&EMV & NAVIGATION SYSTEM-EMV(KOREA SPEC)
63343PAD, ROOF SILENCER, NO.3
CANADA SPEC&LUXURY PACKAGE&MOON ROOF-WITHOUT&INTERMITTENT WIPER-WITH(AUTO)&LANE KEEPING ASSIST-WITH(LANE DEPARTURE ALERT),NO.1 OR NO.2; CANADA SPEC&LUXURY PACKAGE&MOON ROOF-WITHOUT&INTERMITTENT WIPER-WITH(AUTO),NO.1 ORNO.2; CANADA SPEC&MOON ROOF-WITHOUT&INTERMITTENT WIPER-WITH(AUTO)&LANE KEEPING ASSIST-WITH(LANE DEPARTURE ALERT),NO.1 OR NO.2; CANADA SPEC&MOON ROOF-WITHOUT&INTERMITTENT WIPER-WITH(AUTO),NO.1 OR NO.2; CANADA SPEC&MOON ROOF-WITHOUT,NO.1 OR NO.2; KOREA SPEC&MOON ROOF-WITHOUT&EMV & NAVIGATION SYSTEM-EMV(KOREA SPEC),NO.1 OR NO.2; KOREA SPEC&MOON ROOF-WITHOUT&INTERMITTENT WIPER-WITH(AUTO)&EMV & NAVIGATION SYSTEM-EMV(KOREA SPEC),NO.1 OR NO.2
CANADA SPEC&LUXURY PACKAGE&MOON ROOF-WITHOUT&INTERMITTENT WIPER-WITH(AUTO)&LANE KEEPING ASSIST-WITH(LANE DEPARTURE ALERT),NO.2; CANADA SPEC&LUXURY PACKAGE&MOON ROOF-WITHOUT&INTERMITTENT WIPER-WITH(AUTO),NO.2; CANADA SPEC&MOON ROOF-WITHOUT&INTERMITTENT WIPER-WITH(AUTO)&LANE KEEPING ASSIST-WITH(LANE DEPARTURE ALERT),NO.2; CANADA SPEC&MOON ROOF-WITHOUT&INTERMITTENT WIPER-WITH(AUTO),NO.2; CANADA SPEC&MOON ROOF-WITHOUT,NO.2; KOREA SPEC&MOON ROOF-WITHOUT&EMV & NAVIGATION SYSTEM-*DA & WITHOUT(MAYDAY SYSTEM),NO.2; KOREA SPEC&MOON ROOF-WITHOUT&EMV & NAVIGATION SYSTEM-EMV(KOREA SPEC),NO.2; KOREA SPEC&MOON ROOF-WITHOUT&INTERMITTENT WIPER-WITH(AUTO)&EMV & NAVIGATION SYSTEM-*DA & WITHOUT(MAYDAY SYSTEM),NO.2; KOREA SPEC&MOON ROOF-WITHOUT&INTERMITTENT WIPER-WITH(AUTO)&EMV & NAVIGATION SYSTEM-EMV(KOREA SPEC),NO.2
63351CPAD, ROOF HEADLINING
CANADA SPEC&LUXURY PACKAGE&MOON ROOF-WITHOUT&INTERMITTENT WIPER-WITH(AUTO); CANADA SPEC&LUXURY PACKAGE&MOON ROOF-WITHOUT&INTERMITTENT WIPER-WITH(AUTO)&LANE KEEPING ASSIST-WITH(LANE DEPARTURE ALERT); CANADA SPEC&MOON ROOF-WITHOUT; CANADA SPEC&MOON ROOF-WITHOUT&INTERMITTENT WIPER-WITH(AUTO); CANADA SPEC&MOON ROOF-WITHOUT&INTERMITTENT WIPER-WITH(AUTO)&LANE KEEPING ASSIST-WITH(LANE DEPARTURE ALERT); KOREA SPEC&MOON ROOF-WITHOUT&EMV & NAVIGATION SYSTEM-EMV(KOREA SPEC); KOREA SPEC&MOON ROOF-WITHOUT&INTERMITTENT WIPER-WITH(AUTO)&EMV & NAVIGATION SYSTEM-EMV(KOREA SPEC)
F SPORT DESIGN&MOON ROOF-WITH&WINDSHIELD WIPER CONTROL-INTERMITTENT(TIME ADJUSTMENT) & MIST&POWER SEAT-WITH & WITHOUT(SEAT MEMORY)&GARAGE OPENER-WITHOUT; F SPORT&MOON ROOF-WITH&WINDSHIELD WIPER CONTROL-AUTO WIPER(RAIN SENSOR)&POWER SEAT-WITH(SEAT MEMORY = DRIVER SIDE)&GARAGE OPENER-WITH; ISRAEL SPEC&F SPORT&MOON ROOF-WITH&WINDSHIELD WIPER CONTROL-AUTO WIPER(RAIN SENSOR)&POWER SEAT-WITH(SEAT MEMORY = DRIVER SIDE)
63381ERETAINER, ROOF HEADLINING TRIM, FRONT
NO.1
NO.2
63398PLATE, ROOF HEADLINING SUPPORT
66414ASPACER, SIDE RAIL, REAR RH
CANADA SPEC&MOON ROOF-WITHOUT; CANADA SPEC&MOON ROOF-WITHOUT&INTERMITTENT WIPER-WITH(AUTO); CANADA SPEC&MOON ROOF-WITHOUT&INTERMITTENT WIPER-WITH(AUTO)&LANE KEEPING ASSIST-WITH(LANE DEPARTURE ALERT); KOREA SPEC&MOON ROOF-WITHOUT&EMV & NAVIGATION SYSTEM-*DA & WITHOUT(NAVIGATION); KOREA SPEC&MOON ROOF-WITHOUT&EMV & NAVIGATION SYSTEM-EMV(KOREA SPEC); KOREA SPEC&MOON ROOF-WITHOUT&INTERMITTENT WIPER-WITH(AUTO)&EMV & NAVIGATION SYSTEM-*DA & WITHOUT(NAVIGATION); KOREA SPEC&MOON ROOF-WITHOUT&INTERMITTENT WIPER-WITH(AUTO)&EMV & NAVIGATION SYSTEM-EMV(KOREA SPEC)
66415BSPACER, SIDE RAIL, REAR NO.2 RH
66424SPACER, SIDE RAIL, REAR LH
CANADA SPEC&LUXURY PACKAGE&MOON ROOF-WITHOUT&INTERMITTENT WIPER-WITH(AUTO); CANADA SPEC&LUXURY PACKAGE&MOON ROOF-WITHOUT&INTERMITTENT WIPER-WITH(AUTO)&LANE KEEPING ASSIST-WITH(LANE DEPARTURE ALERT); CANADA SPEC&MOON ROOF-WITHOUT; CANADA SPEC&MOON ROOF-WITHOUT&INTERMITTENT WIPER-WITH(AUTO); CANADA SPEC&MOON ROOF-WITHOUT&INTERMITTENT WIPER-WITH(AUTO)&LANE KEEPING ASSIST-WITH(LANE DEPARTURE ALERT); KOREA SPEC&MOON ROOF-WITHOUT&EMV & NAVIGATION SYSTEM-EMV(KOREA SPEC); KOREA SPEC&MOON ROOF-WITHOUT&INTERMITTENT WIPER-WITH(AUTO)&EMV & NAVIGATION SYSTEM-EMV(KOREA SPEC)
66425BSPACER, SIDE RAIL, REAR NO.2 LH
8121INTERIOR LAMP
15 parts on this diagram · 2 diagrams in section