E
EPC Data

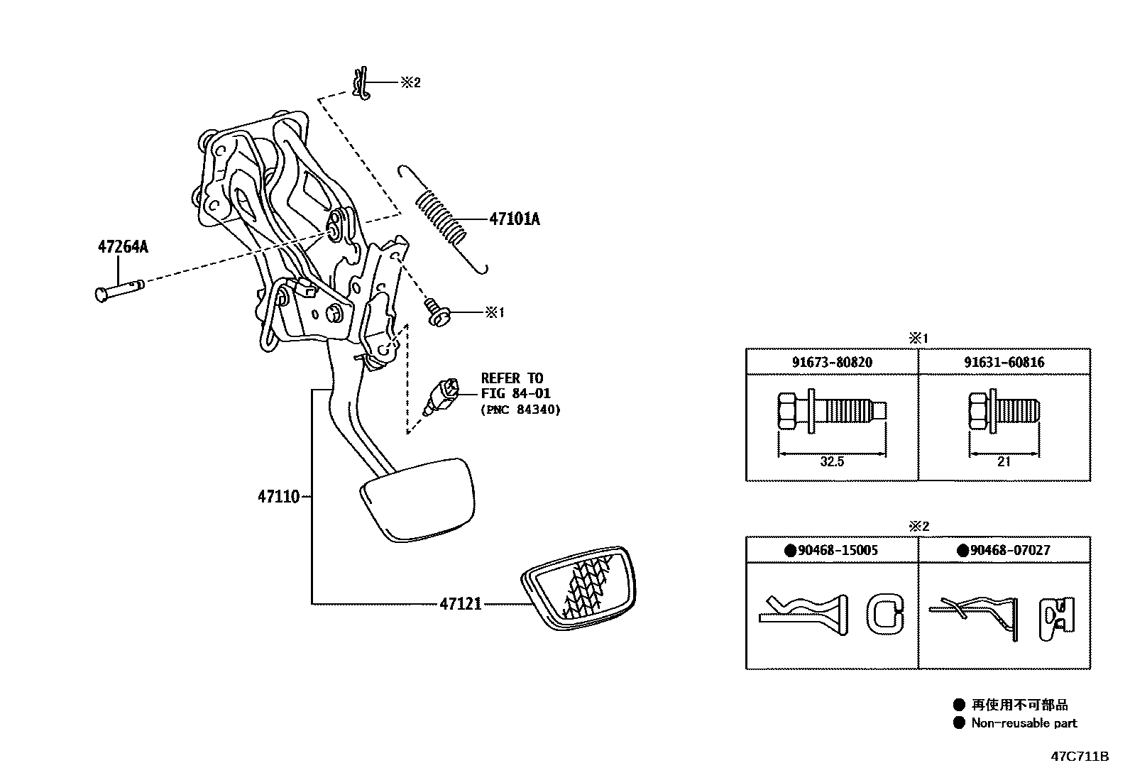
BRAKE PEDAL & BRACKET

Parts diagram
47101ASPRING(FOR BRAKE PEDAL RETURN)
main90507-12045i201610-202009
main90507-13009i202009-202110
main90507-15015i202111
47110SUPPORT ASSY, BRAKE PEDAL
main47110-53330i202111
F SPORT
main47110-24150supersedes 47110-24140i201610-202009
F SPORT
main47110-24170supersedes 47110-24160i201508-201610
F SPORT
main47110-24260supersedes 47110-53320i202009-202110
F SPORT
main47110-24280supersedes 47110-53340i202009-202110
F SPORT
main47110-30530i201410-201508
THE CRAFTED LINE
main47110-30550i201410-201508
THE CRAFTED LINE
main47110-53320supersedes 47110-24260i202209
F SPORT DESIGN
main47110-53340supersedes 47110-53350i202209
F SPORT DESIGN
main47110-53350supersedes 47110-53340i202111
F SPORT
47121PAD, BRAKE PEDAL
main47121-11020supersedes 47121-62010i202111
F SPORT
main47121-30090i201909-202009
F SPORT
main47121-48020i201902-201909
F SPORT
main47121-62010supersedes 47121-11020i202209
F SPORT DESIGN
47264APIN(FOR PUSH ROD)
main90249-06180i201610-202009
main90249-08308i202111
8401SWITCH & RELAY & COMPUTER
9046807027
9046815005
9163160816
9167380820

9 parts on this diagram · 1 diagram in section

BRAKE PEDAL & BRACKET — Toyota Parts Diagram with OEM Numbers & Prices | EPC Data