E
EPC Data

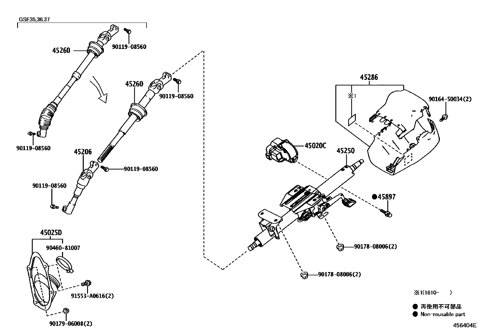
STEERING COLUMN & SHAFT

Parts diagram
45020CACTUATOR ASSY, STEERING LOCK(W/ECU)
main45020-30B10i202209
ISRAEL SPEC&STEERING COLUMN-POWER(TILT & TELESCOPIC)
main45020-53040i201809-202009
STEERING COLUMN-POWER,WITH(PROTECTOR)
45025DCOVER SUB-ASSY, STEERING COLUMN HOLE, NO.1
main45025-30390i201610-202009
main45025-30401i201610-202009
main45025-30380i201304-201508
STEERING-WITH(ELECTRIC POWER STEERING & VGRS)
45206YOKE SUB-ASSY, STEERING SLIDING W/SHAFT
main45206-30180i201304-201508
main45206-30200i201508-201610
45250COLUMN ASSY, STEERING
main45250-53080i202111
45260SHAFT ASSY, STEERING INTERMEDIATE, NO.2
main45260-30220i201610-202009
main45260-30230i202111
main45240-30190i201508-201610
STEERING-ELECTRIC POWER STEERING(VGRS)
45286COVER, STEERING COLUMN
main45286-53918-C0i201508-201610
BLACK,TRIM0#,1#,2#,3#,5#
main45286-53931-C0i201610-202009
BLACK,TRIM1#,2#,3#,5#,8#,9#
main45286-53916-C0i201304-201508
F SPORT&STEERING-WITH(ELECTRIC POWER STEERING & VGRS)&AVS-WITH,BLACK,TRIM0#,1#,2#,3#,5#; KOREA SPEC&F SPORT,BLACK,TRIM0#,1#,2#,3#,5#; LUXURY PACKAGE,BLACK,TRIM0#,1#,2#,3#,5#; LUXURY PACKAGE,BLACK,TRIM0#,1#,2#,5#
main45286-53925-C0i202111
STEERING COLUMN-POWER(TILT & TELESCOPIC),BLACK,TRIM0#,2#,3#,4#,6#,7#,8#
45897BOLT, STEERING LOCK SET
main45897-12020×2i201304-201508
F SPORT&STEERING-WITH(ELECTRIC POWER STEERING & VGRS)&AVS-WITH; KOREA SPEC&F SPORT; LUXURY PACKAGE
9011908560
9016450034
9017808006
9017906008
9046081007
91553A0616

13 parts on this diagram · 3 diagrams in section

STEERING COLUMN & SHAFT — Toyota Parts Diagram with OEM Numbers & Prices | EPC Data