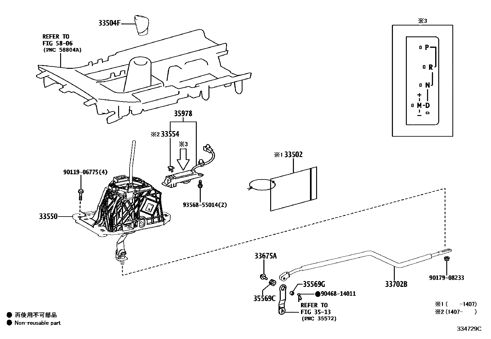
SHIFT LEVER & RETAINER

33502PLATE SUB-ASSY, SHIFT LEVER
33504FKNOB SUB-ASSY, SHIFT LEVER
BLACK,TRIM0#,1#,2#,5#
BLACK,TRIM1#,2#,5#,9#
BLACK,TRIM2#,3#,4#
BLACK,TRIM0#,5#,6#,7#,8#; BLACK,TRIM0#,6#,7#,8#; F SPORT,BLACK,TRIM0#,6#,7#,8#
F SPORT,BLACK,TRIM1#,2#,3#
F SPORT,BLACK,TRIM1#,2#,3#,8#
33550FLOOR SHIFT ASSY, TRANSMISSION
33554CAP, SHIFT LEVER
33675APIN, W/HOLE (FOR TRANSMISSION CONTROL ROD)
33702BROD SUB-ASSY, GEAR SHIFTING, NO.1 (FOR FLOOR SHIFT)
3513THROTTLE LINK & VALVE LEVER (ATM)
35569CGROMMET (FOR TRANSMISSION CONTROL ROD)
35569GBUSH (FOR TRANSMISSION CONTROL ROD)
35978INDICATOR, SHIFT POSITION
5806CONSOLE BOX & BRACKET
9011906775
main90119-06775
9017908233
main90179-08233
9046814011
main90468-14011
9356855014
main93568-55014
15 parts on this diagram · 3 diagrams in section