E
EPC Data

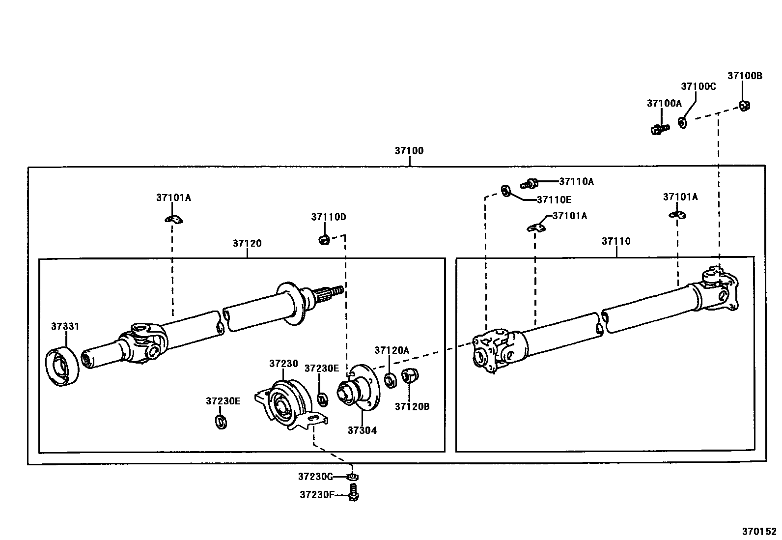
PROPELLER SHAFT & UNIVERSAL JOINT

Parts diagram
37100SHAFT ASSY, PROPELLER W/CENTER BEARING
main37100-53050i200005-200107
main37100-53060i200107
37100ABOLT, NO.1 (FOR PROPELLER SHAFT & DIFFERENTIAL SETTING)
main90105-10085×4i200005-200107
main90105-10466×4i200107-200507
37100BNUT, NO.1 (FOR PROPELLER SHAFT & DIFFERENTIAL SETTING)
main90178-10007×4i200107-200507
main90179-10059×4i200005-200107
37100CWASHER, NO.1 (FOR PROPELLER SHAFT & DIFFERENTIAL SETTING)
main90204-10002×4i200005-200107
main90560-10102×4i200107-200507
37101APIECE, BALANCE, NO.1 (FOR PROPELLER SHAFT)
main90937-01338i200005-200107
3G,T=1.0,L=19.1
main90937-01339i200005-200107
5G,T=1.0,L=31.8
main90937-01340i200005-200107
7G,T=2.0
main90937-01355i200005-200107
2G,T=1.0,L=12.7
main90937-01356i200005-200107
4G,T=1.0,L=25.4
main90937-01357i200005-200107
6G,T=2.0
main90937-01358i200005-200107
8G,T=2.0
main90937-01359i200005-200107
10G,T=2.0
main90937-01360i200005-200107
12G,T=2.0
main90937-01361i200005-200107
14G,T=2.0
main90937-01362i200005-200107
16G,T=2.0
main90937-01363i200005-200107
18G,T=2.0
main90937-01364i200005-200107
20G,T=2.0,L=42.4
main90937-01365i200005-200107
1G,T=1.0,L=6.4
main90937-01385i200005-200107
22G,T=2.0,L=46.6
main90937-01386i200005-200107
24G,T=2.0,L=50.8
main90937-01487i200005-200107
1.5G,T=1.0,L=9.5
main90937-01488i200005-200107
2.5G,T=1.0,L=15.9
main90937-01489i200005-200107
3.5G,T=1.0,L=22.3
main90937-01490i200005-200107
4.5G,T=1.0,L=28.6
37110SHAFT ASSY, PROPELLER
main37110-53020i200005-200106
main37110-53021i200106-200107
37110ABOLT (FOR PROPELLER SHAFT)
main90105-10466×4i200005-200107
*10-1.00PX29-15
37110DNUT (FOR PROPELLER SHAFT)
main90178-10007×4i200005-200107
37110EWASHER (FOR PROPELLER SHAFT)
main90560-10102×4i200005-200107
37120SHAFT ASSY, PROPELLER INTERMEDIATE
main37120-51010i200005-200107
37120AWASHER, PLATE (FOR PROPELLER INTERMEDIATE SHAFT SET)
main90201-18182i200005-200107
OD=33.5,T=4.0
37120BNUT (FOR PROPELLER INTERMEDIATE SHAFT SETTING)
main90179-18009i200005-200107
37230BEARING ASSY, CENTER SUPPORT, NO.1
main37230-51010i200005-200107
main37230-59015i200107
37230EWASHER, NO.1 (FOR CENTER SUPPORT BEARING)
main90201-25006×2i200005-200107
37230FBOLT, NO.1 (FOR CENTER SUPPORT BEARING)
main90119-10902×2i200005-200107
L=33
37230GWASHER, NO.2 (FOR CENTER SUPPORT BEARING)
main90201-10008×2i200005-200107
T=4.5
main90201-10017×2i200107
T=9.0
main90201-10033×2i200107
T=6.5
main90201-10034×2i200005-200107
T=11.0
main90201-10035×2i200107
T=13.5
main90201-10106×2i200005-200107
T=2.0
37304FLANGE SUB-ASSY, UNIVERSAL JOINT
main37304-35041i200005-200107
37331COVER, SLIDING SHAFT DUST
main37331-24010i200005-200107

18 parts on this diagram · 2 diagrams in section

PROPELLER SHAFT & UNIVERSAL JOINT — Toyota Parts Diagram with OEM Numbers & Prices | EPC Data