HEADLAMP CLEANER

8401SWITCH & RELAY & COMPUTER
8503WINDSHIELD WASHER
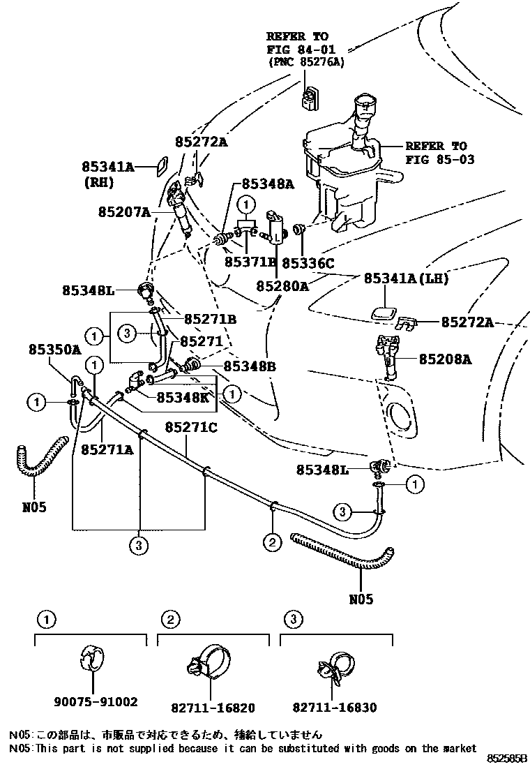
85207AACTUATOR SUB-ASSY, HEADLAMP WASHER, RH
HEAD LAMP-LED
HEADLAMP-LED&HEADLAMP CLEANER-WITH
HEADLAMP-LED & WITH(AUTOMATIC HIGH BEAM)&HEADLAMP CLEANER-WITH; HEADLAMP-LED&HEADLAMP CLEANER-WITH
85208AACTUATOR SUB-ASSY, HEADLAMP WASHER, LH
HEAD LAMP-LED
HEADLAMP-LED&HEADLAMP CLEANER-WITH
HEADLAMP-LED & WITH(AUTOMATIC HIGH BEAM)&HEADLAMP CLEANER-WITH; HEADLAMP-LED&HEADLAMP CLEANER-WITH
85271HOSE, HEADLAMP CLEANER, NO.1
L=35,HEAD LAMP-LED
85271AHOSE, HEADLAMP CLEANER, NO.2
L=280,HEAD LAMP-LED
L=280,HEADLAMP-LED&HEADLAMP CLEANER-WITH
85271BHOSE, HEADLAMP CLEANER, NO.3
L=140,HEAD LAMP-LED
L=240,HEADLAMP-LED&HEADLAMP CLEANER-WITH
85271CHOSE, HEADLAMP CLEANER, NO.4
L=1250,HEAD LAMP-LED
L=850,HEADLAMP-LED&HEADLAMP CLEANER-WITH
85272ACLAMP, HEADLAMP CLEANER, NO.1
HEAD LAMP-LED
HEADLAMP-LED&HEADLAMP CLEANER-WITH
85280AMOTOR AND PUMP ASSY, HEADLAMP CLEANER
HEAD LAMP-LED; REAR WINDOW WIPER-WITH&HEAD LAMP-LED
85336CPACKING, HEADLAMP CLEANER MOTOR
HEAD LAMP-LED; REAR WINDOW WIPER-WITH&HEAD LAMP-LED
85341ACOVER,HEADLAMP CLEANER WASHER NOZZLE
HEAD LAMP-LED,WHITE PEARL CS.,077,RH
HEAD LAMP-LED,WHITE NOVA GF.,083,RH
HEAD LAMP-LED,SILVER M.M.,1G1,RH
HEAD LAMP-LED,MERCURY GRAY MC.,1H9,RH
HEAD LAMP-LED,DK.GRAY MC.,1G0,RH
HEAD LAMP-LED,PLATINUM SILVER ME.,1J4,RH
HEAD LAMP-LED,BLACK,212,RH
HEAD LAMP-LED,BLACK OPAL MC.,214,RH
HEAD LAMP-LED,RED MC.CS.,3R1,RH
HEAD LAMP-LED,FIRE AGATE M.M.,4V3,RH
HEAD LAMP-LED,FLARE YELLOW M.M.,5B1,RH
HEAD LAMP-LED,BLUE ME.,8U1,RH
HEAD LAMP-LED,SILVERY BLUE ME.,8U9,RH
HEADLAMP-LED&HEADLAMP CLEANER-WITH,WHITE PEARL CS.,077 ,2LH,RH
HEADLAMP-LED & WITH(AUTOMATIC HIGH BEAM)&HEADLAMP CLEANER-WITH,WHITE NOVA GF.,083,2LJ,RH
HEADLAMP-LED & WITH(AUTOMATIC HIGH BEAM)&HEADLAMP CLEANER-WITH,SONIC QUARTZ,085 ,2MP ,2QB ,2QC,RH
HEADLAMP-LED&HEADLAMP CLEANER-WITH,MERCURY GRAY MC.,1H9 ,2LL,RH
HEADLAMP-LED&HEADLAMP CLEANER-WITH,PLATINUM SILVER ME.,1J4 ,2LK ,2LL,RH
HEADLAMP-LED&HEADLAMP CLEANER-WITH,SONIC TITANIUM,1J7 ,2MN,RH
HEADLAMP-LED&HEADLAMP CLEANER-WITH,BLACK,212 ,2PZ,RH
HEADLAMP-LED&HEADLAMP CLEANER-WITH,BLACK OPAL MC.,214,RH
HEADLAMP-LED&HEADLAMP CLEANER-WITH,GRAPHITE BLACK GF.,223 ,2PZ,RH
HEADLAMP-LED&HEADLAMP CLEANER-WITH,RED MC.CS.,2LM ,2QA ,3R1,RH
HEADLAMP-LED & WITH(AUTOMATIC HIGH BEAM)&HEADLAMP CLEANER-WITH,SOLID RED,2LN ,3T2,RH
HEADLAMP-LED&HEADLAMP CLEANER-WITH,FIRE AGATE M.M.,4V3,RH
HEADLAMP-LED & WITH(AUTOMATIC HIGH BEAM)&HEADLAMP CLEANER-WITH,AMBER CS.,2PW ,4X2,RH
HEADLAMP-LED & WITH(AUTOMATIC HIGH BEAM)&HEADLAMP CLEANER-WITH,LAVA ORANGE CS.,2QE,4W7,RH; HEADLAMP-LED&HEADLAMP CLEANER-WITH,LAVA ORANGE CS.,2QE ,4W7,RH
HEADLAMP-LED & WITH(AUTOMATIC HIGH BEAM)&HEADLAMP CLEANER-WITH,BLAZING CARNELIAN CONTRAS,4Y1,RH; HEADLAMP-LED&HEADLAMP CLEANER-WITH,BLAZING CARNELIAN CONTRAS,4Y1,RH
HEADLAMP-LED&HEADLAMP CLEANER-WITH,FLARE YELLOW M.M.,2LP ,5B1,RH
HEADLAMP-LED & WITH(AUTOMATIC HIGH BEAM)&HEADLAMP CLEANER-WITH,TERRANE KHAKI M.M.,6X4,RH; HEADLAMP-LED&HEADLAMP CLEANER-WITH,TERRANE KHAKI M.M.,6X4,RH
HEADLAMP-LED&HEADLAMP CLEANER-WITH,BLUE ME.,2LQ ,8U1,RH
HEADLAMP-LED & WITH(AUTOMATIC HIGH BEAM)&HEADLAMP CLEANER-WITH,DEEP BLUE MC.,2PK ,8X5,RH
HEADLAMP-LED&HEADLAMP CLEANER-WITH,SPARKLING METEOR ME.,2PX ,8X9,RH
HEADLAMP-LED & WITH(AUTOMATIC HIGH BEAM)&HEADLAMP CLEANER-WITH,HEAT BLUE CONTRASTLAYERI,2QF ,8X1,RH; HEADLAMP-LED&HEADLAMP CLEANER-WITH,HEAT BLUE CONTRAST LAYERI,2QF ,8X1,RH
HEADLAMP-LED & WITH(AUTOMATIC HIGH BEAM)&HEADLAMP CLEANER-WITH,CELESTIAL BLUE GF.,8Y6,RH; HEADLAMP-LED&HEADLAMP CLEANER-WITH,CELESTIAL BLUE GF.,8Y6,RH
HEAD LAMP-LED,WHITE PEARL CS.,077,LH
HEAD LAMP-LED,WHITE NOVA GF.,083,LH
HEAD LAMP-LED,SILVER M.M.,1G1,LH
HEAD LAMP-LED,MERCURY GRAY MC.,1H9,LH
HEAD LAMP-LED,DK.GRAY MC.,1G0,LH
HEAD LAMP-LED,PLATINUM SILVER ME.,1J4,LH
HEAD LAMP-LED,BLACK,212,LH
HEAD LAMP-LED,BLACK OPAL MC.,214,LH
HEAD LAMP-LED,RED MC.CS.,3R1,LH
HEAD LAMP-LED,FIRE AGATE M.M.,4V3,LH
HEAD LAMP-LED,FLARE YELLOW M.M.,5B1,LH
HEAD LAMP-LED,BLUE ME.,8U1,LH
HEAD LAMP-LED,SILVERY BLUE ME.,8U9,LH
HEADLAMP-LED&HEADLAMP CLEANER-WITH,WHITE PEARL CS.,077 ,2LH,LH
HEADLAMP-LED & WITH(AUTOMATIC HIGH BEAM)&HEADLAMP CLEANER-WITH,WHITE NOVA GF.,083,2LJ,LH
HEADLAMP-LED&HEADLAMP CLEANER-WITH,SONIC QUARTZ,085 ,2MP ,2QB ,2QC,LH
HEADLAMP-LED & WITH(AUTOMATIC HIGH BEAM)&HEADLAMP CLEANER-WITH,MERCURY GRAY MC.,1H9 ,2LL,LH
HEADLAMP-LED&HEADLAMP CLEANER-WITH,PLATINUM SILVER ME.,1J4 ,2LK ,2LL,LH
HEADLAMP-LED&HEADLAMP CLEANER-WITH,SONIC TITANIUM,1J7 ,2MN,LH
HEADLAMP-LED&HEADLAMP CLEANER-WITH,BLACK,212 ,2PZ,LH
HEADLAMP-LED&HEADLAMP CLEANER-WITH,BLACK OPAL MC.,214,LH
HEADLAMP-LED&HEADLAMP CLEANER-WITH,GRAPHITE BLACK GF.,223 ,2PZ,LH
HEADLAMP-LED&HEADLAMP CLEANER-WITH,RED MC.CS.,2LM ,2QA ,3R1,LH
HEADLAMP-LED & WITH(AUTOMATIC HIGH BEAM)&HEADLAMP CLEANER-WITH,SOLID RED,2LN ,3T2,LH
HEADLAMP-LED&HEADLAMP CLEANER-WITH,FIRE AGATE M.M.,4V3,LH
HEADLAMP-LED & WITH(AUTOMATIC HIGH BEAM)&HEADLAMP CLEANER-WITH,AMBER CS.,2PW ,4X2,LH
HEADLAMP-LED & WITH(AUTOMATIC HIGH BEAM)&HEADLAMP CLEANER-WITH,LAVA ORANGE CS.,2QE,4W7,LH; HEADLAMP-LED&HEADLAMP CLEANER-WITH,LAVA ORANGE CS.,2QE ,4W7,LH
HEADLAMP-LED & WITH(AUTOMATIC HIGH BEAM)&HEADLAMP CLEANER-WITH,BLAZING CARNELIAN CONTRAS,4Y1,LH; HEADLAMP-LED&HEADLAMP CLEANER-WITH,BLAZING CARNELIAN CONTRAS,4Y1,LH
HEADLAMP-LED&HEADLAMP CLEANER-WITH,FLARE YELLOW M.M.,2LP ,5B1,LH
HEADLAMP-LED & WITH(AUTOMATIC HIGH BEAM)&HEADLAMP CLEANER-WITH,TERRANE KHAKI M.M.,6X4,LH; HEADLAMP-LED&HEADLAMP CLEANER-WITH,TERRANE KHAKI M.M.,6X4,LH
HEADLAMP-LED&HEADLAMP CLEANER-WITH,BLUE ME.,2LQ ,8U1,LH
HEADLAMP-LED&HEADLAMP CLEANER-WITH,DEEP BLUE MC.,2PK ,8X5,LH
HEADLAMP-LED&HEADLAMP CLEANER-WITH,SPARKLING METEOR ME.,2PX ,8X9,LH
HEADLAMP-LED & WITH(AUTOMATIC HIGH BEAM)&HEADLAMP CLEANER-WITH,HEAT BLUE CONTRASTLAYERI,2QF ,8X1,LH; HEADLAMP-LED&HEADLAMP CLEANER-WITH,HEAT BLUE CONTRAST LAYERI,2QF ,8X1,LH
HEADLAMP-LED & WITH(AUTOMATIC HIGH BEAM)&HEADLAMP CLEANER-WITH,CELESTIAL BLUE GF.,8Y6,LH; HEADLAMP-LED&HEADLAMP CLEANER-WITH,CELESTIAL BLUE GF.,8Y6,LH
85348AJOINT, HEADLAMP CLEANER HOSE, NO.1
HEAD LAMP-LED; REAR WINDOW WIPER-WITH&HEAD LAMP-LED
HEADLAMP CLEANER-WITH
85348BJOINT, HEADLAMP CLEANER HOSE, NO.2
HEAD LAMP-LED
85348KJOINT, HEADLAMP CLEANER ELBOW, NO.1
HEAD LAMP-LED
HEADLAMP-LED&HEADLAMP CLEANER-WITH
85348LJOINT, HEADLAMP CLEANER ELBOW, NO.2
HEAD LAMP-LED
HEADLAMP-LED&HEADLAMP CLEANER-WITH
85350AJOINT, HEADLAMP CLEANER ELBOW, NO.3
HEAD LAMP-LED
HEADLAMP-LED&HEADLAMP CLEANER-WITH
85371BHOSE, HEADLAMP CLEANER (FROM MOTOR TO JOINT)
L=80,HEAD LAMP-LED; L=80,REAR WINDOW WIPER-WITH&HEAD LAMP-LED
8271116820WIRE, FUSE TO FUSE(FOR COMBUSTION HEATER)
main82711-16820
8271116830WIRE, FUSE TO FUSE(FOR COMBUSTION HEATER)
main82711-16830
9007591002
main90075-91002
21 parts on this diagram · 2 diagrams in section