E
EPC Data

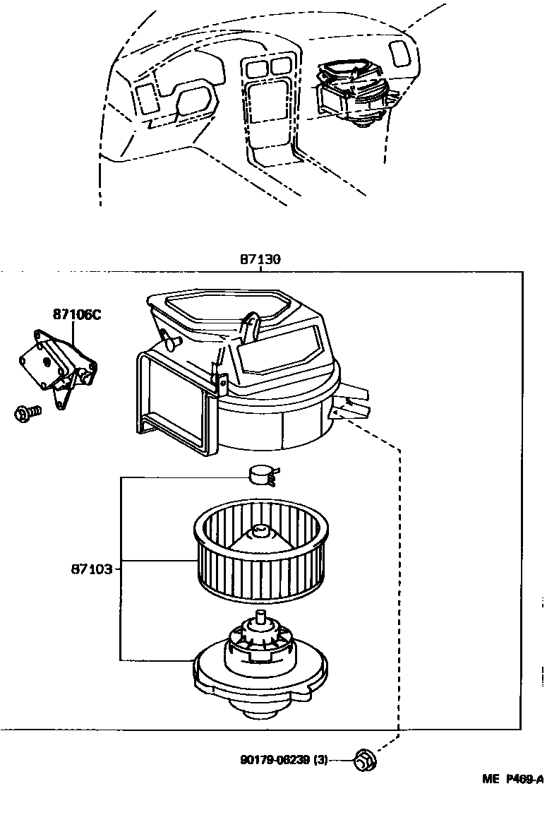
HEATING & AIR CONDITIONING - HEATER UNIT & BLOWER

Parts diagram
87103MOTOR SUB-ASSY, HEATER BLOWER, W/FAN
main87103-17020i199001-199506
87106CSERVO SUB-ASSY, DAMPER(FOR BLOWER)
main87106-17120i199001-199201
main87106-17121i199201-199506
87130BLOWER ASSY, HEATER, FRONT
main87130-17080i199001-199201
main87130-17081i199201-199506
9017906239

4 parts on this diagram · 2 diagrams in section

HEATING & AIR CONDITIONING - HEATER UNIT & BLOWER — Toyota Parts Diagram with OEM Numbers & Prices | EPC Data