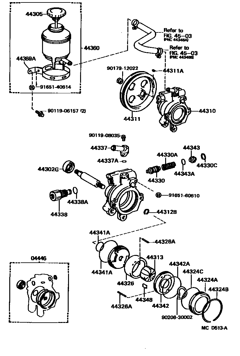
VANE PUMP & RESERVOIR (POWER STEERING)

44302GSEAL, OIL, NO.2(FOR VANE PUMP HOUSING)
44311AKEY, VANE PUMP PULLEY
44312BRING, SNAP, NO.1(FOR VANE PUMP SHAFT)
44313ROTOR, VANE PUMP
44324AHOUSING, PUMP, REAR
44324BRING, HOLE SNAP(FOR PUMP HOUSING REAR)
44324CRING, O(FOR PUMP HOUSING REAR)
44326RING, CAM(FOR VANE PUMP)
NO MARK,NO MARK
MARK 1,MARK 1
MARK 2,MARK 2
MARK 3,MARK 3
MARK 4,MARK 4
44326APIN, STRAIGHT(FOR VANE PUMP CAM RING)
L=28,OD=4.0,L=28
L=43,OD=4.0,L=43
44330VALVE ASSY, FLOW CONTROL
44330ASPRING, COMPRESSION(FOR FLOW CONTROL VALVE)
44330CRING, SNAP(FOR FLOW CONTROL VALVE)
44337UNION, POWER STEERING SUCTION PORT
44337ARING, O(FOR POWER STEERING SUCTION PORT)
sub90301-11016
44338UNION, PRESSURE PORT
44338ARING, O(FOR PRESSURE PORT UNION)
44341ARING, O(FOR VANE PUMP FRONT SIDE PLATE)
OUTER
44342PLATE, VANE PUMP SIDE, REAR
sub44342-32010
44342ARING, O(FOR VANE PUMP SIDE PLATE REAR)
44343SEAT, FLOW CONTROL SPRING
44343ARING, O(FOR FLOW CONTROL SPRING SEAT)
44348PLATE, VANE PUMP
L=14.997,L=14.996-14.998,ROTOR NO MARK
L=14.995,L=14.994-14.996,ROTOR MARK 1
L=14.993,L=14.992-14.994,ROTOR MARK 2
L=14.991,L=14.990-14.992,ROTOR MARK 3
L=14.989,L=14.988-14.990,ROTOR MARK 4
44360RESERVOIR ASSY, VANE PUMP OIL
44369ABRACKET, OIL RESERVOIR, NO.1
4503
9011906157
main90119-06157
9011908035
main90119-08035
9017912022
main90179-12022
9020630002
main90206-30002
9165140614
main91651-40614
9165160610
main91651-60610
35 parts on this diagram · 2 diagrams in section