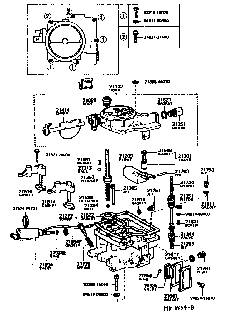
CARBURETOR

21112HORN, AIR
sub21112-24370
CANADA SPEC.
CALIFORNIA SPEC.
CALIFORNIA SPEC.
CALIFORNIA SPEC.
HIGH ALTITUDE SPEC.
CALIFORNIA SPEC.
CALIFORNIA SPEC.
HIGH ALTITUDE SPEC.
21205JET SUB-ASSY, SLOW
ID=0.52,CAL.& H.A.
ID=0.51,CALIFORNIA SPEC.
ID=0.50
ID=0.525,CALIFORNIA SPEC.
ID=0.48
ID=0.50
ID=0.52,CAL.& H.A.
ID=0.47
21209FLOAT SUB-ASSY
21251JET, 1ST MAIN
CANADA SPEC.
ID=1.04
ID=1.06
ID=1.07,CANADA SPEC.
ID=1.08
ID=1.10
ID=1.12,CALIFORNIA SPEC.
ID=1.13,CAL.& H.A.
ID=1.14
ID=1.15
21253JET, 2ND MAIN
ID=1.53
ID=1.62
ID=1.65
ID=1.68,CANADA SPEC.
21255JET, POWER
ID=0.8
ID=0.55,CALIFORNIA SPEC.
ID=0.60
ID=0.75
ID=0.9
21272SCREW, 1ST IDLE ADJUSTING
21301VALVE SUB-ASSY, NEEDLE
21313BALL, STEEL, NO.1(FOR DISCHARGE WEIGHT)
21314BALL, STEEL, NO.2(FOR PUMP PLUNGER)
21335VALVE, THERMOSTATIC
21341VALVE, POWER
21351PISTON, POWER
21414SHAFT, CHOKE
CANADA SPEC.
CAL.& H.A.
21538RETAINER, BALL CHECK
21561WEIGHT, PUMP DISCHARGE
21611GASKET, MAIN JET
21614GASKET, VENTURI
sub21614-24580
21617GASKET, MAIN PASSAGE PLUG
21618GASKET, NEEDLE VALVE SEAT
21621GASKET, UNION NIPPLE
FOR FUEL RETURN
FOR FUEL INLET
21641GASKET(FOR THERMOSTATIC VALVE COVER)
21659RING, O(FOR THERMOSTATIC VALVE)
21699BOOT(FOR PUMP PLUNGER)
sub21699-28150
21726SPRING, 1ST IDLE ADJUSTING
21734SPRING, POWER PISTON
CANADA SPEC.
CANADA SPEC.
CW=27
21751UNION, NIPPLE
sub21751-24033
FOR FUEL RETURN,CAL.& H.A.
FOR FUEL RETURN
FOR FUEL INLET
FOR FUEL RETURN
FOR FUEL RETURN
21763PIN, FLOAT LEVER
21781PLUG, MAIN PASSAGE(FOR CARBURETOR JET)
sub21781-16510
21831SCREW, POWER PISTON STOP
21934ERING, O(FOR SOLENOID VALVE)
21934FGASKET
2152424231BRACKET(FOR DASH POT)
main21524-24231
2182124030SCREW, 2ND THROTTLE VALVE SET
main21821-24030
2182125010SCREW, 2ND THROTTLE VALVE SET
main21821-25010
2182131140SCREW, 2ND THROTTLE VALVE SET
main21821-31140
7188544010PLATE, REAR SEAT SIDE GARNISH EDGE
main71885-44010
9321915025
main93219-15025
9328915016
main93289-15016
9451100400
main94511-00400
9451100500
main94511-00500
44 parts on this diagram · 8 diagrams in section