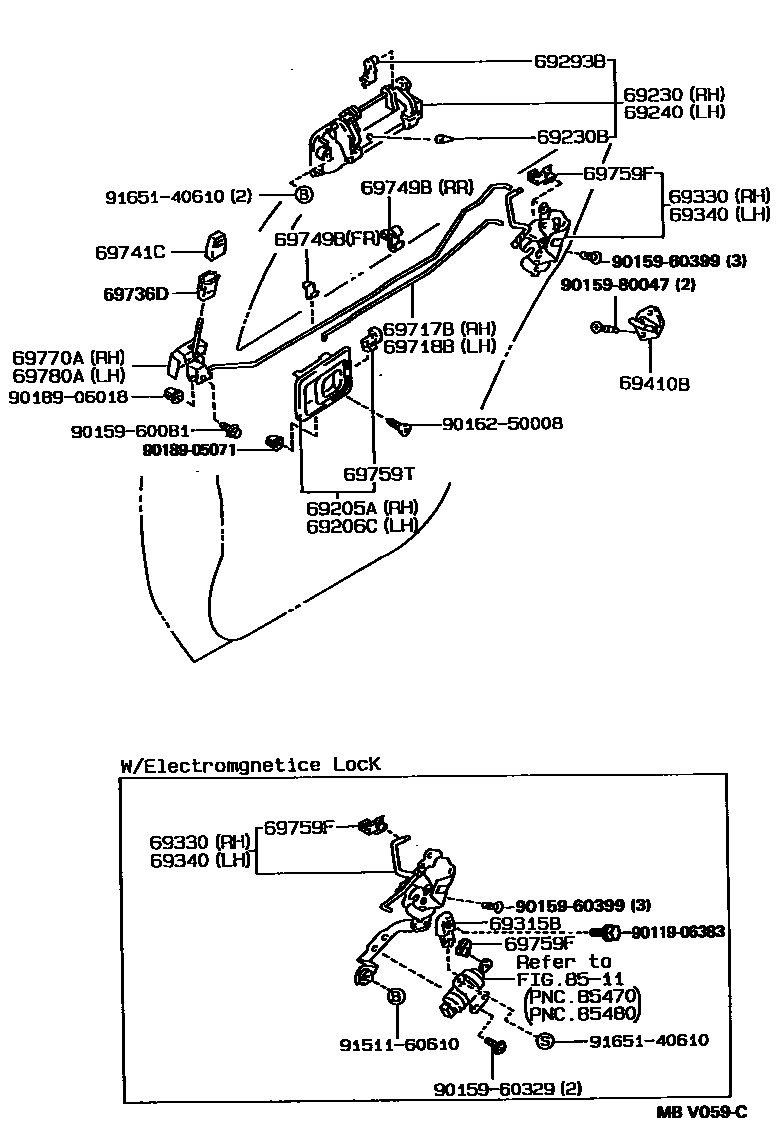
REAR DOOR LOCK & HANDLE

69205AHANDLE SUB-ASSY, REAR DOOR INSIDE, RH
GRAY,TRIM1#
BLUE,TRIM8#
SHADOW GRAY,TRIM1#
BLUE,TRIM8#
69206CHANDLE SUB-ASSY, REAR DOOR INSIDE, LH
SHADOW GRAY,TRIM1#
BLUE,TRIM8#
GRAY,TRIM1#
BLUE,TRIM8#
69230HANDLE ASSY, REAR DOOR OUTSIDE, RH
69230BCUSHION(FOR REAR DOOR OUTSIDE HANDLE)
69240HANDLE ASSY, REAR DOOR OUTSIDE, LH
69293BSNAP, REAR DOOR OUTSIDE HANDLE
RH
LH
69315BRETAINER, REAR DOOR LOCK SOLENOID
69330LOCK ASSY, REAR DOOR, RH
W(POWER WINDOW)
69340LOCK ASSY, REAR DOOR, LH
W(POWER WINDOW)
69410BPLATE ASSY, REAR DOOR LOCK STRIKER
69717BLINK, REAR DOOR LOCK REMOTE CONTROL, RH
69718BLINK, REAR DOOR LOCK REMOTE CONTROL, LH
69736DGUIDE, REAR DOOR LOCKING LINK
69741CKNOB, REAR DOOR LOCK CONTROL
GRAY,TRIM1#
DARK BLUE,TRIM8#
69749BCLAMP, REAR DOOR LOCK LINK
REAR
FRONT
69759FSNAP, REAR DOOR LOCK CONTROL LINK
RH,CREAM
W(POWER WINDOW),LH,YELLOW
W(POWER WINDOW),LH,RED
W(POWER WINDOW),RH,BLACK
69759TSNAP, REAR DOOR INSIDE HANDLE
RH
LH
69770ALINK ASSY, REAR DOOR INSIDE LOCKING, RH
69780ALINK ASSY, REAR DOOR INSIDE LOCKING, LH
8511DOOR MOTOR & DOOR SOLENOID
9011906383
main90119-06383
9015960081
main90159-60081
9015960329
main90159-60329
9015960399
main90159-60399
9015980047
main90159-80047
9016250008
main90162-50008
9018905071
main90189-05071
9018906018
main90189-06018
9151160610
main91511-60610
9165140610
main91651-40610
30 parts on this diagram · 1 diagram in section