E
EPC Data

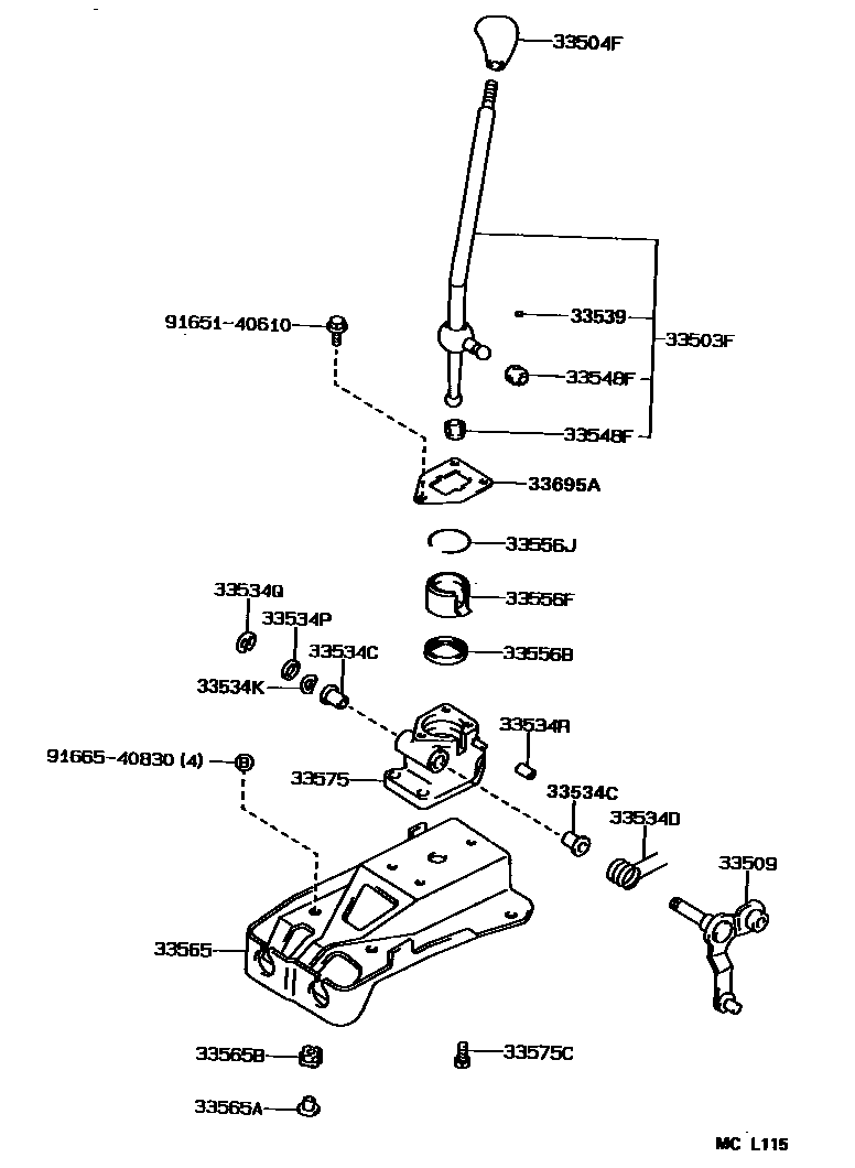
SHIFT LEVER & RETAINER

Parts diagram
33503FLEVER SUB-ASSY, SHIFT(FOR FLOOR SHIFT)
main33503-12402i199009-199109
main33503-12470i199009-199308
33504FKNOB SUB-ASSY, SHIFT LEVER
main33504-12180-J2i199109-199308
DARK BLUE,TRIM8#
main33504-12180-P0i199109-199308
SHADOW GRAY,TRIM1#
main33504-24010-B3i199009-199109
SHADOW GRAY,TRIM1#
main33504-24010-J0i199009-199109
DARK BLUE,TRIM8#
main33542-20090-B1i199009-199308
SHADOW GRAY,TRIM1#
main33542-20090-J0i199009-199308
DARK BLUE,TRIM8#
33509CRANK SUB-ASSY, SELECTING BELL, NO.1
main33509-12071i199009-199109
33534CBUSH (FOR SELECTING BELLCRANK NO.1)
main90386-12034×2i199009-199109
33534DSPRING, TORSION (FOR SELECTING BELLCRANK NO.1)
main90508-20084i199009-199109
33534KWASHER, WAVE (FOR SELECTING BELLCRANK NO.1)
main90206-12003i199009-199109
33534PWASHER, PLATE (FOR SELECTING BELLCRANK NO.1)
main90201-12052i199009-199109
33534QRING, E (FOR SELECTING BELLCRANK NO.1)
main96160-00900i199009-199109
33534RCUSHION (FOR SELECTING BELLCRANK NO.1)
main90540-06029i199009-199109
33539CUSHION, SHIFT LEVER ANTI-RATTLE
main33539-12010×2i199009-199109
33548FBUSH, NO.1, SHIFT LEVER (FOR FLOOR SHIFT)
main33548-12040×2i199009-199109
33556BBUSH (FOR TRANSMISSION SHIFT LEVER BALL SEAT)
main90385-34001i199009-199109
33556FSEAT, TRANSMISSION SHIFT LEVER BALL
main33556-20020i199009-199109
33556JRING, SHAFT SNAP (FOR TRANSMISSION SHIFT LEVER SEAT)
main90520-36018i199009-199109
33565PLATE, CONTROL SHIFT LEVER RETAINER
main33565-12030i199009-199109
33565ABUSH, NO.1 (FOR CONTROL SHIFT LEVER RETAINER PLATE)
main90389-08031×4i199009-199109
33565BBUSH, NO.2 (FOR CONTROL SHIFT LEVER RETAINER PLATE)
main90389-10020×4i199009-199109
33575RETAINER, CONTROL SHIFT LEVER (FOR FLOOR SHIFT)
main33575-12133i199009-199109
33575CBOLT (FOR CONTROL SHIFT LEVER RETAINER)
main90119-08622×3i199009-199109
33695ACOVER, SHIFT LEVER BALL
main33695-12031i199009-199109
9165140610
9166540830

22 parts on this diagram · 5 diagrams in section

SHIFT LEVER & RETAINER — Toyota Parts Diagram with OEM Numbers & Prices | EPC Data