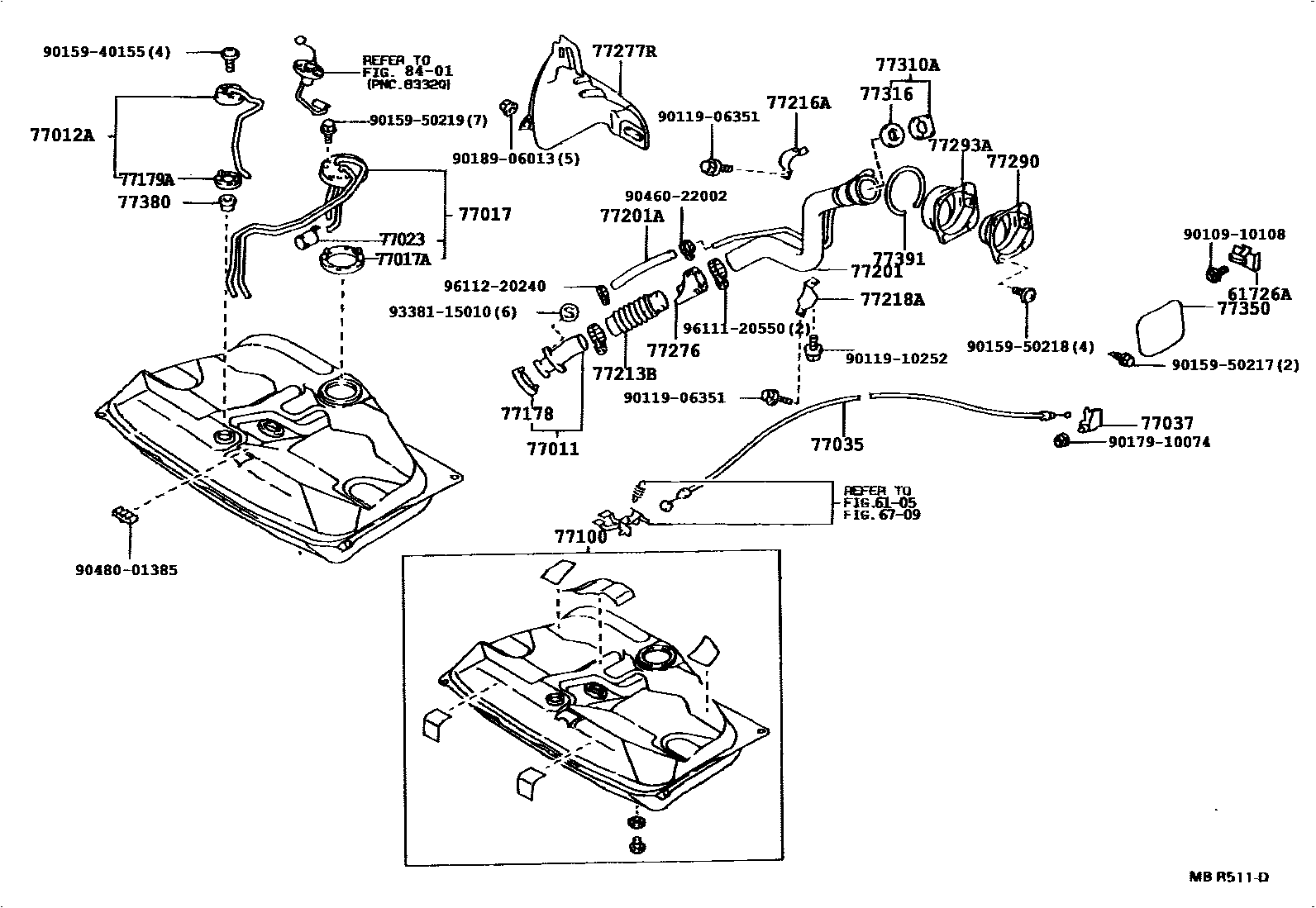
FUEL TANK & TUBE

6105LUGGAGE COMPARTMENT DOOR & LOCK
61726APLATE, FUEL INLET BOX COVER
6709BACK DOOR LOCK & HANDLE
77011PIPE SUB-ASSY, FUEL TANK FILLER, LOWER
77012ATUBE SUB-ASSY, FUEL TANK BREATHER, NO.1
77017TUBE SUB-ASSY, FUEL AND EVAPORATION VENT
77017AGASKET, FUEL TANK VENT
77023FILTER SUB-ASSY, FUEL SUCTION TUBE
77035CABLE SUB-ASSY, FUEL LID LOCK CONTROL
77037LOCK SUB-ASSY, FUEL FILLER OPENING LID
*86
77178GASKET, FUEL TANK FILLER PIPE, LOWER
77179AGASKET, FUEL TANK BREATHER TUBE
77201PIPE SUB-ASSY, FUEL TANK INLET
77201AHOSE, FUEL, NO.1(FOR FUEL TANK INLET PIPE)
L=220
77213BHOSE, FUEL TANK TO FILLER PIPE
77216ASUPPORT, FUEL TANK FILLER PIPE, NO.1
77218ASUPPORT, FUEL TANK FILLER PIPE, NO.3
77276PROTECTOR, FUEL HOSE
77277RPROTECTOR, FUEL TANK FILLER PIPE
77290SHIELD ASSY, FUEL TANK FILLER PIPE
77293ASHIELD, FUEL TANK FILLER PIPE, NO.3
77350LID ASSY, FUEL FILLER OPENING
77380VALVE ASSY, FUEL CUT OFF
77391RING, FUEL INLET BOX
8401SWITCH & RELAY & COMPUTER
9010910108
main90109-10108
9011906351
main90119-06351
9011910252
main90119-10252
9015940155
main90159-40155
9015950217
main90159-50217
9015950218
main90159-50218
9015950219
main90159-50219
9017910074
main90179-10074
9018906013
main90189-06013
9046022002
main90460-22002
9048001385
main90480-01385
9338115010
main93381-15010
9611120550
main96111-20550
9611220240
main96112-20240
42 parts on this diagram · 4 diagrams in section