E
EPC Data

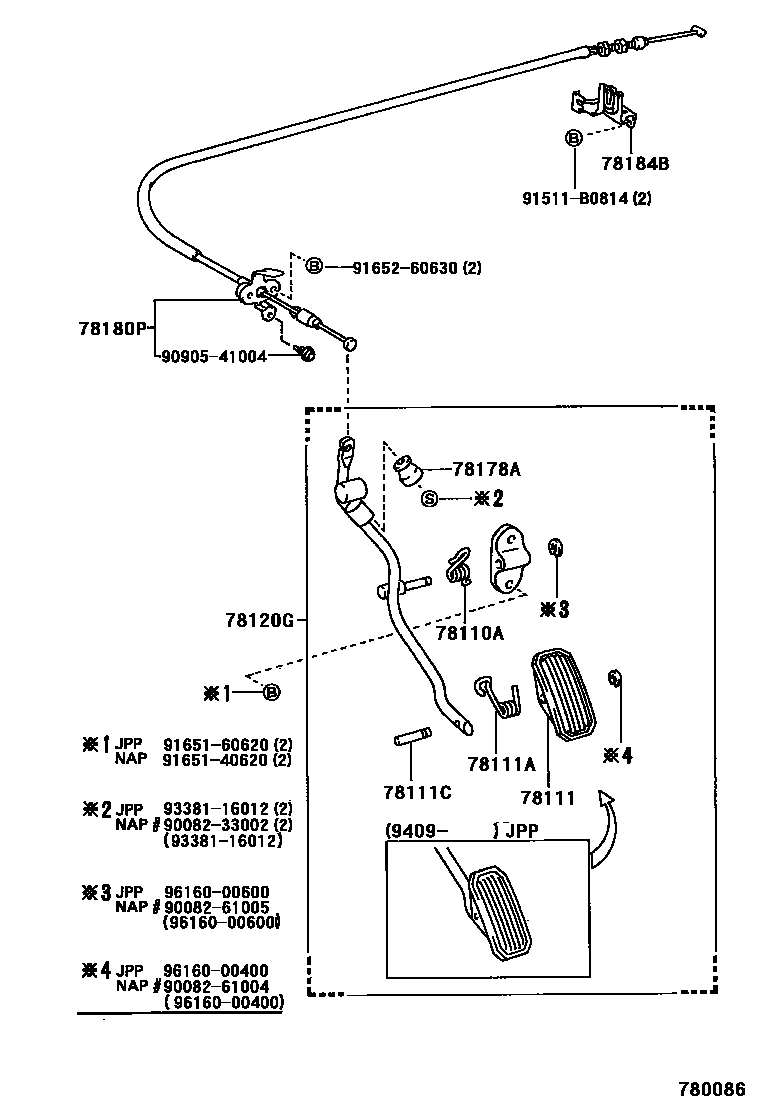
ACCELERATOR LINK

Parts diagram
78110ASPRING (FOR ACCELERATOR PEDAL ROD)
main90508-18025i199206-199302
main90508-26036i199206-199302
78111PEDAL, ACCELERATOR
main78111-32010i199206-199409
78111ASPRING (FOR ACCELERATOR PEDAL)
main90508-18050i199206-199302
main90959-03040i199302-199409
78111CPIN (FOR ACCELERATOR PEDAL)
main90249-05001i199206-199409
78120GROD ASSY, ACCELERATOR PEDAL
main78120-12180i199206-199302
main78120-12190i199206-199302
main78120-12210i199302-199409
main78120-12230i199409
78178ADAMPER, ACCELRATOR PEDAL ROD DYNAMIC
main78178-12030i199206-199302
78180PCABLE ASSY, ACCELERATOR CONTROL
main78180-02030i199605
main78180-1A520i199605-199608
78184BBRACKET, ACCELERATOR CONTROL CABLE
main78024-12040i199206-199411
main78024-12041i199411
9008233002
9008261004
9008261005
9090541004
91511B0814
9165140620
9165160620
9165260630
9338116012
9616000400
9616000600

19 parts on this diagram · 1 diagram in section

ACCELERATOR LINK — Toyota Parts Diagram with OEM Numbers & Prices | EPC Data