E
EPC Data

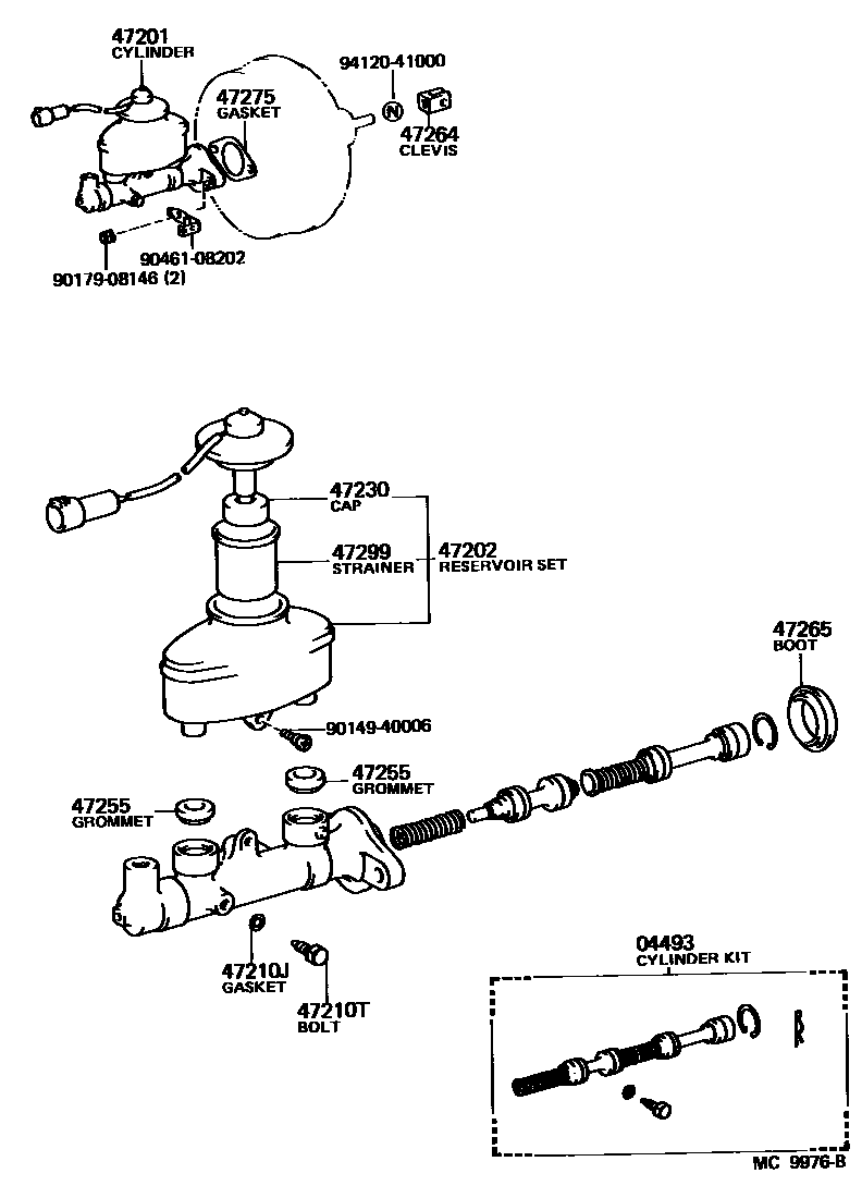
BRAKE MASTER CYLINDER

Parts diagram
04493CYLINDER KIT, BRAKE MASTER
main04493-12140i198308-198707
47201CYLINDER SUB-ASSY, BRAKE MASTER
main47201-12390i198308-198707
47202RESERVOIR SUB-ASSY, BRAKE MASTER CYLINDER
main47202-12310i198308-198707
47210JGASKET(FOR MASTER CYLINDER)
main90430-06104i198308-198707
47210TBOLT(FOR BRAKE MASTER CYLINDER)
main90109-06077i198308-198707
47230CAP ASSY, BRAKE MASTER CYLINDER RESERVOIR FILLER
main84460-12090i198308-198707
47255GROMMET, MASTER CYLINDER RESERVOIR
main47255-10010i198308-198707
47264CLEVIS, MASTER CYLINDER PUSH ROD
main47264-10080i198308-198707
47265BOOT, MASTER CYLINDER
main47265-20050i198308-198707
47275GASKET, BRAKE MASTER CYLINDER
main47275-14010i198308-198707
47299STRAINER, BRAKE MASTER CYLINDER RESERVOIR
main47299-32010i198308-198707
9014940006
9017908146
9046108202
9412041000

15 parts on this diagram · 1 diagram in section

BRAKE MASTER CYLINDER — Toyota Parts Diagram with OEM Numbers & Prices | EPC Data