OVERDRIVE & ELECTRONIC CONTROLLED TRANSMISSION

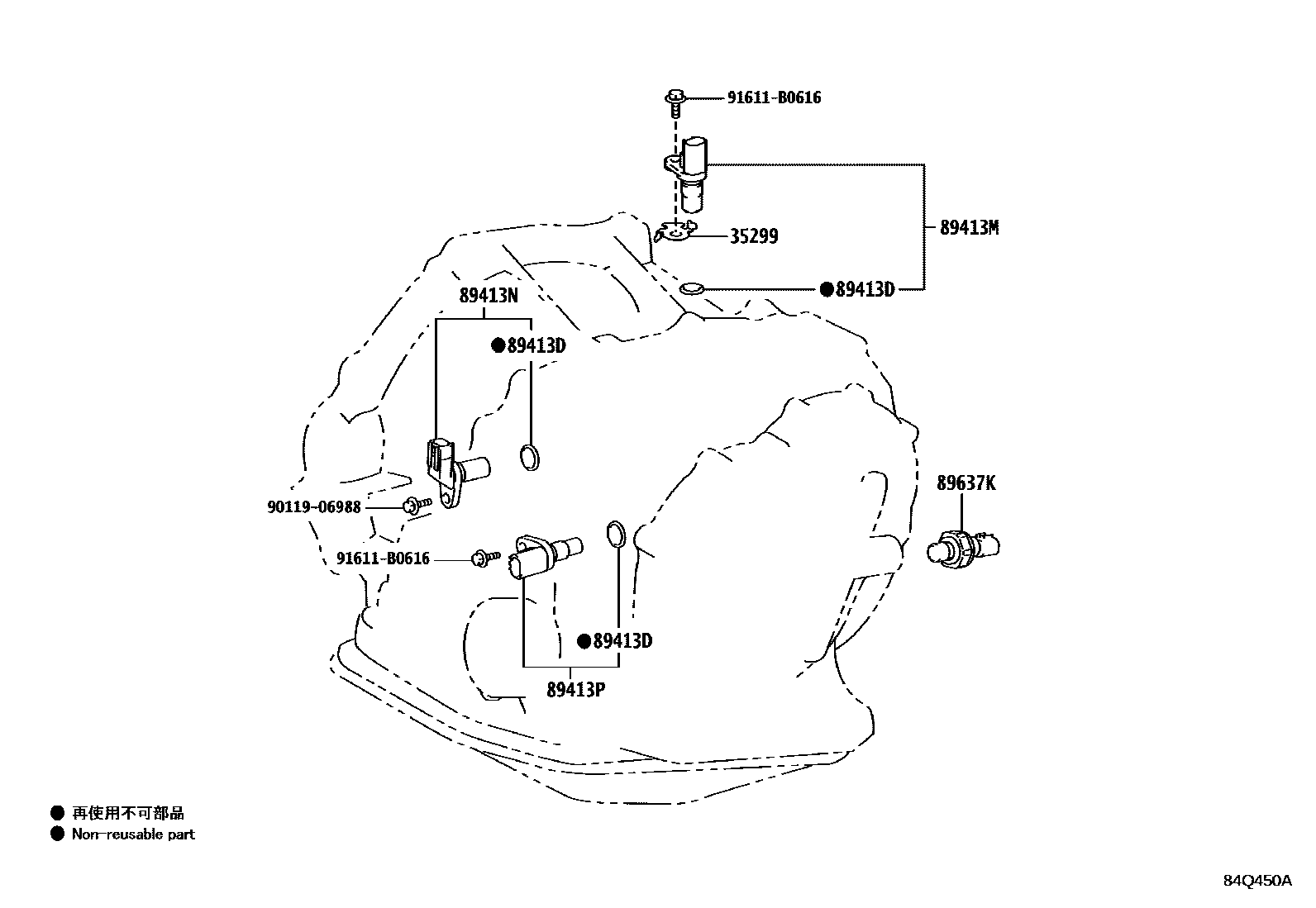
35299SPACER, TRANSMISSION REVOLUTION SENSOR
89413DRING, O(FOR TRANSMISSION REVOLUTION SENSOR)
89413MSENSOR, TRANSMISSION REVOLUTION, (NOUT)
89413NSENSOR, TRANSMISSION REVOLUTION, (NT)
89413PSENSOR, TRANSMISSION REVOLUTION, (NIN)
9011906988
main90119-06988
91611B0616
main91611-B0616
8 parts on this diagram · 3 diagrams in section