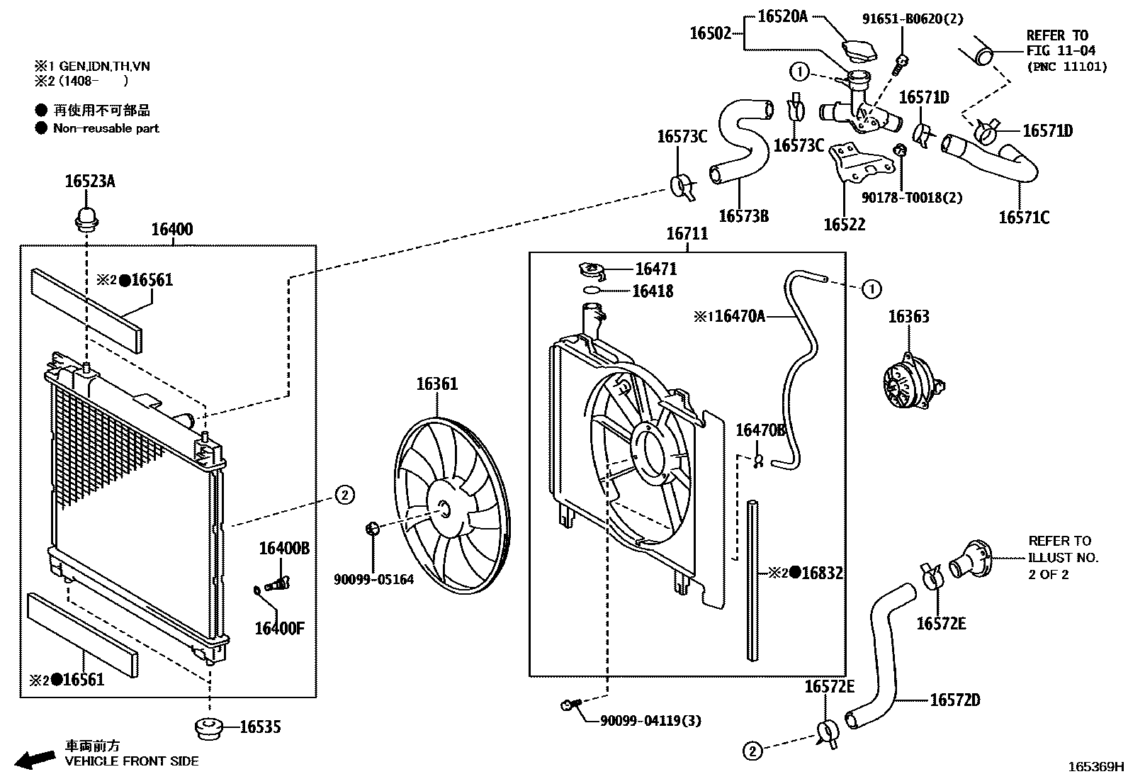
RADIATOR & WATER OUTLET

1104CYLINDER HEAD
16361FAN
16363MOTOR, COOLING FAN
16400RADIATOR ASSY
16400BPLUG, RADIATOR DRAIN COCK
16400FPACKING(FOR RADIATOR DRAIN COCK)
main16492-0L060i1NRFE..NSP150..5F..GCC..R..A;1NRFE..NSP150..CVT..GEN..G..A;2NRFE..NSP151..(GEN,TH,VN)..(A,E);1NRFE..NSP150..(GEN,VN)..(D,R)..(A,E)201708-202207
main16492-21050i1NRFE..NSP150..C;2NRFE..NSP151..(D,R)..C;2NRFE..NSP151..GCC..R..B;1NRFE..NSP150..CVT..GCC..B;2NRFE..NSP151..(GCC,IDN)..G201304-201712
16418PACKING
16470AHOSE OR PIPE(FOR RADIATOR RESERVE TANK)
main16377-0Y120i2NRFE..NSP151..5F..D..C;1NRFE..NSP150..CVT..D..C;1NRFE,2NRFE..NSP150,151..(G,R)..C201801-202207
16470BCLAMP OR CLIP(FOR RADIATOR RESERVE TANK HOSE)
16471CAP SUB-ASSY, RESERVE TANK
main16376-0M150i2NRFE..NSP151..5F..D..C;1NRFE..NSP150..CVT..D..C;1NRFE,2NRFE..NSP150,151..(G,R)..C201801-202207
16502FILLER SUB-ASSY, WATER
16520ACAP SUB-ASSY, WATER FILLER
16522BRACKET, WATER FILLER
16523ACUSHION, RADIATOR SUPPORT
(L)
(L)
(L)
(J)
16535SUPPORT, RADIATOR, LOWER
(L)
16561SEAL, RADIATOR TO SUPPORT, NO.1
16571CHOSE, RADIATOR, NO.1
main16571-0Y290i1NRFE..NSP150..CVT..C;2NRFE..NSP151..CVT..(D,R)..C;2NRFE..NSP151..CVT..(GCC,IDN)..G..C201701-201712
16571DCLIP, RADIATOR HOSE, NO.1
16572DHOSE, RADIATOR, NO.2
16572ECLIP, RADIATOR HOSE, NO.2
16573BHOSE, RADIATOR, NO.3
16573CCLAMP OR CLIP, RADIATOR HOSE, NO.3
16711SHROUD, FAN
main16711-0Y090i2NRFE..NSP151..5F..D..C;1NRFE..NSP150..CVT..D..C;1NRFE,2NRFE..NSP150,151..(G,R)..C201801-202207
16832SEAL, FAN SHROUD
9009904119
main90099-04119
9009905164
main90099-05164
90178T0018
main90178-T0018
91651B0620
main91651-B0620
28 parts on this diagram · 19 diagrams in section