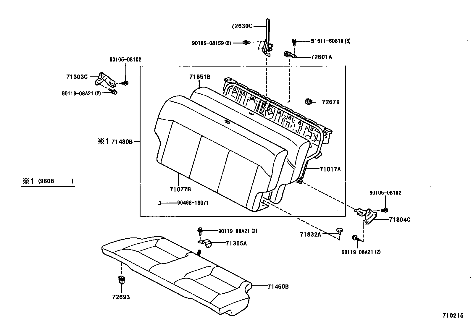
REAR SEAT & SEAT TRACK

71017AFRAME SUB-ASSY, REAR SEATBACK
71077BCOVER, REAR SEATBACK (FOR BENCH TYPE)
GRAY,TRIM1#
GRAY,TRIM1#
GRAY,TRIM1#
SHADOW GRAY,TRIM1#
71303CHINGE SUB-ASSY, REAR SEATBACK, RH
71304CHINGE SUB-ASSY, REAR SEATBACK, LH
71305AHINGE SUB-ASSY, REAR SEATBACK, CENTER
71460BCUSHION ASSY, REAR SEAT (FOR BENCH TYPE)
SHADOW GRAY,TRIM1#
SHADOW GRAY,TRIM1#
GRAY,TRIM1#
GRAY,TRIM1#
SHADOW GRAY,TRIM1#
71480BBACK ASSY, REAR SEAT (FOR BENCH TYPE)
SHADOW GRAY,TRIM1#
SHADOW GRAY,TRIM1#
***,SHADOW GRAY,TRIM1#
***,SHADOW GRAY,TRIM1#
71651BPAD, REAR SEATBACK(FOR BENCH TYPE)
71832ACLIP, REAR SEATBACK CARPET OR MAT
BLACK,TRIM1#
BLACK,TRIM1#
72601ASTRIKER SUB-ASSY, REAR SEATBACK LOOK, RH
72630CLOCK ASSY, REAR SEATBACK, RH
BLUISH GRAY,TRIM1#
BLUISH GRAY,TRIM1#
BLUISH GRAY,TRIM1#
72679BEZEL, REAR SEATBACK LOCK CONTROL
BLACK,TRIM1#
72693HOOK, REAR SEAT CUSHION LOCK
9010508102
main90105-08102
9010508159
main90105-08159
9011908A21
main90119-08A21
9046818071
main90468-18071
9161160816
main91611-60816
18 parts on this diagram · 2 diagrams in section