E
EPC Data

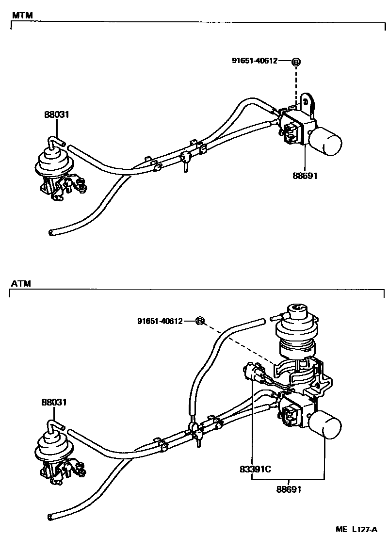
HEATING & AIR CONDITIONING - VACUUM PIPING

Parts diagram
83391CSWITCH, COOLER VACUUM
main83391-16160i198808-199009
88031ACTUATOR SET, IDLE-UP
main88031-16080i198908-199009
88691VALVE, MAGNET (FOR IDLE UP DEVICE)
main88690-16151i198808-199009
main88690-16221i198808-199009
main88690-16330i198908-199009
main88691-16050i198808-199009
9165140612

4 parts on this diagram · 3 diagrams in section

HEATING & AIR CONDITIONING - VACUUM PIPING — Toyota Parts Diagram with OEM Numbers & Prices | EPC Data