HEATING & AIR CONDITIONING - VACUUM PIPING

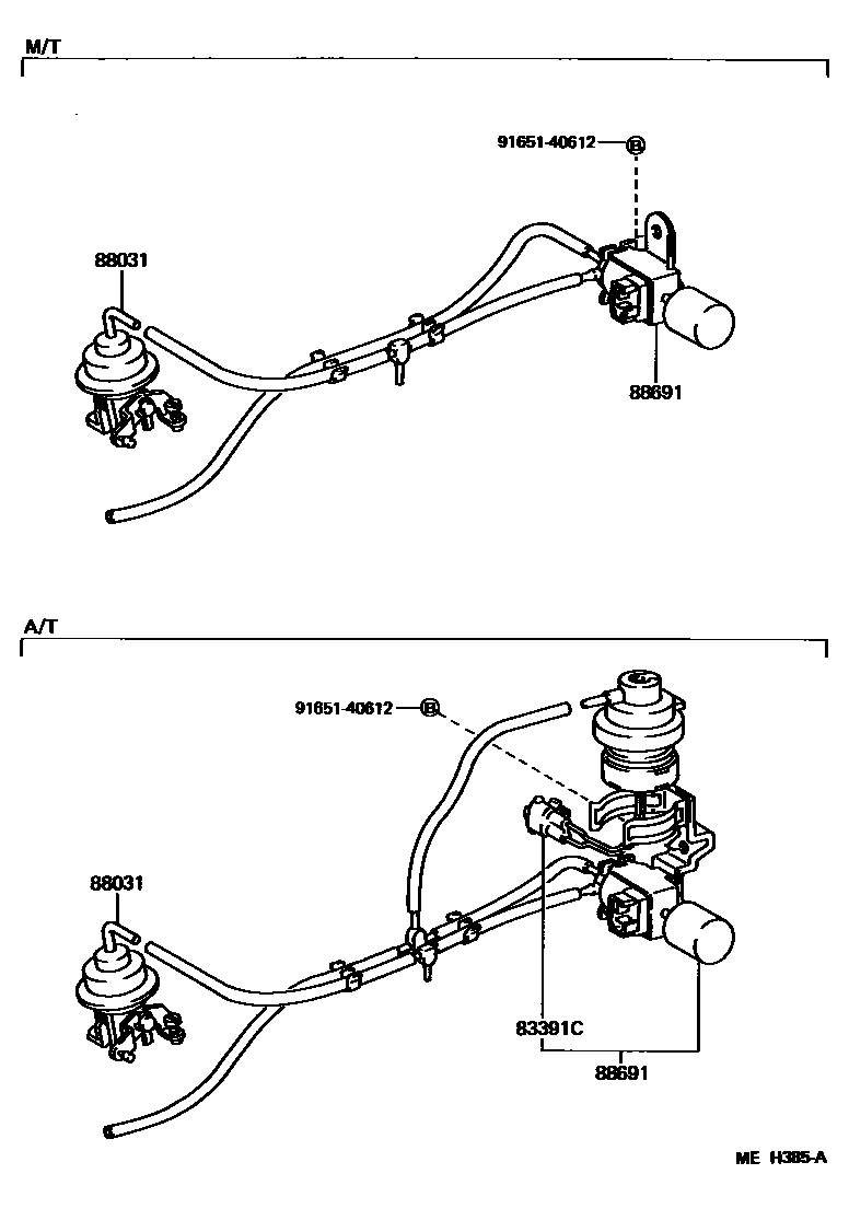
83391CSWITCH, COOLER VACUUM
88031ACTUATOR SET, IDLE-UP
88691VALVE, MAGNET (FOR IDLE UP DEVICE)
W/SUB CONDENSER
9165140612
main91651-40612
4 parts on this diagram · 2 diagrams in section

4 parts on this diagram · 2 diagrams in section