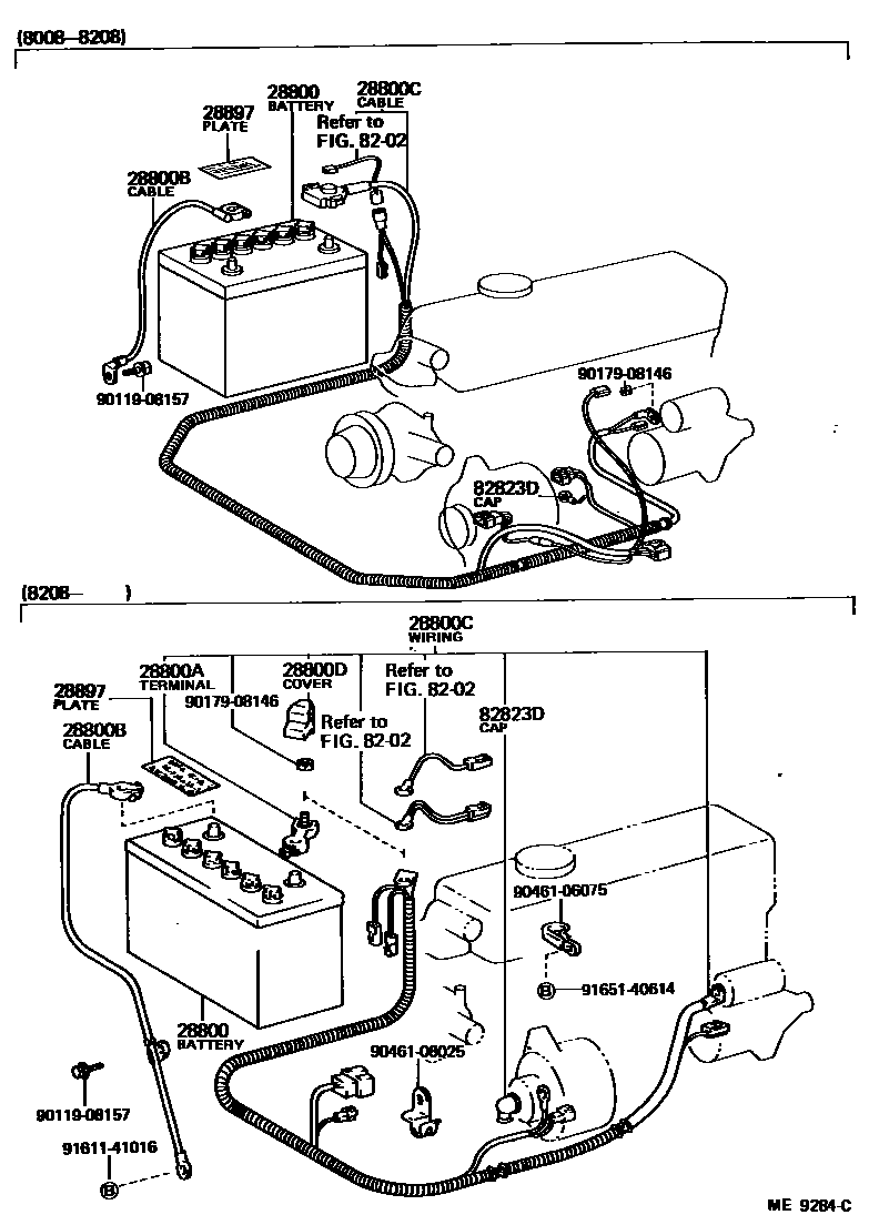
BATTERY & BATTERY CABLE

28800BATTERY
50D20R,50D20R(12V 50AH-20HR)
50D20R,50D20R-MF(12V 50AH-20HR)
28800ATERMINAL, BATTERY POSITIVE
28800BCABLE, BATTERY TO GROUND
28800CCABLE, BATTERY TO STARTER(FOR BATTERY TO MAIN SWITCH)
W/IC REGULATOR
W/IC REGULATOR
W/IC REGULATOR
STARTER=12V 1.0KW
STARTER=12V 0.8KW
28800DCOVER, CONNECTOR(FOR BATTERY TERMINAL)
28897PLATE, BATTERY CAUTION
8202WIRING & CLAMP
82823DCAP, TERMINAL
9011908157
main90119-08157
9017908146
main90179-08146
9046106075
main90461-06075
9046108025
main90461-08025
9161141016
main91611-41016
9165140614
main91651-40614
14 parts on this diagram · 1 diagram in section