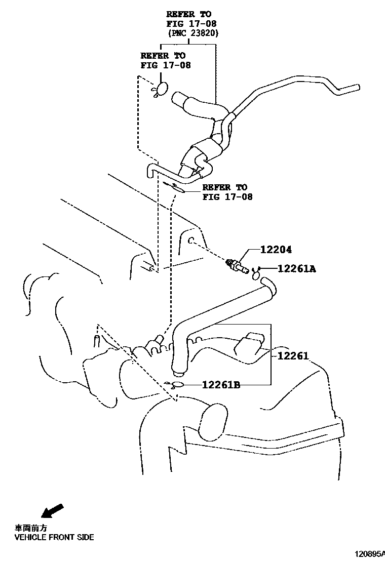
VENTILATION HOSE

12204VALVE SUB-ASSY, VENTILATION
12261HOSE, VENTILATION
12261ACLIP OR CLAMP(FOR VENTILATION HOSE)
12261BCLIP OR CLAMP(FOR VENTILATION HOSE)
1708VACUUM PIPING
5 parts on this diagram · 1 diagram in section

5 parts on this diagram · 1 diagram in section