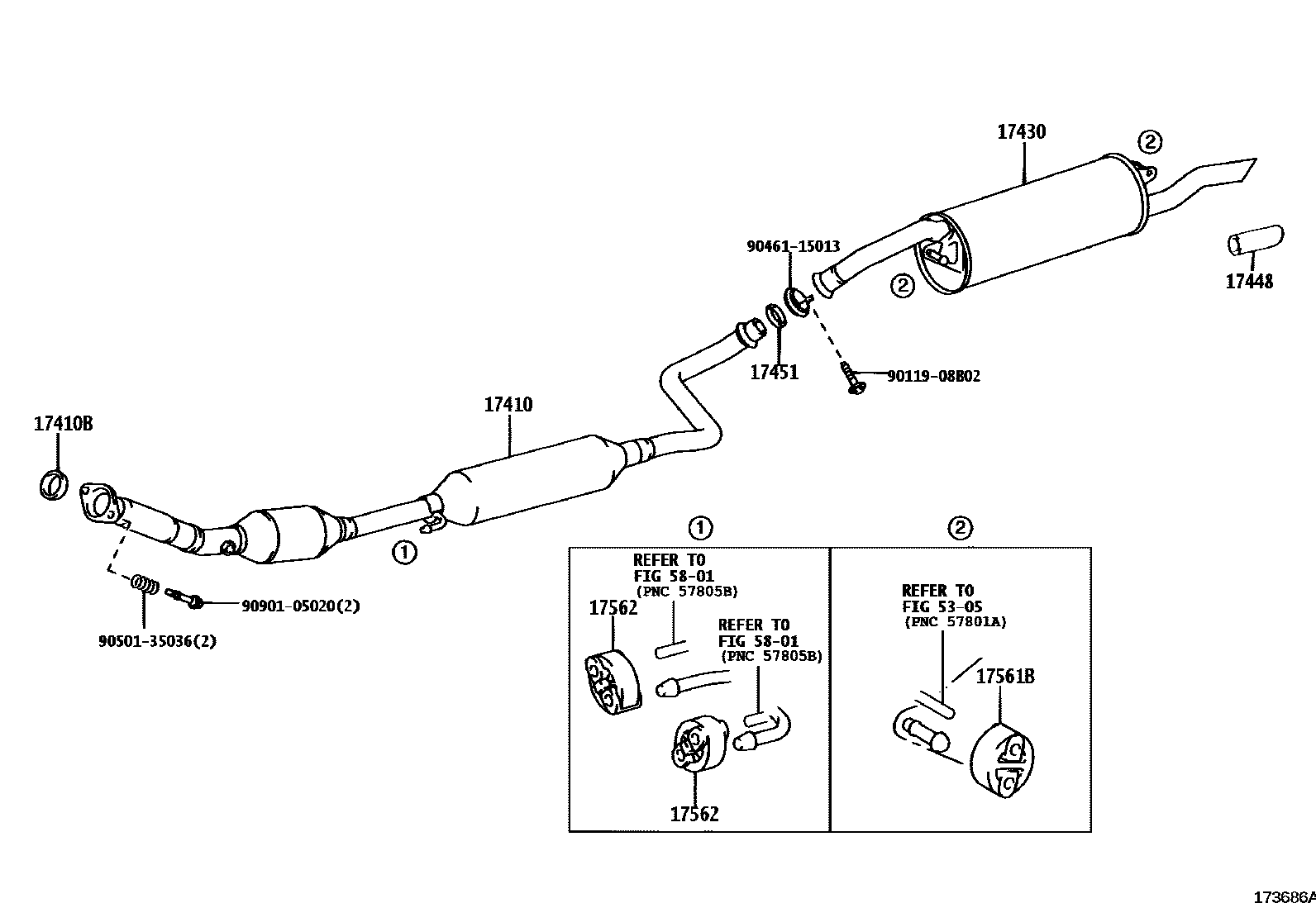
EXHAUST PIPE

17410PIPE ASSY, EXHAUST, FRONT
*115=TOYOTA/02-/Y
*114=TOYOTA/T67/Y
17410BGASKET, EXHAUST PIPE
17430PIPE ASSY, EXHAUST, TAIL
17448BAFFLE, TAILPIPE
17451GASKET, EXHAUST PIPE
17561BSUPPORT, EXHAUST PIPE, NO.1
17562SUPPORT, EXHAUST PIPE, NO.2
5305FLOOR SIDE MEMBER
5801FLOOR PAN & LOWER BACK PANEL
9011908B02
main90119-08B02
9046115013
main90461-15013
9050135036
main90501-35036
9090105020
main90901-05020
13 parts on this diagram · 1 diagram in section