E
EPC Data

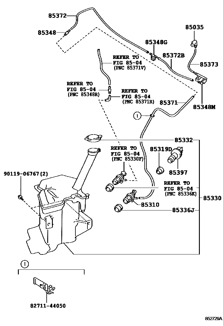
WINDSHIELD WASHER

Parts diagram
85035NOZZLE SUB-ASSY, WASHER
main85381-52370i201108-201203
main85381-52371i201204-201210
main85381-52470i201211-201401
main85381-52471i201402-201407
8504
85310MOTOR AND PUMP ASSY, WINDSHIELD WASHER
main85340-48010supersedes 85330-21010i201108
COLD AREA SPEC
85319DPACKING, FRONT WASHER
main85319-33230i201108
COLD AREA SPEC
85330JAR ASSY, WINDSHIELD WASHER
main85315-52340i201108
COLD AREA SPEC
main85315-52330supersedes 85315-52300i201108
REAR WINDOW WIPER-WITHOUT
main85315-52350supersedes 85315-52300i201108
COLD AREA SPEC&REAR WINDOW WIPER-WITHOUT
85332CAP, WINDSHIELD WASHER JAR
main85316-16070supersedes 85316-10270i201108
COLD AREA SPEC
85336JPROTECTOR, WASHER JAR
main85336-60300i201108
85348JOINT, WINDSHIELD WASHER HOSE, NO.1
main85349-89122i201108
85348GJOINT, WINDSHIELD WASHER HOSE, NO.2
main85371-52070i201108
85348MJOINT, WINDSHIELD WASHER HOSE, NO.3
main85385-52200i201108
85371HOSE, WINDSHIELD WASHER (FROM MOTOR TO JOINT)
main90099-33080supersedes 90099-33080i201108
L=1450(*H,L=740),REAR WINDOW WIPER-WITHOUT
85372HOSE, WINDSHIELD WASHER (FROM JOINT TO JOINT), NO.1
main90099-33080i201108
L=1450(*H,L=920)
85372BHOSE, WINDSHIELD WASHER (FROM JOINT TO JOINT), NO.2
main90099-33080i201108
L=1450(*H,L=290)
85373HOSE, WINDSHIELD WASHER (FROM JOINT TO NOZZLE)
main90099-33080i201108-201304
L=1450(*H,L=150)
85397SWITCH ASSY,LEVEL WARNING
main85397-30400i201108
COLD AREA SPEC
8271144050WIRE, FUSE TO FUSE(FOR COMBUSTION HEATER)
9011906767

17 parts on this diagram · 3 diagrams in section

WINDSHIELD WASHER — Toyota Parts Diagram with OEM Numbers & Prices | EPC Data