E
EPC Data

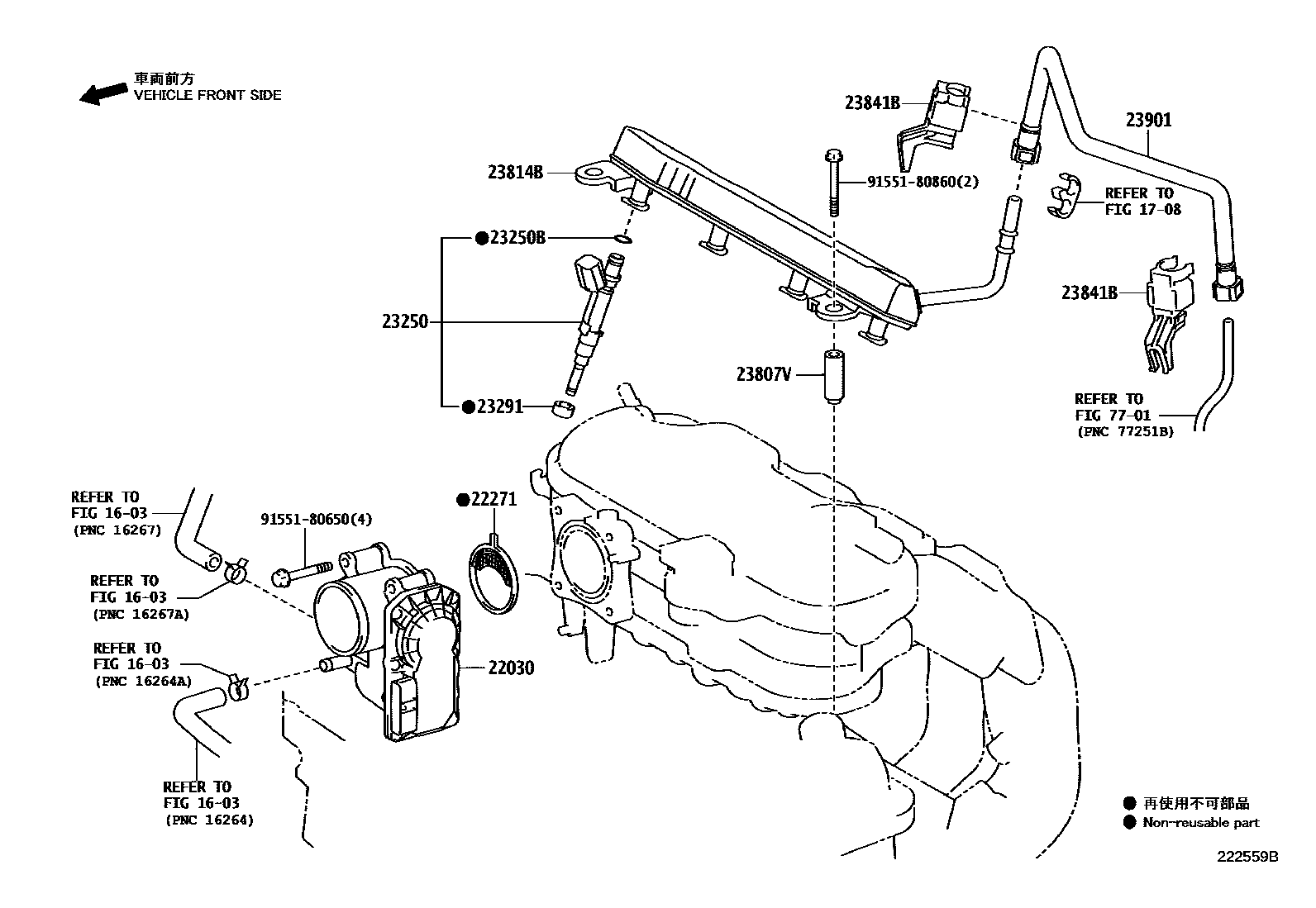
FUEL INJECTION SYSTEM

Parts diagram
1603RADIATOR & WATER OUTLET
1708VACUUM PIPING
22030BODY ASSY, THROTTLE W/THROTTLE POSITION SENSOR
main22030-47020i201107-201506
22271GASKET, THROTTLE BODY
main22271-47020i201107-201506
23250INJECTOR ASSY, FUEL
main23209-49205×4i201107-201506
23250BRING, O(FOR FUEL INJECTOR)
main90301-07042×4i201107-201506
23291INSULATOR, INJECTOR VIBRATION
main23291-23010×4i201107-201506
23807VSPACER, NO.1(FOR DELIVERY PIPE)
main23891-47010×2i201107-201302
main23891-47030×2i201302-201506
23814BPIPE, FUEL DELIVERY
main23814-47020i201107-201109
main23814-47050i201109-201506
23841BCLAMP, FUEL PIPE, NO.1(FOR EFI)
main23841-36010×2i201107-201506
23901TUBE SUB-ASSY, FUEL
main23901-47050i201107-201507
7701FUEL TANK & TUBE
9155180650
9155180860

14 parts on this diagram · 1 diagram in section

FUEL INJECTION SYSTEM — Toyota Parts Diagram with OEM Numbers & Prices | EPC Data