E
EPC Data

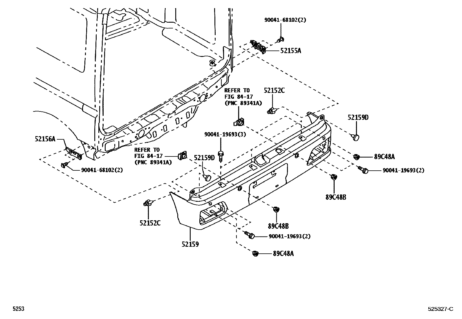
REAR BUMPER & BUMPER STAY

Parts diagram
52152CCLIP, REAR BUMPER SIDE
main90044-67526×2i202112
52155ASUPPORT, REAR BUMPER SIDE, RH
main52155-B5040i202112
52156ASUPPORT, REAR BUMPER SIDE, LH
main52156-B5040i202112
52159COVER, REAR BUMPER
main52159-B5210i202112
main52159-B5220-A0i202112
main52159-B5220-A1i202112
WHITE PEARL SE.,W25
main52159-B5220-B0i202112
main52159-B5220-C0i202112
main52159-B5220-D0i202112
main52159-B5220-G0i202112
52159DCLIP, REAR BUMPER COVER
main90044-68381×2i202112
8417CLEARANCE & BACK SONAR
89C48ARETAINER, ULTRASONIC SENSOR, REAR CORNER
main89348-B1070×2i202112
main89348-B2050-A0×2i202112
main89348-B2050-A1×2i202112
WHITE PEARL SE.,W25
main89348-B2050-B0×2i202112
main89348-B2050-C0×2i202112
main89348-B2050-D4×2i202112
main89348-B2050-G0×2i202112
89C48BRETAINER, ULTRASONIC SENSOR, REAR CENTER
main89348-B1070×2i202112
main89348-B2050-A0×2i202112
main89348-B2050-A1×2i202112
WHITE PEARL SE.,W25
main89348-B2050-B0×2i202112
main89348-B2050-C0×2i202112
main89348-B2050-D4×2i202112
main89348-B2050-G0×2i202112
9004119693
9004168102

10 parts on this diagram · 1 diagram in section

REAR BUMPER & BUMPER STAY — Toyota Parts Diagram with OEM Numbers & Prices | EPC Data