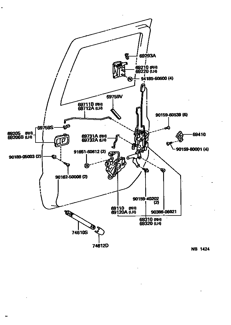
FRONT DOOR LOCK & HANDLE

69110ACTUATOR ASSY, FRONT DOOR LOCK, RH
69120AACTUATOR ASSY, FRONT DOOR LOCK, LH
69205HANDLE SUB-ASSY, FRONT DOOR INSIDE, RH
GRAY,TRIM1#
69206BHANDLE SUB-ASSY, FRONT DOOR INSIDE, LH
GRAY,TRIM1#
69210HANDLE ASSY, FRONT DOOR, OUTSIDE RH
69220HANDLE ASSY, FRONT DOOR OUTSIDE, LH
69310LOCK ASSY, FRONT DOOR, RH
BLACK,TRIM1#
69320LOCK ASSY, FRONT DOOR, LH
BLACK,TRIM1#
69410PLATE ASSY, FRONT DOOR LOCK STRIKER
69711BLINK, FRONT DOOR LOCK REMOTE CONTROL, RH
69712ALINK, FRONT DOOR LOCK REMOTE CONTROL, LH
69731ALINK, FRONT DOOR INSIDE LOCKING, NO.1 RH
69732ALINK, FRONT DOOR INSIDE LOCKING, NO.1 LH
69759VSILENCER, FRONT DOOR LOCK LINK
74610SGRIP ASSY, ASSIST
LT.BLUISH GRAY,TRIM1#
74612DCOVER, ASSIST GRIP
LT.BLUISH GRAY,TRIM1#
9015940202
main90159-40202
9015960539
main90159-60539
9015980001
main90159-80001
9016250008
main90162-50008
9018905003
main90189-05003
9038606021
main90386-06021
9165160612
main91651-60612
9418560600
main94185-60600
26 parts on this diagram · 1 diagram in section