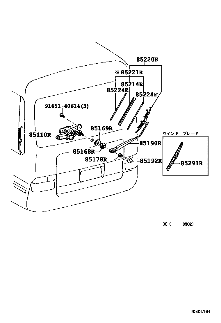
REAR WIPER

85168RNUT, REAR WIPER LINK PIVOT, NO.1
main90099-05157iHZB40..4FC..IV5;HZB40,50..(26S,29S)..CBU;BB40,5#,HDB5#,HZB41..(15S,20S,26S,29S)..(CBU,IV5)199301-201501
85169RWASHER, REAR WIPER LINK PIVOT, NO.1
85178RNUT (FOR REAR WIPER ARM SETTING)
main90179-06070iHZB40..4FC..IV5;HZB40,50..(26S,29S)..CBU;BB40,5#,HDB5#,HZB41..(15S,20S,26S,29S)..(CBU,IV5)199301-200008
sub90179-06159
85190RARM ASSY, REAR WIPER
sub85241-36011
main85241-36011iHZB40..4FC..IV5;HZB40,50..(26S,29S)..CBU;BB40,58,HDB5#,HZB41..(20S,26S,29S)..(CBU,IV5)199705-201501
85192RCOVER, REAR WIPER ARM
85220RBLADE ASSY, REAR WIPER
sub85242-60060
main85242-60050iHZB40..4FC..IV5;HZB40,50..(26S,29S)..CBU;BB40,58,HDB5#,HZB41..(20S,26S,29S)..(CBU,IV5)199705-201501
85221RBLADE, REAR WIPER
sub85214-20340
85224EPLATE, REAR WIPER RUBBER BACKING, NO.1
85224FPLATE, REAR WIPER RUBBER BACKING, NO.2
main85224-10200iHZB40..4FC..IV5;HZB40,50..(26S,29S)..CBU;BB40,58,HDB5#,HZB41..(20S,26S,29S)..(CBU,IV5)199705-201501
85291RBLADE,REAR WIPER, WINTER
main85291-44080iXZB50..29S..WC..(5F,6FC)..CBU;BZB40,50,XZB40,51..(26S,29S)..(5F,6FC)..CBU200408-201501
sub85291-44080
9165140614
main91651-40614
13 parts on this diagram · 1 diagram in section