E
EPC Data

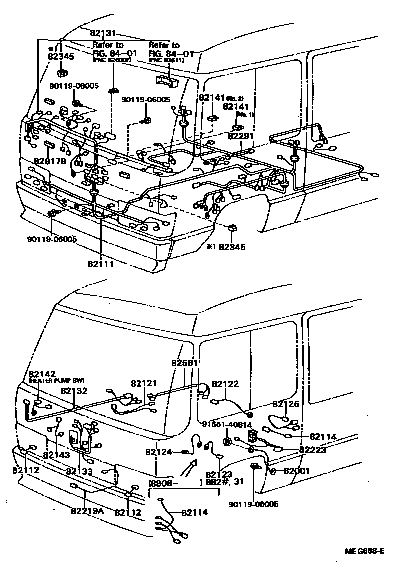
WIRING & CLAMP

Parts diagram
82001CABLE, BOND, NO.1
main90980-07200i198205-199301
IG COIL
82111WIRE, ENGINE ROOM MAIN
main82111-36020i199011-199301
main82111-36030i199011-199301
main82111-36040i199011-199301
main82111-36110i199103-199301
CAMPING CAR
main82111-90505i198408-198510
RENTAL CAR; W/*CH; W/*CH & *AUD
main82111-90506i198408-198510
*COS & W/*AUD;W/*AUD
main82111-90508i198408-198510
main82111-90509i198408-198510
W/*AUD & *CH;W/*CH
main82111-90510i198408-198510
*COS & W/*AUD;W/*AUD
main82111-90511i198408-198510
main82111-90512i198408-198510
W/*AUD OR *CH;W/*AUD & (*COS OR *CH)
main82111-90513i198408-198510
main82111-90514i198408-198510
W/*AUD & (*COS OR *CH);*COS; W/*CH
main82111-90515i198408-198510
W/*AUD
main82111-90516i198408-198510
main82111-90517i198408-198510
main82111-90530i198510-198708
W/*CH
main82111-90532i198510-198708
W/*AUD(W/O *CH)
main82111-90533i198510-198708
main82111-90534i198510-198603
W/*AUD(W/O AUTO COOLER);W/*CH(W/O AUTO COOLER)
main82111-90535i198510-198603
W/AUTO COOLER
main82111-90536i198510-198603
main82111-90537i198510-198603
W/*AUD OR *CH
main82111-90538i198510-198603
main82111-90540i198510-198708
W/*AUD(W/O AUTO COOLER);W/*CH(W/O AUTO COOLER)
main82111-90541i198510-198708
W/AUTO COOLER
main82111-90542i198510-198708
main82111-90543i198510-198708
*COS; W/*AUD & *CH;W/*AUD & *COS; W/*CH ONLY
main82111-90544i198510-198708
W/*AUD ONLY
main82111-90545i198510-198708
main82111-90546i198510-198708
main82111-90553i198510-198603
W/*AUD OR *CH(W/O AUTO COOLER)
main82111-90554i198510-198603
W/AUTO COOLER
main82111-90555i198510-198603
main82111-90556i198510-198610
W/*AUD & *CH
main82111-90557i198510-198610
W/*CH(W/O *AUD)
main82111-90558i198510-198610
W/*AUD(W/*CH)
main82111-90559i198510-198610
*COS OR *EB OR *FH; *COS OR W/*RWD(W/O *CH); W/*EB OR *FH(W/O *CH); W/SUB FUEL TANK(W/O *CH)
main82111-90560i198510-198610
main82111-90578i198603-198708
W/*AUD(W/O AUTO COOLER);W/*CH(W/O AUTO COOLER)
main82111-90579i198603-198708
W/AUTO COOLER
main82111-90580i198603-198708
main82111-90581i198603-198708
W/*AUD OR *CH
main82111-90582i198603-198610
main82111-90583i198603-198610
W/*AUD OR *CH(W/O AUTO COOLER)
main82111-90584i198603-198610
W/AUTO COOLER
main82111-90585i198603-198610
main82111-90745i198610-198708
main82111-90751i198611-198708
W/*AUD OR *CH(W/O AUTO COOLER)
main82111-90752i198611-198708
W/AUTO COOLER
main82111-90753i198611-198708
main82111-90754i198611-198708
W/*AUD & *CH
main82111-90755i198611-198708
W/*CH(W/O *AUD)
main82111-90756i198611-198708
W/*AUD(W/*CH)
main82111-90757i198610-198611
W/*AUD OR *CH(W/O AUTO COOLER)
main82111-90758i198610-198611
W/AUTO COOLER
main82111-90759i198610-198611
main82111-90760i198610-198611
W/*AUD & *CH
main82111-90761i198610-198611
W/*CH(W/O *AUD)
main82111-90762i198610-198611
W/*AUD(W/*CH)
main82111-90763i198610-198611
*COS OR *EB OR *FH; *COS OR W/*RWD(W/O *CH); W/*EB OR *FH(W/O *CH); W/SUB FUEL TANK(W/O *CH)
main82111-90764i198610-198611
main82111-90769i198611-198708
*COS OR *EB OR *FH; *COS OR W/*RWD(W/O *CH); W/*EB OR *FH(W/O *CH); W/SUB FUEL TANK(W/O *CH)
main82111-90780i198611-198708
main82111-90B00i198205-198302
COLD SPEC
main82111-90B01i198205-198302
main82111-90B05i198408-198510
main82111-90B10i198205-198310
W/*AUD
main82111-90B11i198708-199301
W/*AUD(W/O AUTO COOLER)
main82111-90B12i198205-198310
W/*CH,W/*CH & *AUD
main82111-90B13i198205-198310
W/*AUD
main82111-90B14i198205-198408
main82111-90B15i198205-198310
W/*CH; W/*CH,W/*CH & *AUD
main82111-90B16i198205-198310
W/*AUD
main82111-90B18i198205-198310
COLD SPEC; W/*CH; W/*CH & *AUD
main82111-90B19i198205-198310
W/*CH OR *AUD
main82111-90B20i198205-198408
main82111-90B21i198205-198408
main82111-90B22i198708-198808
W/*CH(W/O *AUD)
main82111-90B28i198205-198302
W/*AUD
main82111-90B29i198205-198302
main82111-90B30i198205-198302
W/*CH & *AUD
main82111-90B31i198205-198302
W/*CH
main82111-90B32i198205-198302
W/*CH OR *AUD
main82111-90B33i198302-198310
W/*AUD
main82111-90B35i198302-198408
main82111-90B36i198302-198408
W/*CH
main82111-90B37i198302-198310
W/*CH OR *AUD
main82111-90B38i198302-198408
COLD SPEC
main82111-90B39i198302-198408
main82111-90B42i198305-198310
RENTA CAR SPEC,PACKAGE 1
main82111-90B60i198310-198408
W/*AUD
main82111-90B61i198310-198408
W/*CH,W/*CH & *AUD
main82111-90B62i198310-198401
RENTA CAR SPEC,PACKAGE 2 OR 3; W/*AUD
main82111-90B63i198310-198401
W/*CH; W/*CH,W/*CH & *AUD
main82111-90B64i198310-198408
W/*AUD
main82111-90B65i198310-198408
COLD SPEC; W/*CH; W/*CH OR COLD SPEC
main82111-90B66i198310-198408
W/*CH OR *AUD
main82111-90B71i198310-198408
W/*AUD
main82111-90B72i198310-198408
W/*CH & *AUD
main82111-90B73i198310-198401
W/*CH OR *AUD
main82111-90B74i198310-198401
RENTA CAR SPEC,PACKAGE 1
main82111-90B81i198401-198408
RENTA CAR SPEC,PACKAGE 2 OR 3; W/*AUD
main82111-90B82i198401-198408
W/*CH; W/*CH,W/*CH & *AUD
main82111-90B83i198401-198408
W/*CH OR *AUD
main82111-90B84i198401-198408
RENTA CAR SPEC,PACKAGE 1
main82111-90B90i198408-198510
W/*AUD & (*COS OR *EB OR *CH);W/*FH & (*AUD OR *CH);W/*EB & *AUD & (*CH OR *FH);W/*AUD OR *CH;*COS & *EB & *AUD & *FH;W/*EB & *CH;*EB & *AUD & *CH & *FH;W/*COS & *EB & (*AUD OR *FH);W/*CH & *FH & (*EB OR *AUD)
main82111-90B91i198408-198510
main82111-90B92i198408-198510
W/*EB & *AUD & (*CH OR *FH);W/*AUD & *CH;W/*EB & *AUD & *CH & *FH
main82111-90B93i198408-198510
W/*CH & (*EB OR *FH);W/*CH;W/*EB & *CH & *FH
main82111-90B94i198408-198510
W/*EB & *AUD & *FH;*COS & W/*EB & (*AUD OR *FH);*COS & W/*EB & *AUD & *FH;W/*AUD &*FH;W/*AUD;W/*AUD & (*COS OR *EB)
main82111-90B95i198408-198510
*COS; *COS & W/*EB & *FH; W/*EB & (*COS OR *FH);*COS OR *EB OR *FH;*COS & W/*EB & *FH; W/*EB OR *FH;W/*EB & (*COS OR *FH)
main82115-90507i198904-198908
CAMPING CAR
main82115-90508i198904-198906
YU-YU SALOON
main82115-90509i198906-198908
YU-YU SALOON
main82115-90511i198908-199001
CAMPING CAR
main82115-90512i199001-199301
W/*CH
main82115-90513i199001-199301
W/*AUD&AUTO COOLER; W/*AUD(W/O *CH)
main82115-90514i199001-199301
W/AUTO COOLER
main82115-90515i199001-199301
W/*AUD(W/O AUTO COOLER); W/*CH(W/O AUTO COOLER)
main82115-90516i199001-199301
main82115-90517i199001-199301
W/*AUD OR *CH
main82115-90518i199001-199301
main82115-90524i199001-199301
main82115-90528i199001-199301
W/*AUD(W/O AUTO COOLER)
main82115-90529i199001-199301
W/AUTO C00LER
main82115-90530i199001-199301
main82115-90531i199001-199301
*COS; W/*AUD & *CH;W/*AUD & *COS; W/*CH ONLY
main82115-90532i199001-199011
main82115-90533i199001-199011
main82115-90534i199001-199011
main82115-90543i199001-199301
W/*AUD OR *CH(W/O AUTO COOLER)
main82115-90544i199004-199301
W/*FH & *AUD & AUTO COOLER;W/*AUD & *CH & AUTO COOLER
main82115-90545i199001-199301
main82115-90546i199004-199301
W/*FH & *AUD & *CH
main82115-90547i199001-199301
W/*CH(W/O *AUD)
main82115-90548i199001-199301
W/*AUD(W/O *CH)
main82115-90549i199001-199301
main82115-90550i199001-199301
W/O EXHAUST BRAKE
main82115-90559i199001-199301
W/ALTERNATOR=24V 85A; W/ALTERNATOR=24V 85A & AUTO COOLER
main82115-90560i199001-199301
W/AUTO COOLER,W/O ALTERNATOR=24V 85A
main82115-90561i199001-199301
W/ALTERNATOR=24V 85A W/O AUTO COOLER
main82115-90562i199001-199301
main82115-90563i199001-199301
CAMPING CAR
main82115-90566i199001-199301
W/ALTERNATOR=24V 85A
main82115-90567i199001-199301
W/ALTERNATOR=24V 85A & AUTO COOLER
main82115-90B00i198708-198808
W/*CH
main82115-90B01i198708-198808
W/ALTERNATOR=24V 85A
main82115-90B02i198708-198808
W/*AUD(W/O *CH)
main82115-90B03i198708-198808
main82115-90B04i198708-198808
W/*AUD(W/O AUTO COOLER);W/*CH(W/O AUTO COOLER)
main82115-90B05i198708-198808
W/AUTO COOLER
main82115-90B06i198708-198808
main82115-90B07i198708-198808
W/*AUD OR *CH
main82115-90B08i198708-198808
main82115-90B09i198708-198808
W/ALTERNATOR=24V 85A
main82115-90B10i198708-198808
W/ALTE=24V 85A & AUTO COOLER
main82115-90B11i198708-199301
W/*CH(W/O AUTO COOLER)
main82115-90B12i198708-198808
W/AUTO COOLER
main82115-90B13i198708-198808
main82115-90B14i198708-198808
*COS; W/*AUD & *CH;W/*AUD & *COS; W/*CH ONLY
main82115-90B15i198708-198808
W/*AUD ONLY
main82115-90B16i198708-198808
main82115-90B17i198708-198808
main82115-90B18i198708-198808
W/*AUD OR *CH(W/O AUTO COOLER)
main82115-90B19i198708-198808
W/AUTO COOLER
main82115-90B20i198708-198808
main82115-90B21i198708-198808
W/*AUD & *CH
main82115-90B23i198708-198808
W/*AUD(W/O *CH)
main82115-90B24i198708-198808
*COS OR *EB OR *FH; *COS OR W/*RWD(W/O *CH); W/*EB OR *FH(W/O *CH); W/SUB FUEL TANK(W/O *CH)
main82115-90B25i198708-198808
main82115-90B26i198708-198808
W/ALTERNATOR=24V 85A
main82115-90B27i198708-198808
W/ALTE=24V 85A & AUTO COOLER
main82115-90B43i198808-199001
W/*CH
main82115-90B44i198808-199001
W/ALTER=24V 85A
main82115-90B45i198808-199001
W/*AUD(W/O *CH)
main82115-90B46i198808-199001
main82115-90B48i198808-199001
W/*AUD(W/O AUTO COOLER);W/*CH(W/O AUTO COOLER)
main82115-90B49i198808-199001
W/AUTO COOLER
main82115-90B50i198808-199001
main82115-90B51i198808-199001
W/*AUD OR *CH
main82115-90B52i198808-199001
main82115-90B58i198808-199001
W/ALTERNATOR=24V 85A
main82115-90B59i198808-199001
W/ALTE=24V 85A & AUTO COOLER
main82115-90B60i198808-199001
W/*AUD OR *CH(W/O AUTO COOLER)
main82115-90B61i198808-199001
W/AUTO COOLER
main82115-90B62i198808-199001
main82115-90B63i198808-199001
W/*AUD & *CH
main82115-90B64i198808-199001
W/*CH(W/O *AUD)
main82115-90B65i198808-199001
W/*AUD(W/O *CH)
main82115-90B66i198808-199001
*COS OR *EB OR *FH; *COS OR W/*RWD(W/O *CH); W/*EB OR *FH(W/O *CH); W/SUB FUEL TANK(W/O *CH)
main82115-90B67i198808-199001
main82115-90B76i198808-199001
W/ALTERNATOR=24V 85A
main82115-90B77i198808-199001
W/ALTE=24V 85A & AUTO COOLER
main82115-90B78i198808-199001
main82115-90B79i198808-199001
W/AUTO COOLER,W/O ALT=24V 85A
main82115-90B80i198808-199001
W/ALT=24V 85A,W/O AUTO COOLER
main82115-90B81i198808-199001
W/ALTERNATOR=24V 85A; W/AUTO COOLER & ALT=24V 85A
main82115-90B87i198808-199001
W/*AUD(W/O AUTO COOLER)
main82115-90B88i198808-199001
W/AUTO COOLER
main82115-90B89i198808-199001
main82115-90B90i198808-199001
*COS; W/*AUD & *CH;W/*AUD & *COS; W/*CH ONLY
main82115-90B91i198808-199001
W/*AUD ONLY
main82115-90B92i198808-199001
main82115-90B93i198808-199001
main82815-90514i199001-199301
W/AUTO COOLER&ALT=24V 85A
82112WIRE, ENGINE ROOM, NO.2
main82112-90B00×2i198205-199301
main82112-90B01×2i198205-199301
main82115-90531i199001-199301
*COS; W/*AUD & *CH;W/*AUD & *COS; W/*CH ONLY
82114WIRE, ENGINE ROOM, NO.4
main82114-90B04i198205-198408
main82114-90K07i198808-199301
main82114-90K08i198808-199001
82121WIRE, ENGINE
main82121-90B00i198205-198408
main82121-90B01i198510-198611
main82121-90B02i198408-199301
main82121-90B03i198611-198808
main82121-90B04i199004-199301
W/*FH & *AUD & *CH; W/*FH & *AUD & AUTO COOLER;W/*AUD & *CH & AUTO COOLER
main82121-90B06i199001-199301
82122WIRE, ENGINE, NO.2
main82122-90B00i198205-198808
main82122-90B03i199001-199301
main82122-90B04i199001-199301
main82122-90B05i199001-199301
24V 85A ALTERNATOR
main82122-90B06i199001-199301
24V 85A ALTERNATOR
82123WIRE, ENGINE, NO.3
main82123-90B01i198408-198808
82124WIRE, ENGINE, NO.4
main82124-90B01i198310-198401
W/GLIDE DOOR
main82124-90B02i198408-198808
main82124-90B05i198811-199001
82125WIRE, TRANSMISSION
main82125-90B00i198808-199301
main82125-90B01i198808-199301
82131WIRE, COWL
main82131-36020i199103-199301
CAMPING CAR
main82131-90500i198408-198510
W/CLOCK(EXCL/*COS); W/CLOCK(W/O *DEF TIMER OR *CH);W/CLOCK(EXCL/*COS)
main82131-90501i198408-198510
main82131-90502i198408-198510
main82131-90526i198510-198602
RENTAL CAR
main82131-90527i198510-198708
W/*AUD & *CH; W/*AUD & CLOCK & *CH; W/*EB & *AUD & CLOCK *CH
main82131-90528i198510-198708
W/*AUD & *CH; W/*AUD ONLY;*COS & W/*AUD & CLOCK;W/*AUD & (*COS OR *EB OR CLOCK; W/*EB & *AUD & (*COS OR CLOCK);*COS & W/*EB & *AUD & CLOCK
main82131-90529i198510-198708
W/*CH OR *RWD
main82131-90530i198510-198708
W/*DEF TIMER;W/*DEF TIMER & *AUD & CLOCK;W/*DEF TIMER & (*AUD OR CLOCK); W/*EB & *DEF TIMER;W/*EB & *DEF TIMER & *AUD
main82131-90531i198510-198708
*COS OR W/*EB OR CLOCK;W/*EB & CLOCK;*COS & (W/*EB OR CLOCK); *COS OR W/*EB(W/O *CH);W/CLOCK OR W/*DEF(W/O *CH); W/SUB FUEL TANK (W/O *CH); W/SUB FUEL TANK(W/O *CH)
main82131-90532i198510-198708
main82131-90533i198510-198708
main82131-90541i198510-198708
W/*AUD; W/*AUD(W/O *DEF TIMER OR *CH);W/*AUD(EXCL/*COS)
main82131-90542i198510-198708
W/*CH OR *RWD & PREPARATORY HE
main82131-90543i198510-198708
W/*DEF TIMER OR *CH
main82131-90544i198510-198708
*COS OR W/CLOCK; W/CLOCK(W/O *DEF TIMER OR *CH);*COS OR W/CLOCK
main82131-90545i198510-198708
main82131-90546i198510-198708
main82131-90560i198602-198708
RENTAL CAR
main82131-90576i198708-198808
RENTAL CAR
main82131-90577i198708-198808
W/*AUD & *CH; W/*AUD & CLOCK & *CH; W/*EB & *AUD & CLOCK *CH
main82131-90578i198708-198808
W/*AUD & *CH; W/*AUD ONLY;*COS & W/*AUD & CLOCK;W/*AUD & (*COS OR *EB OR CLOCK; W/*EB & *AUD & (*COS OR CLOCK);*COS & W/*EB & *AUD & CLOCK
main82131-90579i198708-198808
W/*CH OR *RWD
main82131-90580i198708-198808
W/*DEF TIMER;W/*DEF TIMER & *AUD & CLOCK;W/*DEF TIMER & (*AUD OR CLOCK); W/*EB & *DEF TIMER;W/*EB & *DEF TIMER & *AUD
main82131-90581i198708-198808
*COS OR W/*EB OR CLOCK;W/*EB & CLOCK;*COS & (W/*EB OR CLOCK); *COS OR W/*EB(W/O *CH);W/CLOCK OR W/*DEF(W/O *CH); W/SUB FUEL TANK (W/O *CH); W/SUB FUEL TANK(W/O *CH)
main82131-90582i198708-198808
main82131-90583i198708-198808
main82131-90584i198708-198808
W/*AUD; W/*AUD(W/O *DEF TIMER OR *CH);W/*AUD(EXCL/*COS)
main82131-90585i198708-198808
W/*CH OR *RWD & PREPARATORY HE
main82131-90586i198708-198808
W/*DEF TIMER OR *CH
main82131-90587i198708-198808
*COS OR W/CLOCK; W/CLOCK(W/O *DEF TIMER OR *CH);*COS OR W/CLOCK
main82131-90588i198708-198808
main82131-90589i198708-198808
main82131-90B00i198205-198303
W/CLOCK & *EB
main82131-90B01i198205-198303
main82131-90B02i198205-198303
W/*CH
main82131-90B03i198205-198303
W/*CH
main82131-90B04i198205-198303
W/*AUD
main82131-90B05i198205-198303
W/*AUD & *CH
main82131-90B06i198205-198303
W/*AUD OR *AUD & *CH
main82131-90B07i198205-198303
main82131-90B08i198205-198303
main82131-90B09i198205-198303
main82131-90B20i198205-198408
main82131-90B21i198205-198408
main82131-90B22i198205-198408
W/*AUD
main82131-90B23i198205-198408
main82131-90B24i198205-198408
W/*CH; W/CLOCK
main82131-90B25i198205-198408
W/*CH
main82131-90B26i198205-198408
W/*AUD; W/*CH & *AUD
main82131-90B29i198205-198408
main82131-90B34i198205-198408
W/DEFOGGER TIMER
main82131-90B35i198205-198303
W/DEFOGGER TIMER
main82131-90B36i198303-198408
W/CLOCK & *EB
main82131-90B37i198303-198408
main82131-90B38i198303-198408
W/*CH
main82131-90B39i198303-198408
W/*CH
main82131-90B40i198303-198408
W/*AUD
main82131-90B41i198303-198408
W/*AUD & *CH
main82131-90B42i198303-198401
W/*AUD OR *AUD & *CH
main82131-90B43i198303-198408
main82131-90B44i198303-198408
main82131-90B45i198303-198408
main82131-90B55i198303-198408
W/DEFOGGER TIMER
main82131-90B67i198401-198408
W/*AUD OR *AUD & *CH
main82131-90B76i198408-198510
RENTAL CAR; W/*AUD & *COS
main82131-90B77i198408-198510
W/*AUD OR *CH
main82131-90B78i198408-198510
main82131-90B79i198408-198510
main82131-90B80i198408-198510
W/*AUD & *CH;W/*AUD & CLOCK & *CH; W/*EB & *AUD & CLOCK *CH
main82131-90B81i198408-198510
*COS & W/*AUD & CLOCK;W/*AUD & (*COS OR *EB OR CLOCK;W/*AUD; W/*EB & *AUD & (*COS OR CLOCK);*COS & W/*EB & *AUD & CLOCK
main82131-90B82i198408-198510
W/*DEF TIMER;W/*DEF TIMER & *AUD & CLOCK;W/*DEF TIMER & (*AUD OR CLOCK); W/*EB & *DEF TIMER & CLOCK;W/*EB & *DEF TIMER;W/*EB & *DEF TIMER & *AUD;W/*EB & *DEF TIMER & *CH
main82131-90B83i198408-198510
W/*CH; W/*EB & *CH
main82131-90B84i198408-198510
*COS OR W/*EB OR W/CLOCK;W/*EB & CLOCK;*COS & (W/*EB OR CLOCK);*COS & *EB & CLOCK; *COS OR W/*EB(W/O *CH);W/CLOCK OR W/*DEF(W/O *CH)
main82131-90B85i198408-198510
main82131-90B86i198408-198510
main82131-90B95i198408-198510
W/*AUD
main82131-90B96i198408-198510
W/*CH
main82131-90B97i198408-198510
main82131-90B98i198408-198510
W/*AUD(W/O *DEF TIMER OR *CH);W/*AUD(EXCL/*COS)
main82131-90B99i198408-198510
*COS OR W/*DEF TIMER OR *CH
main82135-90B00i198808-198901
RENTAL CAR & W/HEATER IDLE UP
main82135-90B01i198808-199001
RENTAL CAR; W/*AUD & *CH
main82135-90B02i198808-199001
W/*AUD,W/O *CH
main82135-90B03i198808-199001
W/*CH,W/O *AUD
main82135-90B04i198808-199001
W/*DEF TIMER,W/*DEF TIMER & *AUD
main82135-90B05i198808-198812
*COS OR *EB OR W/CLOCK;W/SIDE MIRROR,W/O *AUD,*CH; W/O *AUD,*CH & *DEF TIMER
main82135-90B06i198808-199001
main82135-90B07i198808-199001
main82135-90B15i198808-198811
W/*AUD; W/*AUD(W/O *DEF TIMER OR *CH);W/*AUD(EXCL/*COS)
main82135-90B16i198808-198811
W/*CH,W/O *AUD
main82135-90B17i198808-198811
W/*AUD & *COS; W/*DEF TIMER OR *CH
main82135-90B18i198808-198811
W/CLOCK(W/O *DEF TIMER OR *CH);*COS OR W/CLOCK
main82135-90B19i198808-198811
main82135-90B20i198808-198811
main82135-90B28i198808-199001
W/AIR SUSPENSION & HTR IDLE UP; W/HEATER IDLE UP
main82135-90B29i198808-199001
W/*DEF TIMER & HTR IDLE UP
main82135-90B30i198808-199001
W/HEATER IDLE UP
main82135-90B31i198811-199001
W/*AUD; W/*AUD(W/O *DEF TIMER OR *CH);W/*AUD(EXCL/*COS)
main82135-90B32i198811-199001
W/*CH,W/O *AUD
main82135-90B33i198811-199001
W/*AUD & *COS; W/*DEF TIMER OR *CH
main82135-90B34i198811-199001
W/CLOCK(W/O *DEF TIMER OR *CH);*COS OR W/CLOCK
main82135-90B35i198811-199001
main82135-90B36i198811-199001
main82135-90B45i198812-199001
*COS OR *EB OR W/CLOCK;W/SIDE MIRROR,W/O *AUD,*CH; W/O *AUD,*CH & *DEF TIMER
main82135-90B53i198901-199001
RENTAL CAR & W/HEATER IDLE UP
main82135-90B56i198904-199001
CAMPING CAR
main82135-90B59i198906-198908
YU-YU SALOON
main82135-90B60i199001-199301
main82135-90B61i199001-199301
RENTAL CAR; W/*AUD & *CH
main82135-90B62i199001-199003
W/*AUD,W/O *CH
main82135-90B63i199001-199301
W/*CH,W/O *AUD
main82135-90B64i199001-199301
W/*DEF TIMER,W/*DEF TIMER & *AUD
main82135-90B65i199001-199301
main82135-90B66i199001-199301
W/O EXHAUST BRAKE; W/O HAUST BRAKE
main82135-90B67i199001-199301
main82135-90B68i199001-199301
W/O EXHAUST BRAKE
main82135-90B69i199001-199301
W/O EXHAUST BRAKE
main82135-90B70i199001-199301
main82135-90B71i199001-199103
CAMPING CAR
main82135-90B82i199001-199301
W/*AUD(W/O *DEF TIMER OR *CH);W/*AUD(EXCL/*COS)
main82135-90B84i199001-199301
W/*AUD & *COS; W/*DEF TIMER OR *CH
main82135-90B85i199001-199301
main82135-90B86i199001-199301
main82135-90B87i199001-199301
82132WIRE, COWL, NO.2
main82132-90B00i198205-198510
main82132-90B01i198205-198510
main82132-90B03i198408-199301
main82132-90B04i198408-199301
main82132-90B07i198305-198408
RENTA CAR SPEC,PACKAGE 2; RENTA CAR SPEC,PACKAGE 2 OR 3
main82132-90B14i198808-199001
main82132-90B15i198808-199001
main82132-90B16i198510-199301
main82132-90B17i198510-199301
main82132-90B22i199103-199301
CAMPING CAR
main82132-90B23i199001-199301
RENTA CAR SPEC
82133WIRE, COWL, NO.3
main82133-90B00i198205-198408
W/*RWD OR *AUD
main82133-90B01i198205-198408
main82133-90B02i198205-198408
main82133-90B09i198205-198408
W/DEFOGGER TIMER
main82133-90B12i198408-198510
main82133-90B13i198408-198510
main82133-90B14i198408-199301
W/DEFOGGER
main82133-90B15i198408-199301
W/DEFOGGER TIMER
main82133-90B17i198510-199301
main82133-90B18i198510-199301
82141WIRE, INSTRUMENT PANEL
main82141-90B00i198510-199301
NO.1; RENTA CAR
main82372-90B00i198808-199301
RADIO=W/O ELECTRIC SEARCH,NO.2
82142WIRE, INSTRUMENT PANEL, NO.2
main82142-90B01i198808-199001
HEATER PUMP SW
main82142-90B02i198305-198510
*RC2 OR *RC3,RADIO
main82142-90B03i198510-199301
HEATER SW
main82142-90B04i198510-199301
HEATER SW,W/AUTO COOLER
main82142-90B05i199001-199301
HEATER PUMP SW
82143WIRE, INSTRUMENT PANEL, NO.3
main82143-90B00i198510-199301
W/O *EB
main82143-90B01i198510-199301
W/*EB
82219AWIRE, SENSOR
main82219-90B00i198510-198808
82223WIRE, SWITCH
main82223-90B01i199001-199301
W/VENT FAN; W/VENT FAN,TV
main82223-90B02i199001-199301
W/VENT FAN,TV,COOL BOX
82291WIRING, TO SOLENOID
main82291-90B01i198808-199301
82345DIODE
main82345-12010i198205-198404
NO,1
main82345-12050i198610-199301
NO.2
82561WIRE, REAR SPEAKER
main82561-90B00i199001-199301
82817BPROTECTOR, WIRING HARNESS, NO.3
main82817-95600×3i198205-199301
8401SWITCH & RELAY & COMPUTER
9011906005
9165140814

24 parts on this diagram · 8 diagrams in section

WIRING & CLAMP — Toyota Parts Diagram with OEM Numbers & Prices | EPC Data