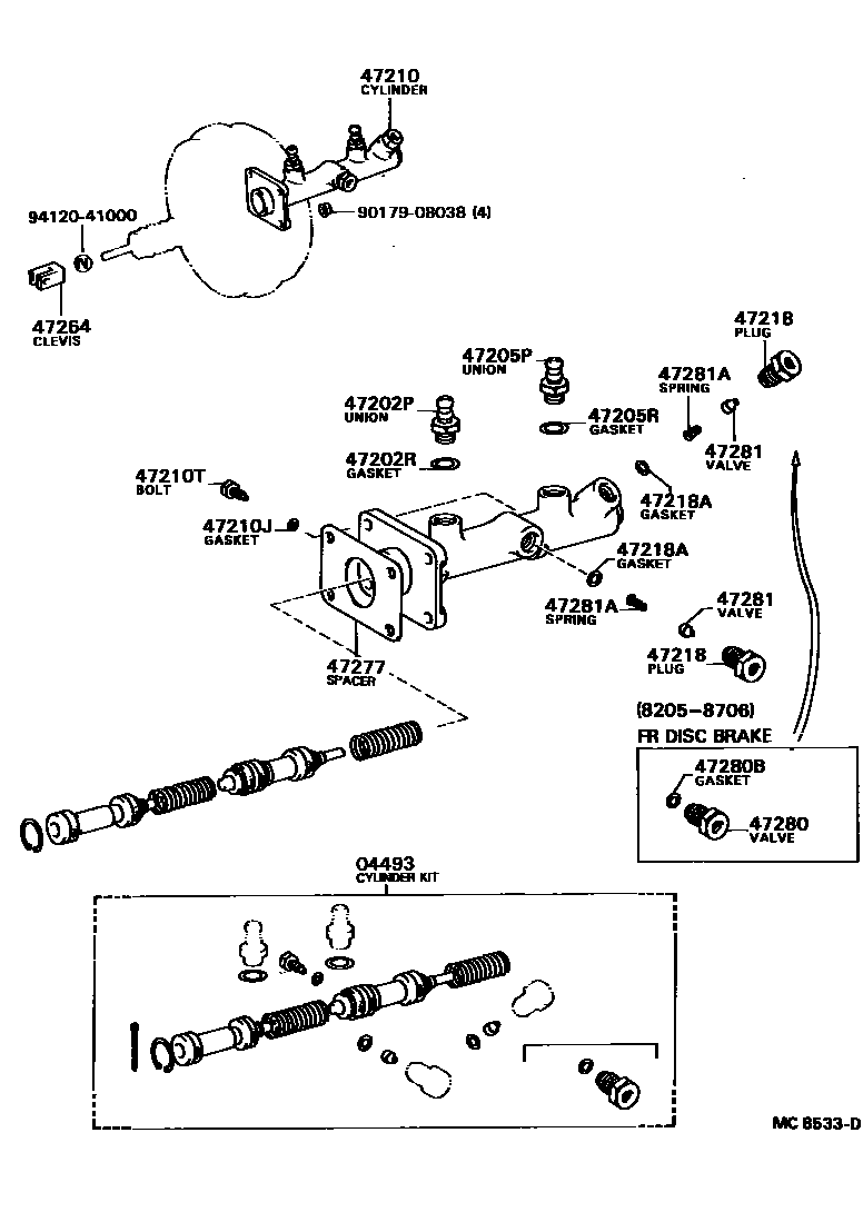
04493CYLINDER KIT, BRAKE MASTER
main04493-36020iBB2#,3#,HB30,RB20..(DLX,STD)..CBU198205-198408 FR DRUM BRAKE
main04493-36100iBB2#,3#,HB3#,RB2#..(DLX,STD)..CBU198408-199301 FR DRUM BRAKE
main04493-36120iBB3#,HB30,31,36,HZB36..DLX,STD198510-199301 FR DRUM BRAKE
47202RESERVOIR SUB-ASSY, BRAKE MASTER CYLINDER
main47220-36030iBB2#,3#,HB3#,HDB3#,HZB3#,RB2#..5F..CBU198205-199301 main47220-36060iBB23,24,HB31,32,HDB20,3#,HZB30,31..4FC198510-199301 47202PUNION, RESERVOIR(FOR BRAKE MASTER CYLINDER SIDE)
main90404-16233iBB2#,3#,HB3#,HDB20,3#,HZB3#,RB2#..CBU198205-199301 47202RGASKET, RESERVOIR UNION(FOR BRAKE MASTER CYLINDER SIDE)
main90430-16242iBB2#,3#,HB3#,HDB20,3#,HZB3#,RB2#..CBU198205-199301 47205PUNION, RESERVOIR(FOR BRAKE MASTER CYLINDER REAR SIDE)
main90404-16233iBB2#,3#,HB3#,HDB20,3#,HZB3#,RB2#..CBU198205-199301 47205RGASKET, RESERVOIR UNION(FOR BRAKE MASTER CYLINDER REAR SIDE)
main90430-16242iBB2#,3#,HB3#,HDB20,3#,HZB3#,RB2#..CBU198205-199301 47210CYLINDER ASSY, MASTER, W/O BOOSTER
main47201-36090iBB2#,3#,HB30,RB20..(DLX,STD)..CBU198205-198408 FR DRUM BRAKE
main47201-36230iBB3#,HB30,31,36,HZB36..DLX,STD198510-199301 FR DRUM BRAKE
47210JGASKET(FOR MASTER CYLINDER)
main90430-06104iBB2#,3#,HB3#,HDB20,3#,HZB3#,RB2#..CBU198205-199301 47210TBOLT(FOR BRAKE MASTER CYLINDER)
main90109-06008iBB2#,3#,HB3#,HDB20,3#,HZB3#,RB2#..CBU198205-199301 47218PLUG, MASTER CYLINDER FLUID OUTLET
main47218-36030iBB2#,3#,HB3#,HDB20,3#,HZB3#,RB2#..CBU198205-199301 main47218-36060iBB21,26,3#,HB30,31,36,HDB20,3#,HZB3#,RB2#198706-199301 FR DISC BRAKE,RR
47218AGASKET(FOR FLUID OUTLET PLUG)
main90430-11001iBB2#,3#,HB3#,HDB20,3#,HZB3#,RB2#..CBU198205-199301 47264CLEVIS, MASTER CYLINDER PUSH ROD
main47264-22010iBB3#,HB3#,HDB3#,HZB3#..CBU198205-199301 47277SPACER, MASTER CYLINDER
47280VALVE ASSY, BRAKE MASTER CYLINDER OUTLET CHECK
47280BGASKET(FOR BRAKE MASTER CYLINDER OUTLET VALVE)
main90430-11001iBB2#,3#,HB3#,HDB20,3#,HZB3#,RB2#..CBU198205-199301 47281VALVE, BRAKE MASTER CYLINDER OUTLET CHECK
main47281-30020iBB2#,3#,HB3#,HDB20,3#,HZB3#,RB2#..CBU198205-199301 47281ASPRING COMPRESSION(FOR OUTLET CHECK VALVE)
main90501-05012iBB2#,3#,HB3#,HDB20,3#,HZB3#,RB2#..CBU198408-199301