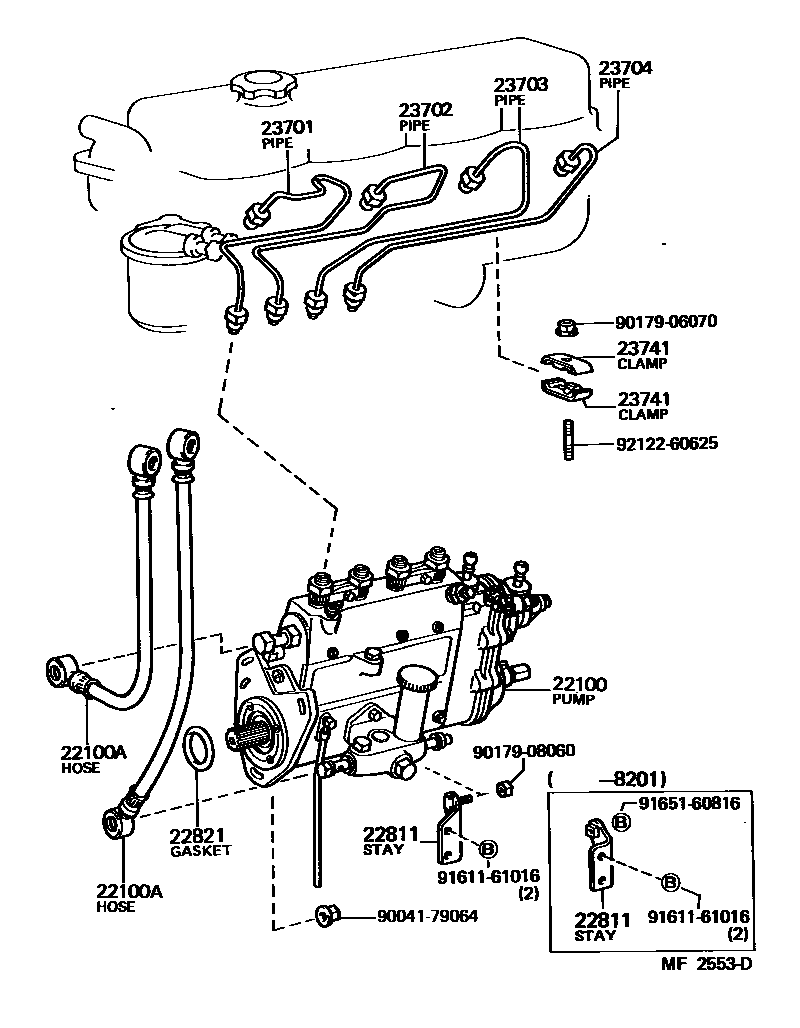
INJECTION PUMP ASSEMBLY

22100PUMP ASSY, INJECTION OR SUPPLY
22100AHOSE OR PIPE, FUEL(FOR INJECTION PUMP TO FUEL FILTER)
L=370
L=312
L=275
22811STAY, INJECTION PUMP, NO.1
22821GASKET, INJECTION PUMP
23701PIPE SUB-ASSY, INJECTION, NO.1
23702PIPE SUB-ASSY, INJECTION, NO.2
23703PIPE SUB-ASSY, INJECTION, NO.3
23704PIPE SUB-ASSY, INJECTION, NO.4
23741CLAMP, INJECTION PIPE, NO.1
9004179064
main90041-79064
9017906070
main90179-06070
9017908060
main90179-08060
9161161016
main91611-61016
9165160816
main91651-60816
9212260625
main92122-60625
15 parts on this diagram · 1 diagram in section