E
EPC Data

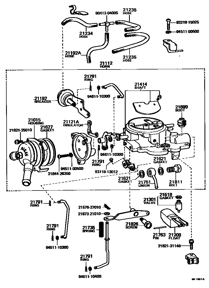
CARBURETOR

Parts diagram
21015HOUSING SUB-ASSY, COIL
main21015-35130i198008-198204
main21015-38011i197708-197808
main21015-38360i197911-198008
main21015-38361i197808-197911
21112HORN, AIR
main21112-35131i198008-198204
main21112-38281i197708-197808
main21112-38283i197808-197911
main21112-38450i197911-198008
21121AINSULATOR(FOR THERMOSTAT CASE)
main21165-38030i197708-198008
21192BREAKER
main21192-38140i197708-198008
21192AHOSE, NO.1(FOR BREAKER)
main95411-19930i197708-198008
*H,L=140
21209FLOAT SUB-ASSY
main21209-33011i197808-198008
main21209-37041i198008-198204
main21209-38010i197708-197808
21234PIPE OR HOSE
main21234-37020i198005-198008
main21234-38011i197708-197911
main21234-38350i197911-198005
21235PIPE OR HOSE, CONNECTING
main21235-38011i197708-197911
L=90
main95411-19930i197708-198008
*H,L=140
main95411-39930i197911-198008
*H,L=90
21301VALVE SUB-ASSY, NEEDLE
main21301-35010i198008-198204
main21301-38011i197708-197911
main21301-38310i197911-198008
21414SHAFT, CHOKE
main21054-37040i198008-198204
main21054-38013i197708-198008
21618GASKET, NEEDLE VALVE SEAT
main21618-14010i197911-198204
main21618-24030i197708-197911
21621GASKET, UNION NIPPLE
main21633-24030i197708-198204
21627GASKET, COIL HOUSING
main21627-28090i198008-198012
main21627-28150i198012-198204
main21627-34080i197708-198008
21699BOOT(FOR PUMP PLUNGER)
main21699-21061i197708-198008
21735SPRING, PUMP ARM
main21735-22010i197708-198008
21751UNION, NIPPLE
main21894-37040i198008-198204
main21894-38281i197708-197911
main21894-38310i197911-198008
21763PIN, FLOAT LEVER
main21763-34320i198008-198204
main21763-38010i197708-198008
21791RING, SNAP, NO.1(FOR CARBURETOR LINK)
main21791-60010i197708-198204
21811BOLT, UNION NIPPLE
main21811-11060i197708-198204
21826SCREW, PUMP ARM SET
main21826-31012i197808-198008
main21826-38010i197708-197808
2157627010CLIP, PUMP STRAINER
2182125010SCREW, 2ND THROTTLE VALVE SET
2182131140SCREW, 2ND THROTTLE VALVE SET
2184426350SCREW, CHOKE LEVER
2187321010WASHER, PLUNGER
9041304005
9311913012
9321915025
9451100500
9461110300
9461110400

31 parts on this diagram · 5 diagrams in section

CARBURETOR — Toyota Parts Diagram with OEM Numbers & Prices | EPC Data