E
EPC Data

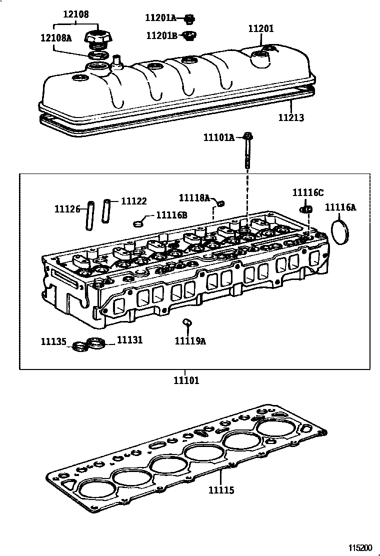
CYLINDER HEAD

Parts diagram
11101HEAD SUB-ASSY, CYLINDER
main11101-17010i199001-199310
main11101-17011i199310-199712
main11101-17012i199712-199801
main11101-17020i199001-199501
main11101-17040i199501-199605
main11101-17041i199605-199801
main11101-61080i199001-199208
main11101-69105i199208-199506
main11101-69106i199506-199801
main11101-69107i199712-199801
11101ABOLT(FOR CYLINDER HEAD SET)
main90105-13005i199001-199208
main90910-02050i199001-199208
main90910-02096i199001-199801
main90910-02096i199501-199801
main90910-02111i199208-199801
main90910-02119i199501-199801
11115GASKET, CYLINDER HEAD
main11115-17010-01i199001-199801
main11115-17010-03i199001-199801
main11115-17010-05i199001-199801
main11115-17030-01i199501-199801
main11115-17030-03i199501-199801
main11115-17030-05i199501-199801
main11115-61030i199001-199208
main11115-66020i199208-199801
11116APLUG, TIGHT, NO.1
main96411-42500i199001-199801
main96411-45000i199001-199208
11116BPLUG, TIGHT, NO.2
main96411-42500i199001-199208
main96411-43500i199001-199801
main96411-62500i199501-199801
11116CPLUG, TIGHT, NO.3
main90340-14001i199001-199208
main96411-44000i199001-199801
main96411-64000i199506-199801
11118APLUG, STRAIGHT, NO.1
main90334-07009i199001-199208
11119APIN, STRAIGHT, NO.1
main90250-08120i199001-199208
main90250-09007i199501-199801
11122BUSH, INTAKE VALVE GUIDE
main11122-17010i199501-199801
main11122-17020i199705-199801
main11122-54020i199001-199705
main11122-61011i199001-199208
main11122-66020i199208-199801
main11123-17010i199501-199801
main11123-17020i199705-199801
main11123-54020i199001-199705
main11123-61011i199001-199208
main11123-66020i199208-199801
11126BUSH, EXHAUST VALVE GUIDE
main11122-17010i199501-199801
main11122-17020i199705-199801
main11122-54020i199001-199705
main11122-66020i199208-199801
main11123-17010i199501-199801
main11123-17020i199705-199801
main11123-54020i199001-199705
main11123-66020i199208-199801
main11126-61011i199001-199208
main11127-61011i199001-199208
11131SEAT, INTAKE VALVE
main11131-61010i199001-199208
main11131-66020i199208-199801
main11132-61010i199001-199208
main11132-66020i199208-199801
11135SEAT, EXHAUST VALVE
main11135-60010i199001-199208
main11135-66010i199208-199801
main11136-60030i199001-199208
main11136-66010i199208-199801
11201COVER SUB-ASSY, CYLINDER HEAD
main11201-17010i199001-199801
main11201-17030i199501-199801
main11201-61041i199001-199208
main11201-66020i199208-199801
11201ANUT, CAP(FOR CYLINDER HEAD COVER)
main90176-08014i199001-199208
11201BWASHER, SEAL(FOR CYLINDER HEAD COVER)
main90210-13001i199001-199208
11213GASKET, CYLINDER HEAD COVER
main11213-17010i199001-199801
main11213-17020i199501-199801
main11213-61020i199001-199208
main11213-66020i199208-199801
12108CAP SUB-ASSY, OIL FILLER
main12180-55010i199001-199801
main12180-61010i199001-199208
main12180-65011i199208-199305
12108AGASKET(FOR OIL FILLER CAP)
main12195-71020i199001-199208
main90430-37004i199001-199801

18 parts on this diagram · 5 diagrams in section

CYLINDER HEAD — Toyota Parts Diagram with OEM Numbers & Prices | EPC Data