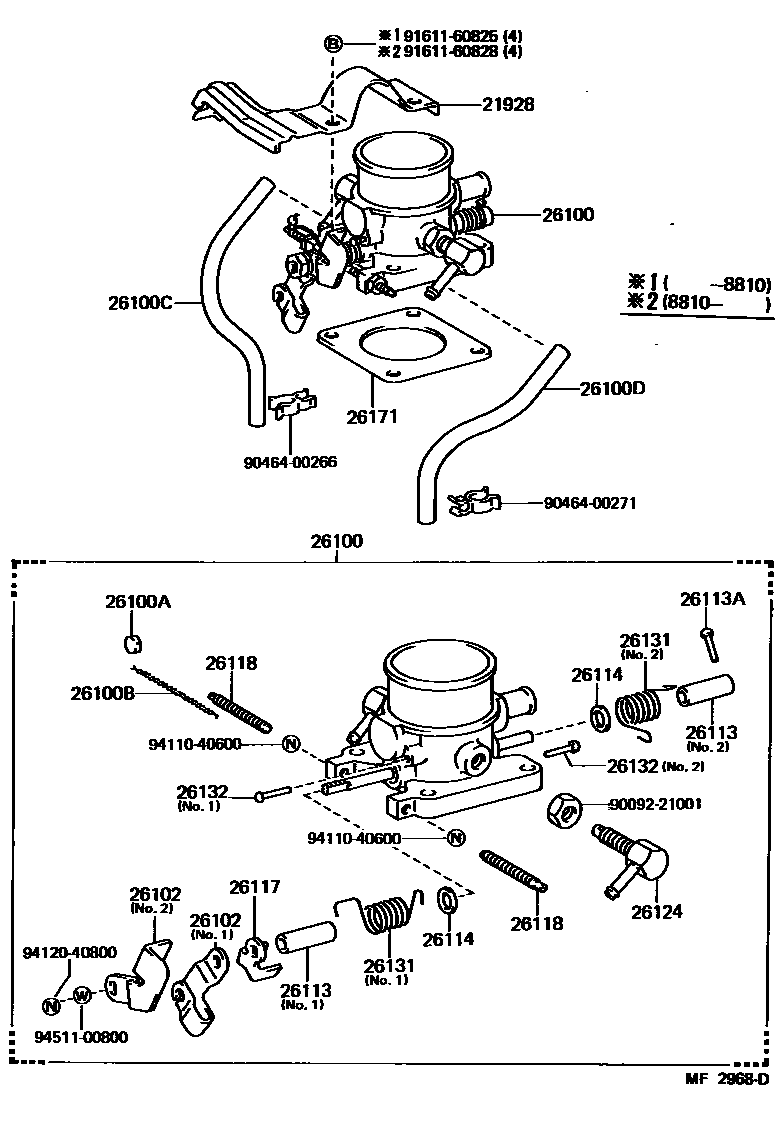
VENTURI

21928SUPPORT, THROTTLE WIRE
26100VENTURI ASSY
26100ASEAL, LEAD
26100BWIRE, SEAL
26100CHOSE, VACCUM, NO.1(VENTURI TO GOVERNOR)
26100DHOSE, VACCUM, NO.2(VENTURI TO GOVERNOR)
26102LEVER SUB-ASSY, THROTTLE SHAFT ADJUSTING
26113COLLAR, THROTTLE VALVE SHAFT
26113APIN, THROTTLE VALVE SHAFT
26114WASHER, THROTTLE VALVE SHAFT ADJUSTING
26117PLATE, THROTTLE VALVE SHAFT STOP
26118SCREW, STOP PLATE ADJUSTING
26124CONNECTOR, VENTURI PIPE
26131SPRING, RETURN
26171GASKET, VENTURI
9009221001
main90092-21001
9046400266
main90464-00266
9046400271
main90464-00271
9161160825
main91611-60825
9161160828
main91611-60828
9411040600
main94110-40600
9412040800
main94120-40800
9451100800
main94511-00800
24 parts on this diagram · 3 diagrams in section