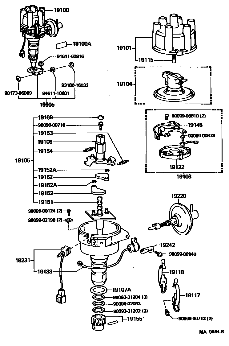
DISTRIBUTOR

19100ATAPE, SEALING
19101CAP SUB-ASSY, DISTRIBUTOR
19103BREAKER SUB-ASSY, DISTRIBUTOR
19104ROTOR KIT
19105GOVERNOR SUB-ASSY
19106CAM SUB-ASSY, DISTRIBUTOR
19107ARING, O, DISTRIBUTOR HOUSING
19115PIECE, DISTRIBUTOR CAP, CENTER
19117SPRING, DISTRIBUTOR CAP, A
19118SPRING, DISTRIBUTOR CAP, B
19122PLATE, STATIONARY, DISTRIBUTOR
19133CONDENSER, DISTRIBUTOR
19145POINT, DISTRIBUTOR
19151SHAFT, GOVERNOR
19152WEIGHT, GOVERNOR
19152ARING, SNAP(FOR GOVERNOR WEIGHT)
19153SPRING, GOVERNOR, A
19154SPRING, GOVERNOR, B
19155GEAR, SPIRAL, DISTRIBUTOR
19169STOPPER, CAM GREASE
19220ADVANCER ASSY, VACUUM, DISTRIBUTOR
19231TERMINAL, DISTRIBUTOR
19905CLAMP SUB-ASSY, DISTRIBUTOR
9009331202
main90093-31202
9009331204
main90093-31204
9009900124
main90099-00124
9009900710
main90099-00710
9009900713
main90099-00713
9009900810
main90099-00810
9009900878
main90099-00878
9009900940
main90099-00940
9009902093
main90099-02093
9009902198
main90099-02198
9017306009
main90173-06009
9161160816
main91611-60816
9318016032
main93180-16032
9461110601
main94611-10601
39 parts on this diagram · 2 diagrams in section