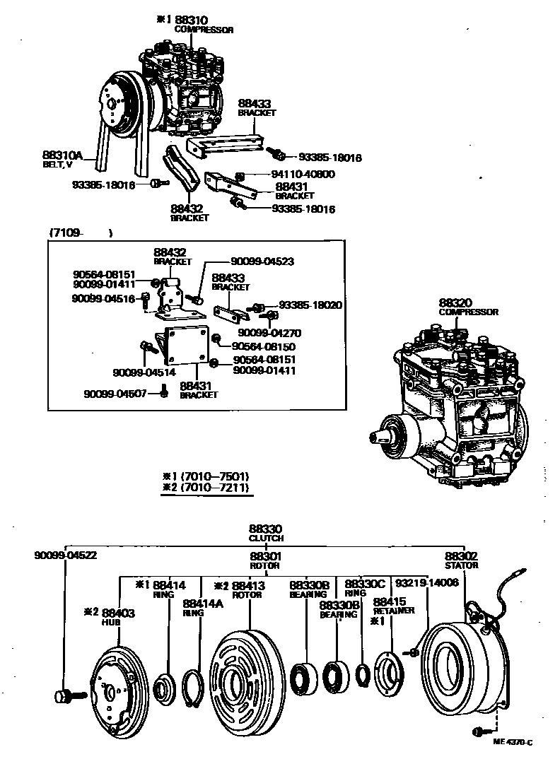
HEATING & AIR CONDITIONING - COMPRESSOR

88301ROTOR SUB-ASSY, MAGNET CLUTCH
88302STATOR SUB-ASSY, MAGNET CLUTCH
88310ABELT, V (COOLER COMPRESSOR TO CRANKSHAFT PULLEY), NO.1
88320COMPRESSOR ASSY, COOLER
88330CLUTCH ASSY, MAGNET
88330BBEARING, MAGNET CLUTCH
88330CRING, SNAP (FOR MAGNET CLUTCH)
88403HUB SUB-ASSY, MAGNET CLUTCH
88413PULLEY SUB-ASSY, MAGNET CLUTCH
88415RETAINER, MAGNET CLUTCH BEARING, NO.1
88431BRACKET, COMPRESSOR MOUNTING, NO.1
88432BRACKET, COMPRESSOR MOUNTING, NO.2
88433BRACKET, COMPRESSOR MOUNTING, NO.3
9009901411
main90099-01411
9009904270
main90099-04270
9009904507
main90099-04507
9009904514
main90099-04514
9009904516
main90099-04516
9009904522
main90099-04522
9009904523
main90099-04523
9056408150
main90564-08150
9056408151
main90564-08151
9321914006
main93219-14006
9338518016
main93385-18016
9338518020
main93385-18020
9411040800
main94110-40800
29 parts on this diagram · 2 diagrams in section