E
EPC Data

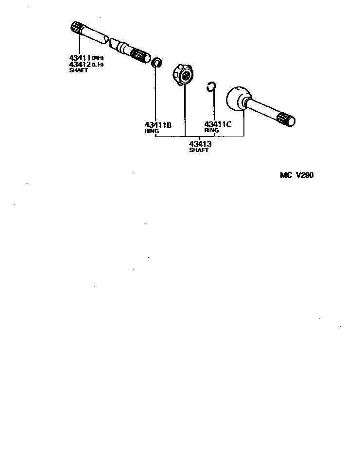
FRONT DRIVE SHAFT

Parts diagram
43411SHAFT, FRONT AXLE, INNER RH
main43411-60020i196903-198007
43411BRING, SHAFT SNAP (FOR FRONT DRIVE INNER SHAFT INNER)
main90520-28036×2i196903-198007
43411CRING, SHAFT SNAP (FOR FRONT DRIVE INNER SHAFT OUTER)
main90520-27091×2i196903-198007
43412SHAFT, FRONT AXLE, INNER LH
main43412-60020i196903-198007
43413SHAFT, DRIVE
main43405-60010×2i196903-197211
main43405-60011×2i197211-197509
main43405-60013×2i197509-197808
main43405-60014×2i197808-197902
main43405-60015×2i197902-198007

5 parts on this diagram · 1 diagram in section

FRONT DRIVE SHAFT — Toyota Parts Diagram with OEM Numbers & Prices | EPC Data