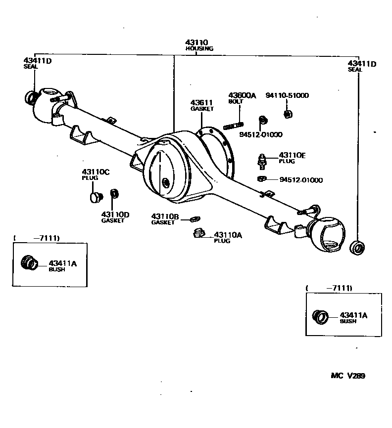
FRONT AXLE HOUSING & DIFFERENTIAL

43110HOUSING ASSY, FRONT AXLE
sub43110-60091
sub43110-60092
sub43110-60093
sub43110-60111
sub43110-60112
sub43110-60114
43110BGASKET, DRAIN
43110DGASKET (FOR FRONT AXLE HOUSING PLUG)
43110EPLUG, BREATHER (FOR FRONT AXLE HOUSING)
43411ABUSH, SOLID (FOR FRONT AXLE INNER SHAFT)
RH.
LH.
43411DSEAL, TYPE T OIL (FOR FRONT DRIVE SHAFT)
43600CARRIER ASSY, FRONT AXLE
R=37:9=4.111
R=37:10=3.700
R=37:11=3.363
R=37:11=3.363
43611GASKET, FRONT AXLE DIFFERENTIAL CARRIER
sub42181-60060
9411051000
main94110-51000
9451201000
main94512-01000
13 parts on this diagram · 2 diagrams in section