E
EPC Data

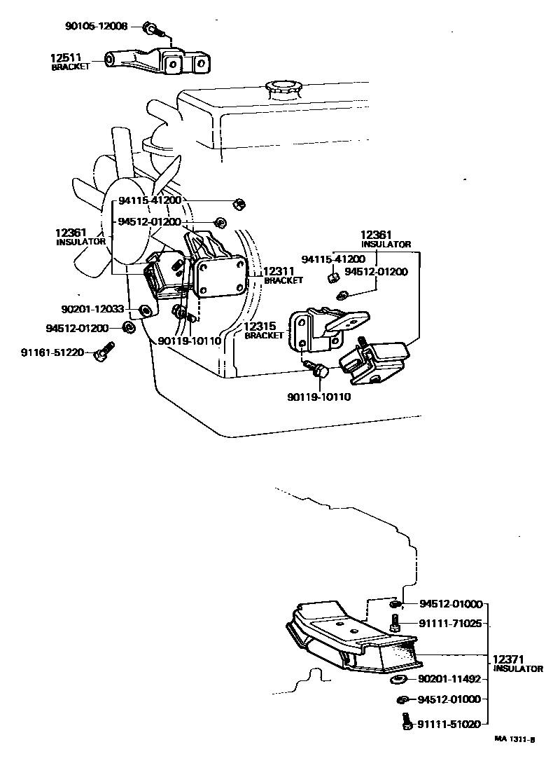
MOUNTING

Parts diagram
12311BRACKET, ENGINE MOUNTING, FRONT NO.1 RH
main12301-61011i197902-198007
W/COOLER
main12311-56010i197402-198007
main12311-60030i196903-197509
main12311-60070i197010-197106
W/COOLER
main12311-60071i197106-197501
W/COOLER
main12311-60072i197509-197902
W/COOLER
main12311-61010i197501-198007
main12311-61020i197501-197509
W/COOLER
12315BRACKET, ENGINE MOUNTING, FRONT NO.1 LH
main12315-60020i196903-197509
main12315-61010i197501-198007
main12315-87304i197402-198007
12361INSULATOR, ENGINE MOUNTING, FRONT
main12361-59035×2i197402-198007
main12361-60020×2i196903-196908
main12361-60021×2i196908-197606
main12361-60022×2i197606-198007
12371INSULATOR, ENGINE MOUNTING, REAR NO.1
main12371-59015i197402-198007
main12371-60010×4i196903-197509
main12371-60071×2i196903-196908
main12371-60072×2i196908-198007
12511BRACKET, ALTERNATOR, NO.1
main12511-56010i197402-197709
main12511-56020i197709-198007
main12511-60080i196903-197606
main12511-60081i197606-198007
9010512008
9011910110
9020111492
9020112033
9111151020
9111171025
9116151220
9411541200
9451201000
9451201200

15 parts on this diagram · 3 diagrams in section

MOUNTING — Toyota Parts Diagram with OEM Numbers & Prices | EPC Data