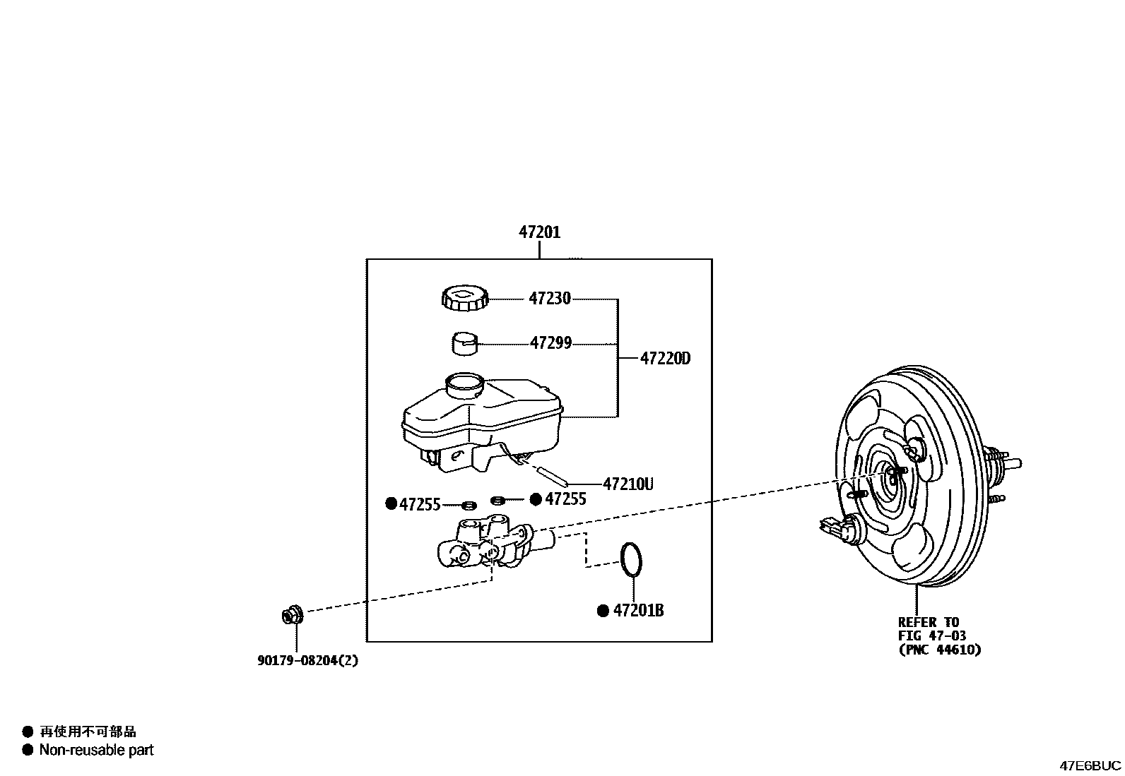
BRAKE MASTER CYLINDER

4703BRAKE BOOSTER & VACUUM TUBE
47201CYLINDER SUB-ASSY, BRAKE MASTER
47201BRING, O(FOR BRAKE MASTER CYLINDER)
47210UPIN, STRAIGHT(FOR BRAKE MASTER CYLINDER)
47220DRESERVOIR ASSY, BRAKE MASTER CYLINDER
47230CAP ASSY, BRAKE MASTER CYLINDER RESERVOIR FILLER
47255GROMMET, MASTER CYLINDER RESERVOIR
47299STRAINER, BRAKE MASTER CYLINDER RESERVOIR
9017908204
main90179-08204
9 parts on this diagram · 1 diagram in section