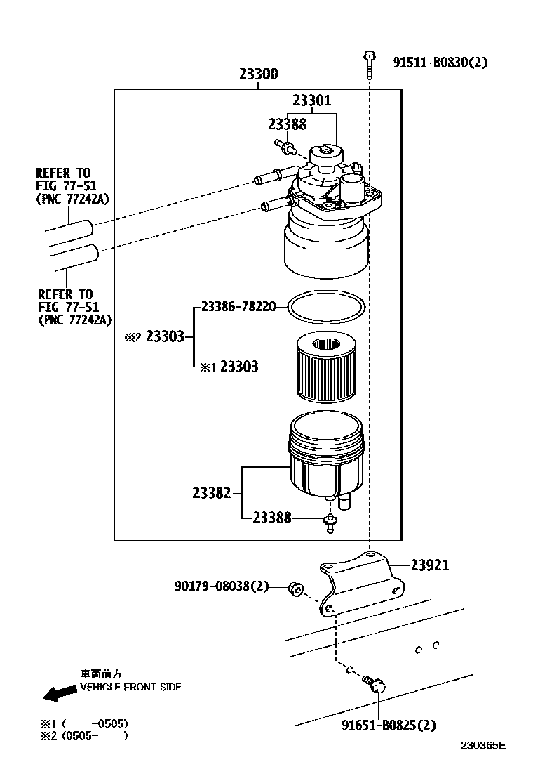
FUEL FILTER

23300FILTER ASSY, FUEL
23301BODY SUB-ASSY, FUEL FILTER
23303ELEMENT SUB-ASSY, FUEL FILTER
23382CASE, FUEL FILTER
23388PLUG, FUEL FILTER DRAIN
23921SUPPORT, FUEL FILTER
7751FUEL TANK & TUBE
2338678220GASKET, FUEL FILTER CASE
main23386-78220
9017908038
main90179-08038
91511B0830
main91511-B0830
91651B0825
main91651-B0825
11 parts on this diagram · 2 diagrams in section