E
EPC Data

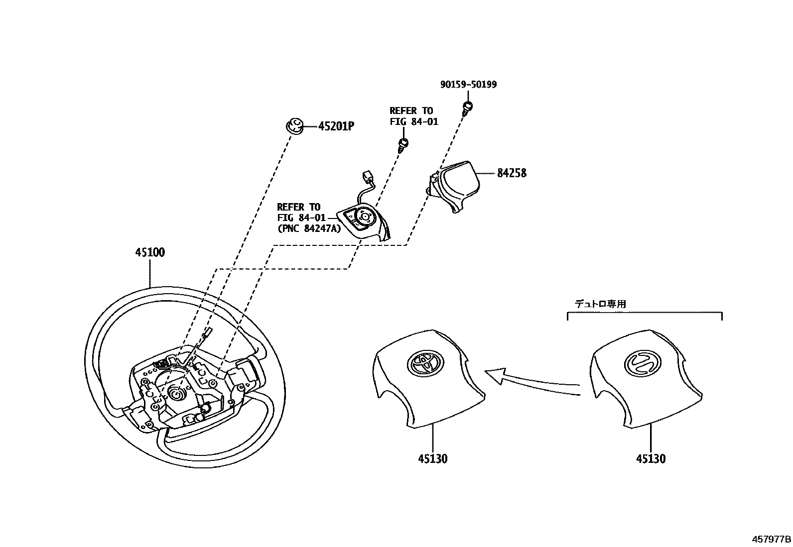
STEERING WHEEL

Parts diagram
45100WHEEL ASSY, STEERING
main45100-37120-C0i202103
45130BUTTON ASSY, HORN
main45130-37210-C0supersedes 45130-37230-C0i202103
main45130-37220-C0i202103
main45130-37240-C0i202103
45201PNUT, STEERING WHEEL SET
main90179-12071i202103
8401SWITCH & RELAY & COMPUTER
84258COVER, STEERING PAD, RH
main84258-37010i202103
9015950199

6 parts on this diagram · 1 diagram in section

STEERING WHEEL — Toyota Parts Diagram with OEM Numbers & Prices | EPC Data