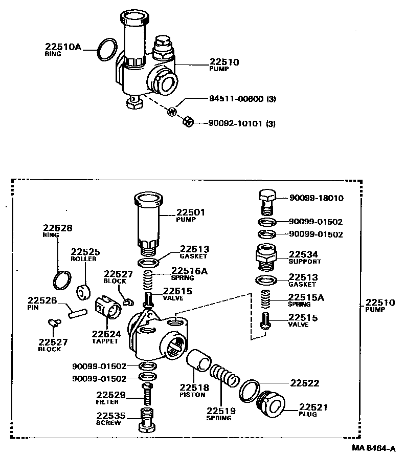
FUEL FEED PUMP

22501PUMP SUB-ASSY, PRIMING
22510PUMP ASSY, FUEL FEED
22510ARING, O(FOR FUEL FEED PUMP)
22513GASKET, CHECK VALVE CHAMBER PLUG
22515VALVE, FEED PUMP CHECK
22515ASPRING, FEED PUMP CHECK VALVE
22518PISTON, FEED PUMP
22519SPRING, FEED PUMP PISTON
22521PLUG, FEED PUMP PISTON CHAMBER
22522GASKET, FEED PUMP PISTON PLUG
22524TAPPET, FEED PUMP
22525ROLLER, FEED PUMP TAPPET
22526PIN, FEED PUMP TAPPET ROLLER
22527BLOCK, FEED PUMP TAPPET SLIDING
22528RING, FEED PUMP TAPPET SNAP
22529FILTER, FUEL PUMP
22534SUPPORT, VALVE
22535SCREW, FUEL PIPE FOLLOW
9009210101
main90092-10101
9009901502
main90099-01502
9009918010
main90099-18010
9451100600
main94511-00600
22 parts on this diagram · 1 diagram in section