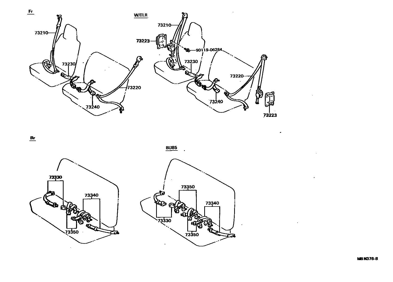
SEAT BELT

73210BELT ASSY, FRONT SEAT OUTER, RH
BLUE,TRIM8#
BROWN,TRIM4#
BLUE,TRIM8#
BROWN,TRIM4#
73220BELT ASSY, FRONT SEAT OUTER, LH
BLUE,TRIM8#
BROWN,TRIM4#
BLUE,TRIM8#
BROWN,TRIM4#
73223COVER, SEAT BELT RETRACTOR
73230BELT ASSY, FRONT SEAT INNER, RH
BLUE,TRIM8#
BROWN,TRIM4#
73240BELT ASSY, FRONT SEAT INNER, LH
BLUE,TRIM8#
BROWN,TRIM4#
BLUE,TRIM8#
BROWN,TRIM4#
73330BELT ASSY, REAR SEAT LAP TYPE, RH
BROWN,TRIM4#
BLUE,TRIM8#
BROWN,TRIM4#
73340BELT ASSY, REAR SEAT LAP TYPE, LH
BLUE,BLUE,TRIM8#
BROWN,BROWN,TRIM4#
BROWN,TRIM4#
73350BELT ASSY, REAR SEAT LAP TYPE, CENTER
BLUE,TRIM8#
BROWN,TRIM4#
9011906284
main90119-06284
9 parts on this diagram · 2 diagrams in section