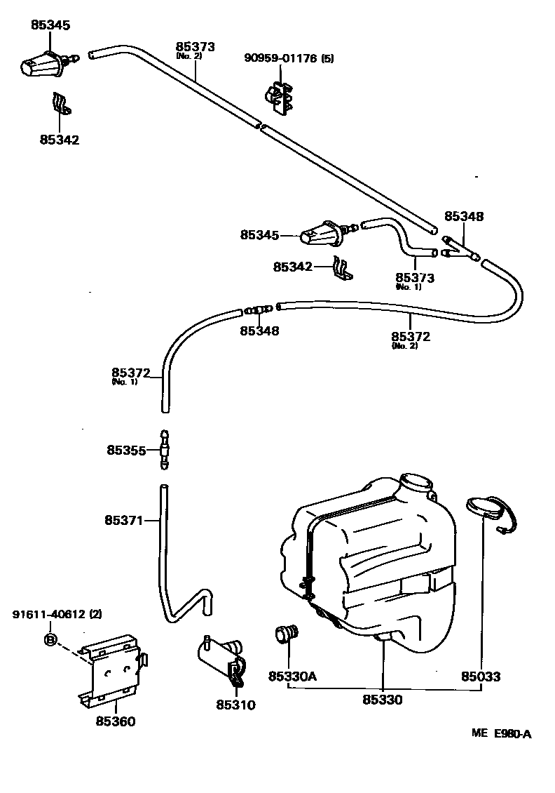
WINDSHIELD WASHER

85033CAP ASSY, WINDSHIELD WASHER
85310MOTOR AND PUMP ASSY, WINDSHIELD WASHER
85330JAR ASSY, WINDSHIELD WASHER
85330ABUSH, WINDSHIELD WASHER JAR
85342HOLDER, WASHER NOZZLE
85345NOZZLE, WINDSHIELD WASHER
85348JOINT, WINDSHIELD WASHER HOSE, NO.1
3-WAY
2-WAY
85355VALVE, WINDSHIELD WASHER HOSE
85360BRACKET ASSY, WINDSHIELD WASHER
85371HOSE, WINDSHIELD WASHER (FROM MOTOR TO JOINT)
85372HOSE, WINDSHIELD WASHER (FROM JOINT TO JOINT), NO.1
85373HOSE, WINDSHIELD WASHER (FROM JOINT TO NOZZLE)
9095901176
main90959-01176
9161140612
main91611-40612
14 parts on this diagram · 2 diagrams in section