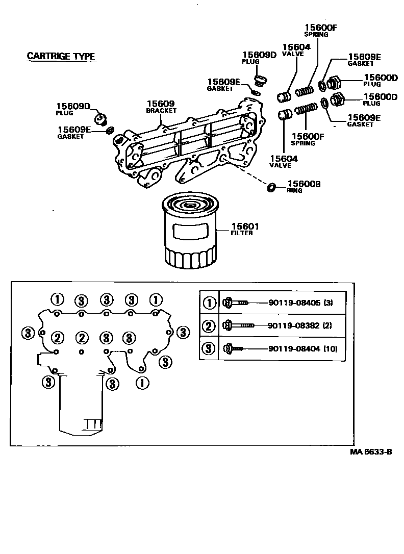
OIL FILTER

15600BRING, O, NO.1(FOR OIL FILTER)
15600DPLUG(FOR OIL FILTER)
15600FSPRING, COMPRESSION(FOR OIL FILTER)
15601FILTER SUB-ASSY, OIL
15604VALVE SUB-ASSY, OIL SAFETY
15609BRACKET SUB-ASSY, OIL FILTER
15609DPLUG, W/HEAD STRAIGHT SCREW(FOR OIL FILTER BRACKET)
15609EGASKET, W/HEAD STRAIGHT SCREW PLUG
9011908382
main90119-08382
9011908404
main90119-08404
9011908405
main90119-08405
11 parts on this diagram · 2 diagrams in section