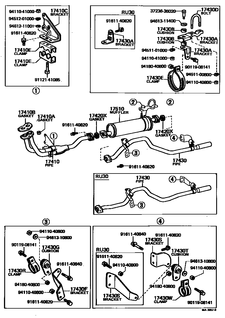
EXHAUST PIPE

17410PIPE ASSY, EXHAUST, FRONT
W/EXHAUST BRAKE
17410ANUT, EXHAUST PIPE SET STUD BOLT
17410BGASKET, EXHAUST PIPE
17410CBRACKET, EXHAUST PIPE FRONT (FOR FRONT)
NO.1
NO.2
17410ECLAMP NO.1, EXHAUST PIPE FRONT (FOR FRONT)
LWR
main90917-04036i5R..RU20..TSK; 5R..RU30;5R..RU20..ST;5R..RU20..M51..WT..CBU;5R..RU20..M51..WT..ATP197708-197904
UPR
17420PIPE ASSY, EXHAUST, CENTER
W/EXHAUST BRAKE
17420XGASKET, EXHAUST PIPE, CENTER
RR
FR
17430PIPE ASSY, EXHAUST, TAIL
W/EXHAUST BRAKE
W/EXHAUST BRAKE
17430ABRACKET, EXHAUST TAILPIPE(FOR FRONT)
FRAME SIDE
FRAME SIDE
FRAME SIDE
FRAME SIDE
FRAME SIDE
FRAME SIDE
FRAME SIDE
MUFFLER SIDE
17430BCUSHION, EXHAUST TAILPIPE(FOR FRONT)
17430DBOLT OR RING, EXHAUST TAILPIPE (FOR FRONT)
17430ECLAMP NO.2, EXHAUST TAILPIPE(FOR FRONT)
17430FBRACKET, EXHAUST TAILPIPE(FOR CENTER)
17430GCUSHION, EXHAUST TAILPIPE(FOR CENTER)
17430RCLAMP NO.2, EXHAUST TAILPIPE (FOR CENTER)
17430SBRACKET, EXHAUST TAILPIPE (FOR REAR)
17430TCUSHION, EXHAUST TAILPIPE (FOR REAR)
17430WCLAMP NO.2, EXHAUST TAILPIPE (FOR REAR)
17510MUFFLER ASSY
W/EXHAUST BRAKE
3723636020BOLT, CENTER SUPPORT BEARING HOUSING
main37236-36020
9011908141
main90119-08141
9112141085
main91121-41085
9161140820
main91611-40820
9161140840
main91611-40840
9411040800
main94110-40800
9411041000
main94110-41000
9418040800
main94180-40800
9451100800
main94511-00800
9451101000
main94511-01000
9451201000
main94512-01000
9461211001
main94612-11001
9461310800
main94613-10800
9461311400
main94613-11400
33 parts on this diagram · 11 diagrams in section